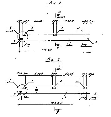
ОТГРУЗИЛИ ИЗДЕЛИЙ с 2008 года: тонн по чертежам тонн по сериям и ТУ тонн из артбетона Балка БСП 6.1-10АIII Серия 1.462.1-10/93 в Махачкале
Популярные товары в каталоге
![]() У нас можно заказать изготовление по чертежам любых ЖБИ Сэкономьте время на поиск - сразу звоните нам!
Доставка по Махачкале и любым городам России. Цена от 10000 рублей за 1 м3 ( от 5 руб за кг). Производство ЖБИ
Консультация эксперта
Сергеев Александр Вячеславович - Эксперт с 25-летним стажем в сфере производства ЖБИ и изделий из бетона.
Смотрите также:Балка БМ 5 Серия ПП ВКН-32
Балка БЛ 6.69-сн Серия 1.020.1-2с/89 Балка БЛ 6.69-с Серия 1.020.1-2с/89 Балка БСП 6.1-10АIIIв Серия 1.462.1-10/93 Балка БСП 6.1-10АIV Серия 1.462.1-10/93 Балка БСП 6.1-10АV Серия 1.462.1-10/93 Балка БСП 6.1-10АIII Серия 1.462.1-10/93 в Махачкале в наличии и под заказ по цене от 10 т.р. за м3. У нас можно купить ЖБИ «Балка БСП 6.1-10АIII Серия 1.462.1-10/93 в Махачкале» с доставкой в любой город, а также любые ЖБИ изделия.
Нам доверяют:
|

+7 921 375-40-71



