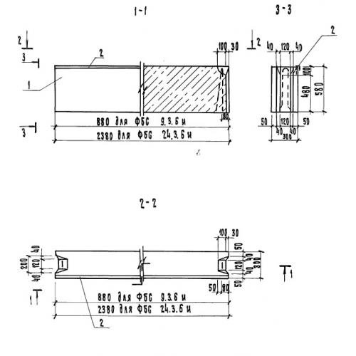
ОТГРУЗИЛИ ИЗДЕЛИЙ с 2008 года: тонн по чертежам тонн по сериям и ТУ тонн из артбетона Блок ФБС 20.4.6-т Серия 1.012.1-1.92 в Махачкале
Популярные товары в каталоге
![]() У нас можно заказать изготовление по чертежам любых ЖБИ Сэкономьте время на поиск - сразу звоните нам!
Доставка по Махачкале и любым городам России. Цена от 10000 рублей за 1 м3 ( от 5 руб за кг). Производство ЖБИ
Консультация эксперта
Сергеев Александр Вячеславович - Эксперт с 25-летним стажем в сфере производства ЖБИ и изделий из бетона.
Смотрите также:Блок ФБС 20.3.6-т Серия 1.012.1-1.92
Блок ФБС 10.6.6-т Серия 1.012.1-1.92 Блок ФБС 10.5.6-т Серия 1.012.1-1.92 Блок ФБС 20.5.6-т Серия 1.012.1-1.92 Блок ФБС 20.6.6-т Серия 1.012.1-1.92 Блок фундамента Ф 1л-40-252 Серия 3.501.3-185.03 Блок ФБС 20.4.6-т Серия 1.012.1-1.92 в Махачкале в наличии и под заказ по цене от 10 т.р. за м3. У нас можно купить ЖБИ «Блок ФБС 20.4.6-т Серия 1.012.1-1.92 в Махачкале» с доставкой в любой город, а также любые ЖБИ изделия.
Нам доверяют:
|

+7 921 375-40-71


