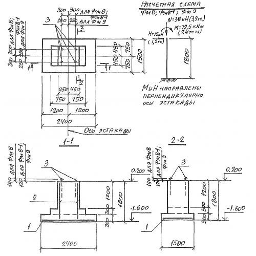
ОТГРУЗИЛИ ИЗДЕЛИЙ с 2008 года: тонн по чертежам тонн по сериям и ТУ тонн из артбетона Фундаментная плита 1Ф1-1-11 Серия 0-221-84 в Махачкале
Популярные товары в каталоге
![]() У нас можно заказать изготовление по чертежам любых ЖБИ Сэкономьте время на поиск - сразу звоните нам!
Доставка по Махачкале и любым городам России. Цена от 10000 рублей за 1 м3 ( от 5 руб за кг). Производство ЖБИ
Консультация эксперта
Сергеев Александр Вячеславович - Эксперт с 25-летним стажем в сфере производства ЖБИ и изделий из бетона.
Смотрите также:Фундаментная балка БФ 3 Серия 0-221-84
Фундаментная балка БФ 2 Серия 0-221-84 Фундаментная балка БФ 1 Серия 0-221-84 Фундаментная плита 1Ф1-1-12 Серия 0-221-84 Фундаментная плита 1Ф1-1-13 Серия 0-221-84 Фундаментная плита 1Ф1-1-14 Серия 0-221-84 Фундаментная плита 1Ф1-1-11 Серия 0-221-84 в Махачкале в наличии и под заказ по цене от 10 т.р. за м3. У нас можно купить ЖБИ «Фундаментная плита 1Ф1-1-11 Серия 0-221-84 в Махачкале» с доставкой в любой город, а также любые ЖБИ изделия.
Нам доверяют:
|

+7 921 375-40-71






