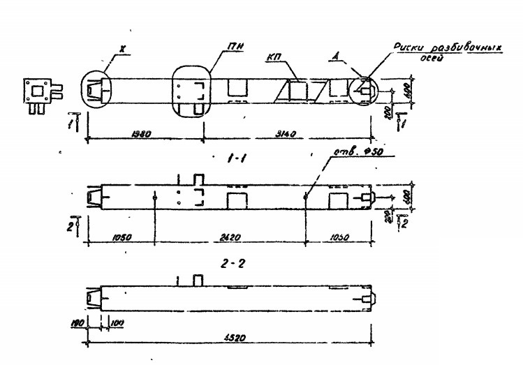
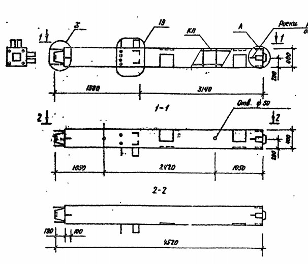
ОТГРУЗИЛИ ИЗДЕЛИЙ с 2008 года: тонн по чертежам тонн по сериям и ТУ тонн из артбетона Колонна 5КН 36.136-9-н Серия 1.020.1-2с/89
Популярные товары в каталоге
![]() У нас можно заказать изготовление по чертежам любых ЖБИ Сэкономьте время на поиск - сразу звоните нам!
Доставка по Махачкале и любым городам России. Цена от 10000 рублей за 1 м3 ( от 5 руб за кг). Колонны нашего производства
Консультация эксперта
Сергеев Александр Вячеславович - Эксперт с 25-летним стажем в сфере производства ЖБИ и изделий из бетона.
Смотрите также:Колонна 5КН 36.136-9 Серия 1.020.1-2с/89
Колонна 5КН 36.136-7-сн Серия 1.020.1-2с/89 Колонна 5КН 36.136-7-с Серия 1.020.1-2с/89 Колонна 5КН 36.136-9-с Серия 1.020.1-2с/89 Колонна 5КН 36.136-9-сн Серия 1.020.1-2с/89 Колонна 5КН 36.45-1.1-СП Серия 1.020.1-6сп Колонна 5КН 36.136-9-н Серия 1.020.1-2с/89 в наличии и под заказ по цене от 10 т.р. за м3. У нас можно купить ЖБИ «Колонна 5КН 36.136-9-н Серия 1.020.1-2с/89» с доставкой в любой город, а также любые ЖБИ изделия.
Нам доверяют:
|

+7 921 375-40-71





