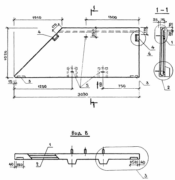
ОТГРУЗИЛИ ИЗДЕЛИЙ с 2008 года: тонн по чертежам тонн по сериям и ТУ тонн из артбетона Панель карнизная ПК-5 Серия СТ 02-12/61
Популярные товары в каталоге
![]() У нас можно заказать изготовление по чертежам любых ЖБИ Сэкономьте время на поиск - сразу звоните нам!
Доставка по Махачкале и любым городам России. Цена от 10000 рублей за 1 м3 ( от 5 руб за кг). Производство ЖБИ
Консультация эксперта
Сергеев Александр Вячеславович - Эксперт с 25-летним стажем в сфере производства ЖБИ и изделий из бетона.
Смотрите также:Панель карнизная ПК-4 Серия СТ 02-12/61
Панель карнизная ПК-3 Серия СТ 02-12/61 Панель карнизная ПК-3 Серия 1.432-5 Панель карнизная ПК-6 Серия СТ 02-12/61 Панель МА13 Серия ИИ 01-02 Панель МА14 Серия ИИ 01-02 Панель карнизная ПК-5 Серия СТ 02-12/61 в наличии и под заказ по цене от 10 т.р. за м3. У нас можно купить ЖБИ «Панель карнизная ПК-5 Серия СТ 02-12/61» с доставкой в любой город, а также любые ЖБИ изделия.
Нам доверяют:
|

+7 921 375-40-71








