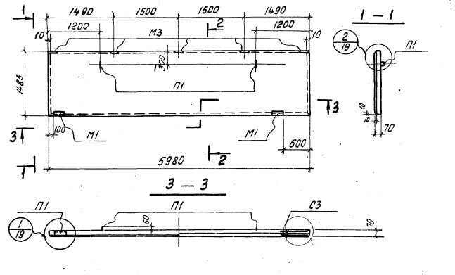
ОТГРУЗИЛИ ИЗДЕЛИЙ с 2008 года: тонн по чертежам тонн по сериям и ТУ тонн из артбетона Панель ПС 600-15-30-П-5 Серия 1.432-14/80
Популярные товары в каталоге
![]() У нас можно заказать изготовление по чертежам любых ЖБИ Сэкономьте время на поиск - сразу звоните нам!
Доставка по Махачкале и любым городам России. Цена от 10000 рублей за 1 м3 ( от 5 руб за кг). Производство ЖБИ
Консультация эксперта
Сергеев Александр Вячеславович - Эксперт с 25-летним стажем в сфере производства ЖБИ и изделий из бетона.
Смотрите также:Панель ПС 600-15-30-П-4 Серия 1.432-14/80
Панель ПС 600-15-25-Я-6 Серия 1.432-14/80 Панель ПС 600-15-25-Я-5 Серия 1.432-14/80 Панель ПС 600-15-30-П-6 Серия 1.432-14/80 Панель ПС 600-15-30-Я-4 Серия 1.432-14/80 Панель ПС 600-15-30-Я-5 Серия 1.432-14/80 Панель ПС 600-15-30-П-5 Серия 1.432-14/80 в наличии и под заказ по цене от 10 т.р. за м3. У нас можно купить ЖБИ «Панель ПС 600-15-30-П-5 Серия 1.432-14/80» с доставкой в любой город, а также любые ЖБИ изделия.
Нам доверяют:
|

+7 921 375-40-71





