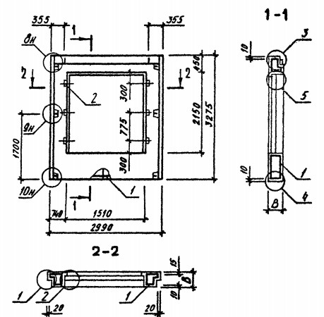
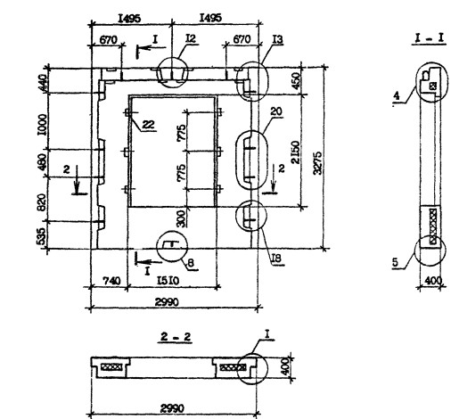
ОТГРУЗИЛИ ИЗДЕЛИЙ с 2008 года: тонн по чертежам тонн по сериям и ТУ тонн из артбетона Панель ПСЖ 1-1,8-6 Серия СТ 02-31 в Махачкале
Популярные товары в каталоге
![]() У нас можно заказать изготовление по чертежам любых ЖБИ Сэкономьте время на поиск - сразу звоните нам!
Доставка по Махачкале и любым городам России. Цена от 10000 рублей за 1 м3 ( от 5 руб за кг). Производство ЖБИ
Консультация эксперта
Сергеев Александр Вячеславович - Эксперт с 25-летним стажем в сфере производства ЖБИ и изделий из бетона.
Смотрите также:Панель ПСЖ 1-1,2-6 Серия СТ 02-33
Панель ПСЖ 1-1,2-6 Серия СТ 02-31 Панель ПСЖ 1,8-3-121 Серия 1.432-5 Панель ПСЖ 1-1,8-6 Серия СТ 02-33 Панель ПСЖ 1-3-6 Серия СТ 02-33 Панель ПСЖ 1а-1,2-6 Серия СТ 02-31 Панель ПСЖ 1-1,8-6 Серия СТ 02-31 в Махачкале в наличии и под заказ по цене от 10 т.р. за м3. У нас можно купить ЖБИ «Панель ПСЖ 1-1,8-6 Серия СТ 02-31 в Махачкале» с доставкой в любой город, а также любые ЖБИ изделия.
Нам доверяют:
|

+7 921 375-40-71










