ОТГРУЗИЛИ ИЗДЕЛИЙ с 2008 года: тонн по чертежам тонн по сериям и ТУ тонн из артбетона Панель СП 30-30-16-6 Серия КУБ 2.5
Популярные товары в каталоге
![]() У нас можно заказать изготовление по чертежам любых ЖБИ Сэкономьте время на поиск - сразу звоните нам!
Доставка по Махачкале и любым городам России. Цена от 10000 рублей за 1 м3 ( от 5 руб за кг). Производство ЖБИ
Консультация эксперта
Сергеев Александр Вячеславович - Эксперт с 25-летним стажем в сфере производства ЖБИ и изделий из бетона.
Смотрите также:Панель ребристая РБ7 Серия ИИ 01-02
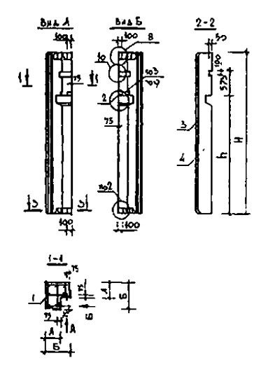
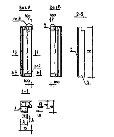
Панель ребристая РБ6 Серия ИИ 01-02 Панель ребристая РБ5 Серия ИИ 01-02 Панель СП 30-30-16-8 Серия КУБ 2.5 Панель стеновая ПС 12.12.1-2.70 Серия 1.432.1-34.94 Панель стеновая ПС 12.12.1-2.70м Серия 1.432.1-34.94 Панель СП 30-30-16-6 Серия КУБ 2.5 в наличии и под заказ по цене от 10 т.р. за м3. У нас можно купить ЖБИ «Панель СП 30-30-16-6 Серия КУБ 2.5» с доставкой в любой город, а также любые ЖБИ изделия.
Нам доверяют:
|

+7 921 375-40-71









