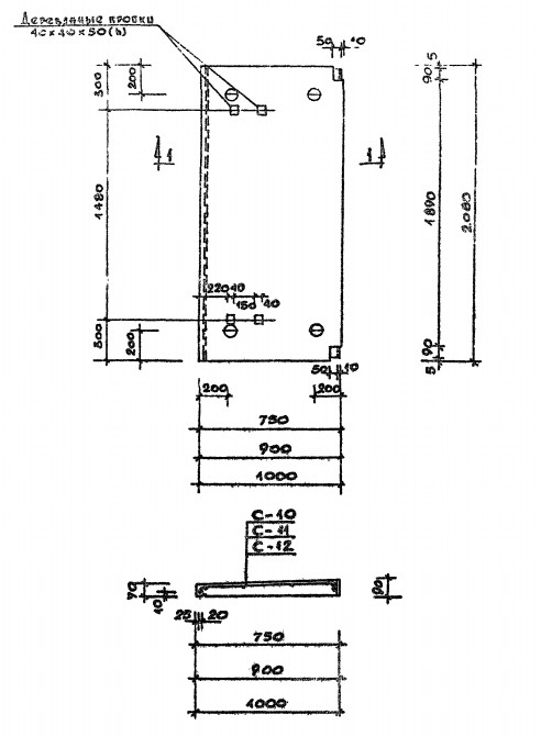
ОТГРУЗИЛИ ИЗДЕЛИЙ с 2008 года: тонн по чертежам тонн по сериям и ТУ тонн из артбетона Плита карнизная АКУ-25.10л Серия 1.138-3 в Махачкале
Популярные товары в каталоге
![]() У нас можно заказать изготовление по чертежам любых ЖБИ Сэкономьте время на поиск - сразу звоните нам!
Доставка по Махачкале и любым городам России. Цена от 10000 рублей за 1 м3 ( от 5 руб за кг). Производство ЖБИ
Консультация эксперта
Сергеев Александр Вячеславович - Эксперт с 25-летним стажем в сфере производства ЖБИ и изделий из бетона.
Смотрите также:Плита карнизная АКУ-24.9п Серия 1.138-3
Плита карнизная АКУ-24.9л Серия 1.138-3 Плита карнизная АКУ-23.8п Серия 1.138-3 Плита карнизная АКУ-25.10п Серия 1.138-3 Плита карнизная КП 10.15.8-т Серия 1.137.1 КЛ-3 Плита карнизная КП 10.30.8-т Серия 1.137.1 КЛ-3 Плита карнизная АКУ-25.10л Серия 1.138-3 в Махачкале в наличии и под заказ по цене от 10 т.р. за м3. У нас можно купить ЖБИ «Плита карнизная АКУ-25.10л Серия 1.138-3 в Махачкале» с доставкой в любой город, а также любые ЖБИ изделия.
Нам доверяют:
|

+7 921 375-40-71








