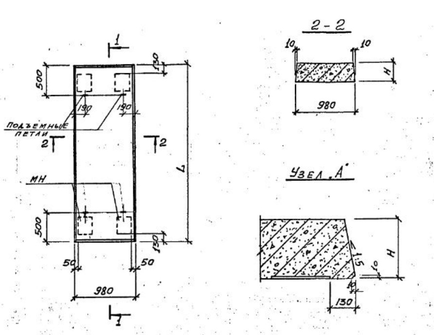
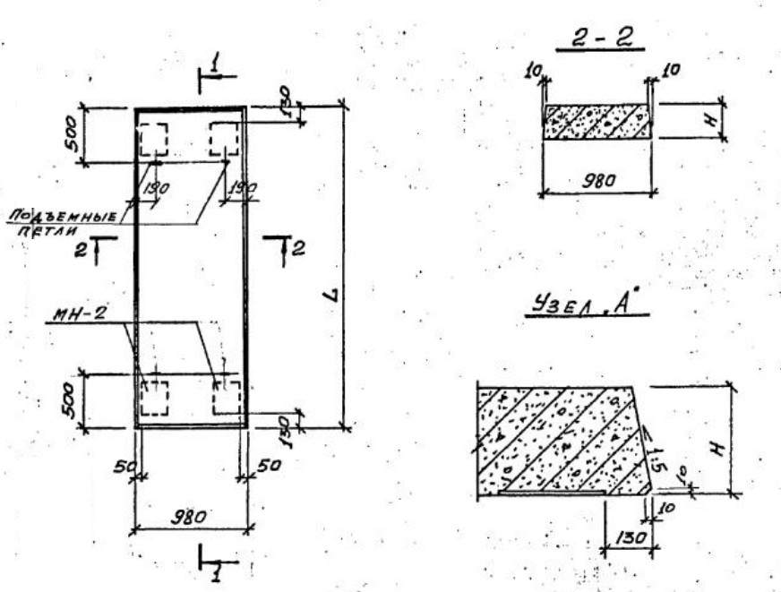
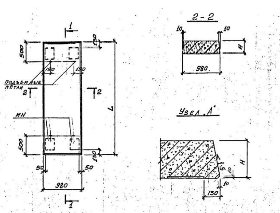
ОТГРУЗИЛИ ИЗДЕЛИЙ с 2008 года: тонн по чертежам тонн по сериям и ТУ тонн из артбетона Плита ПТН 42-20-5 Серия 0.55.18.236 в Махачкале
Популярные товары в каталоге
![]() У нас можно заказать изготовление по чертежам любых ЖБИ Сэкономьте время на поиск - сразу звоните нам!
Доставка по Махачкале и любым городам России. Цена от 10000 рублей за 1 м3 ( от 5 руб за кг). Производство ЖБИ
Консультация эксперта
Сергеев Александр Вячеславович - Эксперт с 25-летним стажем в сфере производства ЖБИ и изделий из бетона.
Смотрите также:Плита ПТН 42-20-20 Серия 0.55.18.236
Плита ПТН 42-20-15 Серия 0.55.18.236 Плита ПТН 42-20-10 Серия 0.55.18.236 Плита ребристая 2ПВ 6-1 АIIIвл-10 Серия 1.465.1-7/84 Плита ребристая 2ПВ 6-1 АIIIвл-10Н Серия 1.465.1-7/84 Плита ребристая 2ПВ 6-1 АIIIвл-10П Серия 1.465.1-7/84 Плита ПТН 42-20-5 Серия 0.55.18.236 в Махачкале в наличии и под заказ по цене от 10 т.р. за м3. У нас можно купить ЖБИ «Плита ПТН 42-20-5 Серия 0.55.18.236 в Махачкале» с доставкой в любой город, а также любые ЖБИ изделия.
Нам доверяют:
|

+7 921 375-40-71












