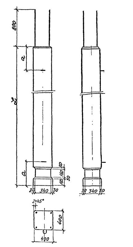
ОТГРУЗИЛИ ИЗДЕЛИЙ с 2008 года: тонн по чертежам тонн по сериям и ТУ тонн из артбетона Стойка Ст 4.25-3 Серия 3.501.1-150
Популярные товары в каталоге
![]() У нас можно заказать изготовление по чертежам любых ЖБИ Сэкономьте время на поиск - сразу звоните нам!
Доставка по Махачкале и любым городам России. Цена от 10000 рублей за 1 м3 ( от 5 руб за кг). Производство ЖБИ
Консультация эксперта
Сергеев Александр Вячеславович - Эксперт с 25-летним стажем в сфере производства ЖБИ и изделий из бетона.
Смотрите также:Стойка Ст 4.25-2 Серия 3.501.1-150
Стойка Ст 4.25-1 Серия 3.501.1-150 Стойка К4,6-2 Серия 3.407.1-144 Стойка Ст 4.25-4 Серия 3.501.1-150 Стойка Ст 4.25-5 Серия 3.501.1-150 Стойка Ст 4.30-1 Серия 3.501.1-150 Стойка Ст 4.25-3 Серия 3.501.1-150 в наличии и под заказ по цене от 10 т.р. за м3. У нас можно купить ЖБИ «Стойка Ст 4.25-3 Серия 3.501.1-150» с доставкой в любой город, а также любые ЖБИ изделия.
Нам доверяют:
|

+7 921 375-40-71



