ОТГРУЗИЛИ ИЗДЕЛИЙ
с 2008 года: тонн
по чертежам тонн
по сериям и ТУ тонн
из артбетона Колонна резервуара КР в МахачкалеМы производители! Ассортимент - более 50 тысяч номенклатурных позиций для любых cтроительных задач. У нас можно купить железобетонные колонны резервуара с доставкой в Махачкале, Дагестану и всей России Описание«Пром-ЖБИ» предлагает купить колонну резервуаров железобетонную для водоснабжения и канализации. Изготовлено в строгом соответствии с требованиями Серии 3.900.1-10.0-3.
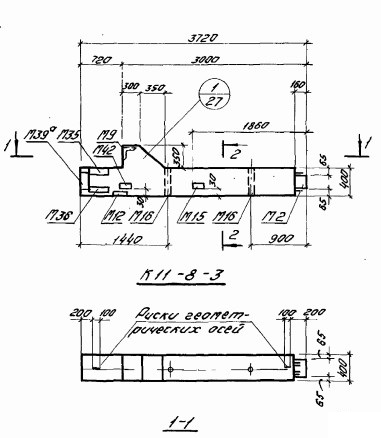
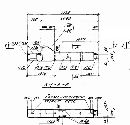
Принятые условные обозначения: Серия 3.900.1-10.0-3.
H - высота
Колонны резервуаров Серия 3.900.1-10.0-3 Заказать колонну резервуара КР у нас вы можете, написав на почту:
Этот e-mail адрес защищен от спам-ботов, для его просмотра у Вас должен быть включен Javascript
, наши менеджеры свяжутся с вами. Колонна резервуара КР является ЖБИ стержнем квадратного сечения, который предназначен для опоры ригелей, стенок и покрытий ёмкостных резервуаров. Отличительными особенностями колонн могут быть полки для опирания покрытий или совмещенные фундаменты. Установка колонны осуществляется на распределительную плиту ПДР или на утолщенную часть днища. Для колонн спроектированы фундаменты ФР, они отдельно проектируются. Колонны допускается производить только из прочного бетона класса В25, который упрочнен каркасом из стали марки А-III. Бетон тяжелых марок подготовлен к работе в тяжелых водных условиях. Колонны резервуаров прекрасно воспринимают вертикальные нагрузки. Маркируются колонны в соответствии с типоразмером. В нем заключены тип изделия, высоте резервуара и индексе исполнения. Возможно производство по чертежам заказчика. Осуществляем производство и поставку во все регионы РФ колонн резервуаров, плит и других железобетонных изделий. Цена по запросу. Наличие по запросу. Колонны резервуаров Серия 3.900.1-10.0-3
Популярные товары в каталоге
![]() У нас можно заказать изготовление по чертежам любых ЖБИ Сэкономьте время на поиск - сразу звоните нам!
Доставка по Махачкале и любым городам России. Цена от 10000 рублей за 1 м3 ( от 5 руб за кг). Колонны нашего производства
Консультация эксперта
Сергеев Александр Вячеславович - Эксперт с 25-летним стажем в сфере производства ЖБИ и изделий из бетона.
Смотрите также:
Кольца для колодцев
Консольная панель резервуара ПС
Люки колодцев чугунные
Лотки теплотрасс
жби
Неподвижные щитовые опоры
Опорные подушки
жб
Опоры под технологические трубопроводы
Каналы непроходные
от завода
Каналы для наружных тепловых сетей непроходные
Г-образные конструкции
Фундамент резервуара
из бетона
Элементы теплотрасс
Балочная панель резервуара ПС
(бетон)
Серия 3.900-3. Сборные железобетонные конструкции емкостных сооружений для водоснабжения и канализации
Нам доверяют:
|

+7 921 375-40-71










