8 (800) 444-79-35

Махачкала и Дагестан

+7 921 375-40-71

Для заявок через мессенджеры
Оставить заявку
ОТГРУЗИЛИ ИЗДЕЛИЙ
с 2008 года:
тонн
по чертежам
тонн
по сериям и ТУ
тонн
из артбетона
Получить прайс лист

Двухветвевые колонны в Махачкале

Мы производители! Ассортимент - более 50 тысяч номенклатурных позиций для любых cтроительных задач. У нас можно купить железобетонные двухветвевые колонны с доставкой в Махачкале, Дагестану и всей России

Двухветвевые колонны (также известные как колонны с проходом) являются типовыми конструкциями из тяжелого армированного бетона. Изделия предназначены преимущественно для промышленных одноэтажных зданий, оборудованных специальными электрическими опорными кранами с любыми нагрузками при работе. Помимо этого, двухветвевые колонны часто используются в зданиях и без кранов.

Компания «Промышленные Железобетонные Изделия» более 10 лет осуществляет производство и реализацию ЖБИ самого широкого спектра. В распоряжении компании имеется сеть производственных площадок в крупных регионах страны. Отлаженная логистика позволяет доставить продукцию до места назначения любым удобным способом: автомобильным, железнодорожным и даже по воде! Являясь компанией-производителем ЖБИ, своим клиентам мы предлагаем качественную продукцию по самым выгодным ценам!

Помимо изготовления изделий по типовой документации, мы также выполняем работы по индивидуальным чертежам заказчика

Двухветвевые колонны

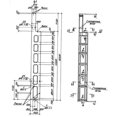
Конструкция железобетонных двухветвевых колонн имеет свою специфику - в нижней части изделие расходится на две ветви, между которыми закреплены специальные распорки. Конструкция имеет прямоугольное сечение. Надежную устойчивости при опирании на фундамент обеспечивает в нижней плоскости изделия предусмотрен стальной башмак с прорезями для анкерных болтов и других креплений. Двухветвевые колонны используются в неагрессивной и слабоагрессивной среде. Изделие рассчитано под сейсмическую активность до 6 баллов включительно.

Использование двухветвевых колонн в отапливаемых зданиях не имеет температурных ограничений, однако при эксплуатации неотапливаемых сооружениях температура внешней среды не должна опускаться ниже 40 градусов.

Двухветвевые железобетонные колонны изготавливаются из тяжелого бетона классом прочности до B40. Данный вид бетона позволяет колоннам выдерживать как большое вертикальное давление общей конструкции, так и вибрации, вызванные работой мостовых кранов.

Двухветвевые колонны обладают водонепроницаемостью марки W4-W5. Для усиления колонн используется высокопрочная сталь класса А-III морозостойкостью не ниже F50. Все элементы армирования проходят антикоррозийную обработку.

двухветвевые колонны чертеж

Заказать двухветвевые колонны и многие другие железобетонные изделия Вы можете, отправив письмо на почту Этот e-mail адрес защищен от спам-ботов, для его просмотра у Вас должен быть включен Javascript , позвонив по телефону +7 (800) 444-79-35 или заполнив форму на сайте.

Колонны двухветвевые по серии КЭ-01-52

Наименование изделия
Маркировка
Габариты (l*b*h)
Объем, м3
Масса, т
КДII КДII-1 1000*400*11850 2,27 5,7
КДII-2 1000*400*11850 2,27 5,68
КДII-3 2100*500*11150 4,47 11,2
КДII-4 2100*500*11150 4,47 11,2
КДII-5 2100*500*11150 4,47 11,2
КДII-6 1000*500*13950 3,38 8,5
КДII-7 1000*500*13950 3,38 8,5
КДII-8 1000*500*13950 3,38 8,5
КДII-9 1000*500*13950 3,38 8,5
КДII-10 2100*500*13250 5,26 13,2
КДII-11 2100*500*13250 5,26 13,2
КДII-12 2100*500*13250 5,26 13,2
КДII-13 2100*500*13250 5,26 13,2
КДII-14 2100*500*13250 5,26 13,2
КДII-15 1000*500*15750 3,86 9,7
КДII-16 1000*500*15750 3,86 9,7
КДII-17 1000*500*15750 3,86 9,7
КДII-18 1000*500*15750 3,86 9,7
КДII-19 2100*600*15050 7,15 17,9
КДII-20 2100*600*15050 7,15 17,9
КДII-21 2100*600*15050 7,15 17,9
КДII-22 2100*600*15050 7,15 17,9
КДII-23 1300*500*17550 5,92 14,8
КДII-24 1300*500*17550 5,92 14,8
КДII-25 1300*500*17550 5,92 14,8
КДII-26 1300*500*17550 5,92 14,8
КДII-27 2200*600*16850 9,3 23,3
КДII-28 2200*600*16850 9,3 23,3
КДII-29 2200*600*16850 9,3 23,3
КДII-30 1300*500*19350 6,53 16,3
КДII-31 1300*500*19350 6,53 16,3
КДII-32 1300*500*19350 6,53 16,3
КДII-33 1300*500*19350 6,53 16,3
КДII-34 2200*600*18650 10,35 25,9
КДII-35 2200*600*18650 10,35 25,9
КДII-36 2200*600*18650 10,35 25,9
КДII-37 1300*500*11850 3,99 10,0
КДII-38 1300*500*11850 3,99 10,0
КДII-39 2100*500*11850 4,68 11,7
КДII-40 2100*500*11850 4,68 11,7
КДII-41 1300*500*13950 4,69 11,7
КДII-42 1300*500*13950 4,69 11,7
КДII-43 1300*500*13950 4,69 11,7
КДII-44 1300*500*13950 4,69 11,7
КДII-45 2100*500*13950 5,47 13,7
КДII-46 2100*500*13950 5,47 13,7
КДII-47 2100*500*13950 5,47 13,7
КДII-48 2100*500*13950 5,47 13,7
КДII-49 1400*500*15750 5,87 14,7
КДII-50 1400*500*15750 5,87 14,7
КДII-51 1400*500*15750 5,87 14,7
КДII-52 1400*500*15750 5,87 14,7
КДII-53 2100*600*15750 7,41 18,5
КДII-54 2100*600*15750 7,41 18,5
КДII-55 2100*600*15750 7,41 18,5
КДII-56 1400*600*17550 7,88 19,7
КДII-57 1400*600*17550 7,88 19,7
КДII-58 1400*600*17550 7,88 19,7
КДII-59 1400*600*17550 7,88 19,7
КДII-60 2200*600*17550 9,6 24,0
КДII-61 2200*600*17550 9,6 24,0
КДII-62 2200*600*17550 9,6 24,0
КДII-63 1400*600*19350 8,72 21,8
КДII-64 1400*600*19350 8,72 21,8
КДII-65 1400*600*19350 8,72 21,8
КДII-66 1400*600*19350 8,72 21,8
КДII-67 2200*600*19350 10,64 26,6
КДII-68 2200*600*19350 10,64 26,6
КДII-69 2200*600*19350 10,64 26,6
КДIII КДIII-1 1000*400*11850 2,27 5,7
КДIII-2 1000*400*11850 2,27 5,7
КДIII-3 2100*500*11150 4,47 11,2
КДIII-4 2100*500*11150 4,47 11,2
КДIII-5 2100*500*11150 4,47 11,2
КДIII-6 1000*500*13950 3,38 8,5
КДIII-7 1000*500*13950 3,38 8,5
КДIII-8 1000*500*13950 3,38 8,5
КДIII-9 1000*500*13950 3,38 8,5
КДIII-10 2100*500*13250 5,26 13,2
КДIII-11 2100*500*13250 5,26 13,2
КДIII-12 2100*500*13250 5,26 13,2
КДIII-13 2100*500*13250 5,26 13,2
КДIII-14 2100*500*13250 5,26 13,2
КДIII-15 1000*500*15750 3,86 9,7
КДIII-16 1000*500*15750 3,86 9,7
КДIII-17 1000*500*15750 3,86 9,7
КДIII-18 2100*600*15050 7,15 17,9
КДIII-19 2100*600*15050 7,15 17,9
КДIII-20 2100*600*15050 7,15 17,9
КДIII-21 2100*600*15050 7,15 17,9
КДIII-22 1300*500*17550 5,92 14,8
КДIII-23 1300*500*17550 5,92 14,8
КДIII-24 1300*500*17550 5,92 14,8
КДIII-25 1300*500*17550 5,92 14,8
КДIII-26 2200*600*16850 9,3 23,3
КДIII-27 2200*600*16850 9,3 23,3
КДIII-28 1300*500*19350 6,53 16,3
КДIII-29 1300*500*19350 6,53 16,3
КДIII-30 1300*500*19350 6,53 16,3
КДIII-31 1300*500*19350 6,53 16,3
КДIII-32 2200*600*18650 10,35 25,9
КДIII-33 2200*600*18650 10,35 25,9
КДIII-34 2200*600*18650 10,35 25,9
КДIII-35 1300*500*11850 3,99 10,0
КДIII-36 1300*500*11850 3,99 10,0
КДIII-37 2100*500*11850 4,68 11,7
КДIII-38 2100*500*11850 4,68 11,7
КДIII-39 2100*500*11850 4,68 11,7
КДIII-40 1300*500*13950 4,69 11,7
КДIII-41 1300*500*13950 4,69 11,7
КДIII-42 1300*500*13950 4,69 11,7
КДIII-43 1300*500*13950 4,69 11,7
КДIII-44 2100*500*13950 5,47 13,7
КДIII-45 2100*500*13950 5,47 13,7
КДIII-46 2100*500*13950 5,47 13,7
КДIII-47 2100*500*13950 5,47 13,7
КДIII-48 2100*500*13950 5,47 13,7
КДIII-49 1400*500*15750 5,87 14,7
КДIII-50 1400*500*15750 5,87 14,7
КДIII-51 1400*500*15750 5,87 14,7
КДIII-52 1400*500*15750 5,87 14,7
КДIII-53 2100*600*15750 7,41 18,5
КДIII-54 2100*600*15750 7,41 18,5
КДIII-55 2100*600*15750 7,41 18,5
КДIII-56 2100*600*15750 7,41 18,5
КДIII-57 1400*600*17550 7,88 19,7
КДIII-58 1400*600*17550 7,88 19,7
КДIII-59 1400*600*17550 7,88 19,7
КДIII-60 1400*600*17550 7,88 19,7
КДIII-61 2200*600*17550 9,6 24,0
КДIII-62 2200*600*17550 9,6 24,0
КДIII-63 1400*600*19350 8,72 21,8
КДIII-64 1400*600*19350 8,72 21,8
КДIII-65 1400*600*19350 8,72 21,8
КДIII-66 1400*600*19350 8,72 21,8
КДIII-67 2200*600*19350 10,64 26,6
КДIII-68 2200*600*19350 10,64 26,6
КДIII-69 2200*600*19350 10,64 26,6
КДV КДV-1 1000*400*12150 2,32 5,8
КДV-2 1000*400*12150 2,32 5,8
КДV-3 1000*400*12150 2,32 5,8
КДV-4 2100*500*11450 4,56 11,4
КДV-5 2100*500*11450 4,56 11,4
КДV-6 2100*500*11450 4,56 11,4
КДV-7 2100*500*11450 4,56 11,4
КДV-8 1300*500*12150 4,08 10,2
КДV-9 1300*500*12150 4,08 10,2
КДV-10 1300*500*12150 4,08 10,2
КДV-11 1300*500*12150 4,08 10,2
КДV-12 1300*500*12150 4,08 10,2
КДV-13 2100*500*12150 4,77 11,9
КДV-14 2100*500*12150 4,77 11,9
КДV-15 2100*500*12150 4,77 11,9
КДV-16 2100*500*12150 4,77 11,9
КДХ КДХ-1 1000*400*11850 2,27 5,7
КДХ-2 1000*400*11850 2,27 5,7
КДХ-3 1000*400*11850 2,27 5,7
КДХ-4 1000*400*11850 2,27 5,7
КДХ-5 2100*500*11150 4,47 11,2
КДХ-6 2100*500*11150 4,47 11,2
КДХ-7 2100*500*11150 4,47 11,2
КДХ-8 2100*500*11150 4,47 11,2
КДХ-9 2100*500*11150 4,47 11,2
КДХ-10 2100*500*11150 4,47 11,2
КДХ-11 2100*500*11150 4,47 11,2
КДХ-12 2100*500*11150 4,47 11,2
КДХ-13 2100*500*11150 4,47 11,2
КДХ-14 1000*500*13950 3,38 8,5
КДХ-15 1000*500*13950 3,38 8,5
КДХ-16 1000*500*13950 3,38 8,5
КДХ-17 1000*500*13950 3,38 8,5
КДХ-18 1000*500*13950 3,38 8,5
КДХ-19 1000*500*13950 3,38 8,5
КДХ-20 1000*500*13950 3,38 8,5
КДХ-21 1000*500*13950 3,38 8,5
КДХ-22 2100*500*13250 5,26 13,2
КДХ-23 2100*500*13250 5,26 13,2
КДХ-24 2100*500*13250 5,26 13,2
КДХ-25 2100*500*13250 5,26 13,2
КДХ-26 2100*500*13250 5,26 13,2
КДХ-27 2100*500*13250 5,26 13,2
КДХ-28 2100*500*13250 5,26 13,2
КДХ-29 2100*500*13250 5,26 13,2
КДХ-30 2100*500*13250 5,26 13,2
КДХ-31 2100*500*13250 5,26 13,2
КДХ-32 2100*500*13250 5,26 13,2
КДХ-33 1000*500*15750 3,86 9,7
КДХ-34 1000*500*15750 3,86 9,7
КДХ-35 1000*500*15750 3,86 9,7
КДХ-36 1000*500*15750 3,86 9,7
КДХ-37 1000*500*15750 3,86 9,7
КДХ-38 1000*500*15750 3,86 9,7
КДХ-39 1000*500*15750 3,86 9,7
КДХ-40 2100*600*15050 7,15 17,9
КДХ-41 2100*600*15050 7,15 17,9
КДХ-42 2100*600*15050 7,15 17,9
КДХ-43 2100*600*15050 7,15 17,9
КДХ-44 2100*600*15050 7,15 17,9
КДХ-45 2100*600*15050 7,15 17,9
КДХ-46 2100*600*15050 7,15 17,9
КДХ-47 2100*600*15050 7,15 17,9
КДХ-48 2100*600*15050 7,15 17,9
КДХ-49 1300*500*17550 5,92 14,8
КДХ-50 1300*500*17550 5,92 14,8
КДХ-51 1300*500*17550 5,92 14,8
КДХ-52 2200*600*16850 9,3 23,3
КДХ-53 2200*600*16850 9,3 23,3
КДХ-54 2200*600*16850 9,3 23,3
КДХ-55 2200*600*16850 9,3 23,3
КДХ-56 2200*600*16850 9,3 23,3
КДХ-57 2200*600*16850 9,3 23,3
КДХ-58 1300*600*19350 6,53 16,3
КДХ-59 1300*600*19350 6,53 16,3
КДХ-60 1300*600*19350 6,53 16,3
КДХ-61 1300*600*19350 6,53 16,3
КДХ-62 2200*600*18650 10,35 25,9
КДХ-63 2200*600*18650 10,35 25,9
КДХ-64 2200*600*18650 10,35 25,9
КДХ-65 2200*600*18650 10,35 25,9
КДХ-66 2200*600*18650 10,35 25,9
КДХ-67 2200*600*18650 10,35 25,9
КДХ-68 1300*500*11850 3,99 10,0
КДХ-69 1300*500*11850 3,99 10,0
КДХ-70 1300*500*11850 3,99 10,0
КДХ-71 1300*500*11850 3,99 10,0
КДХ-72 1300*500*11850 3,99 10,0
КДХ-73 1300*500*11850 3,99 10,0
КДХ-74 2100*500*11850 4,68 11,7
КДХ-75 2100*500*11850 4,68 11,7
КДХ-76 2100*500*11850 4,68 11,7
КДХ-77 2100*500*11850 4,68 11,7
КДХ-78 2100*500*11850 4,68 11,7
КДХ-79 2100*500*11850 4,68 11,7
КДХ-80 2100*500*11850 4,68 11,7
КДХ-81 1300*500*13950 4,69 11,7
КДХ-82 1300*500*13950 4,69 11,7
КДХ-83 1300*500*13950 4,69 11,7
КДХ-84 1300*500*13950 4,69 11,7
КДХ-85 1300*500*13950 4,69 11,7
КДХ-86 1300*500*13950 4,69 11,7
КДХ-87 1300*500*13950 4,69 11,7
КДХ-88 1300*500*13950 4,69 11,7
КДХ-89 2100*500*13950 5,47 13,7
КДХ-90 2100*500*13950 5,47 13,7
КДХ-91 2100*500*13950 5,47 13,7
КДХ-92 2100*500*13950 5,47 13,7
КДХ-93 2100*500*13950 5,47 13,7
КДХ-94 2100*500*13950 5,47 13,7
КДХ-95 2100*500*13950 5,47 13,7
КДХ-96 1400*500*15750 5,87 14,7
КДХ-97 1400*500*15750 5,87 14,7
КДХ-98 1400*500*15750 5,87 14,7
КДХ-99 1400*500*15750 5,87 14,7
КДХ-100 1400*500*15750 5,87 14,7
КДХ-101 1400*500*15750 5,87 14,7
КДХ-102 1400*500*15750 5,87 14,7
КДХ-103 1400*500*15750 5,87 14,7
КДХ-104 1400*500*15750 5,87 14,7
КДХ-105 2100*600*15750 7,41 18,5
КДХ-106 2100*600*15750 7,41 18,5
КДХ-107 2100*600*15750 7,41 18,5
КДХ-108 2100*600*15750 7,41 18,5
КДХ-109 2100*600*15750 7,41 18,5
КДХ-110 2100*600*15750 7,41 18,5
КДХ-111 1400*600*17550 7,88 19,7
КДХ-112 1400*600*17550 7,88 19,7
КДХ-113 1400*600*17550 7,88 19,7
КДХ-114 1400*600*17550 7,88 19,7
КДХ-115 1400*600*17550 7,88 19,7
КДХ-116 1400*600*17550 7,88 19,7
КДХ-117 2200*600*17550 9,6 24,0
КДХ-118 2200*600*17550 9,6 24,0
КДХ-119 2200*600*17550 9,6 24,0
КДХ-120 2200*600*17550 9,6 24,0
КДХ-121 2200*600*17550 9,6 24,0
КДХ-122 2200*600*17550 9,6 24,0
КДХ-123 1400*600*19350 8,72 21,8
КДХ-124 1400*600*19350 8,72 21,8
КДХ-125 1400*600*19350 8,72 21,8
КДХ-126 1400*600*19350 8,72 21,8
КДХ-127 1400*600*19350 8,72 21,8
КДХ-128 1400*600*19350 8,72 21,8
КДХ-129 1400*600*19350 8,72 21,8
КДХ-130 1400*600*19350 8,72 21,8
КДХ-131 1400*600*19350 8,72 21,8
КДХ-132 1400*600*19350 8,72 21,8
КДХ-133 2200*600*19350 10,64 26,6
КДХ-134 2200*600*19350 10,64 26,6
КДХ-135 2200*600*19350 10,64 26,6
КДХ-136 2200*600*19350 10,64 26,6
КДХ-137 2200*600*19350 10,64 26,6
КДХ-138 2200*600*19350 10,64 26,6

У нас можно заказать изготовление по чертежам любых ЖБИ Сэкономьте время на поиск - сразу звоните нам!

  • Махачкала 8 (800) 301-17-45


  • Оперативная связь через мессенджеры:

    +7 921 375-40-71

Доставка по Махачкале и любым городам России.

Цена от 10000 рублей за 1 м3 ( от 5 руб за кг).



Колонны нашего производства

Фото эксперта
Консультация эксперта
Сергеев Александр Вячеславович - Эксперт с 25-летним стажем в сфере производства ЖБИ и изделий из бетона.
Задать вопрос эксперту
Нам доверяют:

Заказать продукцию

+7(800)444-79-35

звонок по России бесплатный


+7 (812) 565-17-28

ООО "ЖБИ и Архитектура" © 2008-2026
Политика конфиденциальности и правила обработки персональных данных, Правила обработки cookies . Информация на сайте носит исключительно информационный характер и не является публичной офертой, определяемой положениями ст. 437 Гражданского кодекса РФКопирование материалов с данного сайта разрешено только с письменного разрешения администрации сайта.
Махачкала и Дагестан

info@prom-gbi.ru
mahachkala.prom-gbi.ru