8 (800) 444-79-35

Махачкала и Дагестан

+7 921 375-40-71

Для заявок через мессенджеры
Оставить заявку
ОТГРУЗИЛИ ИЗДЕЛИЙ
с 2008 года:
тонн
по чертежам
тонн
по сериям и ТУ
тонн
из артбетона
Получить прайс лист

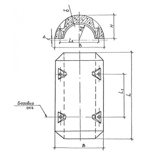
Утяжелители ЖБИ в Махачкале

Мы производители! Ассортимент - более 50 тысяч номенклатурных позиций для любых cтроительных задач. У нас можно купить утяжелитель из бетона с доставкой в Махачкале, Дагестану и всей России


Утяжелитель в наличии и под заказ. Изготовим ЖБИ и изделия из бетона для любых задач по лучшим ценам!

Популярные товары в каталоге

Также в наличии еще сотни позиций из категории «Утяжелители ЖБИ»! Чтобы получить весь каталог изделий - отправьте заявку на электронную почту или по телефону.

У нас можно заказать изготовление по чертежам любых ЖБИ Сэкономьте время на поиск - сразу звоните нам!

  • Махачкала 8 (800) 301-17-45


  • Оперативная связь через мессенджеры:

    +7 921 375-40-71

Доставка по Махачкале и любым городам России.

Цена от 10000 рублей за 1 м3 ( от 5 руб за кг).



Производство ЖБИ

Фото эксперта
Консультация эксперта
Сергеев Александр Вячеславович - Эксперт с 25-летним стажем в сфере производства ЖБИ и изделий из бетона.
Задать вопрос эксперту
Нам доверяют:

Заказать продукцию

+7(800)444-79-35

звонок по России бесплатный


+7 (812) 565-17-28

ООО "ЖБИ и Архитектура" © 2008-2026
Политика конфиденциальности и правила обработки персональных данных, Правила обработки cookies . Информация на сайте носит исключительно информационный характер и не является публичной офертой, определяемой положениями ст. 437 Гражданского кодекса РФКопирование материалов с данного сайта разрешено только с письменного разрешения администрации сайта.
Махачкала и Дагестан

info@prom-gbi.ru
mahachkala.prom-gbi.ru