8 (800) 444-79-35

Махачкала и Дагестан

+7 921 375-40-71

Для заявок через мессенджеры
Оставить заявку
ОТГРУЗИЛИ ИЗДЕЛИЙ
с 2008 года:
тонн
по чертежам
тонн
по сериям и ТУ
тонн
из артбетона
Получить прайс лист

Плиты переходные железобетонные в Махачкале

Мы производители! Ассортимент - более 50 тысяч номенклатурных позиций для любых cтроительных задач. У нас можно купить железобетонные переходные плиты для мостов с доставкой в Махачкале, Дагестану и всей России

Переходные ж.б. плиты обладают высокой прочностью, используется в качестве соединения пересечений между насыпью мостов и других сооружений. Переходная железобетонная плита находится в зоне проезжай части, крепиться на стенку устоя или модуль пролетного изделия, и с другой стороны опирается на насыпь подхода.

Плита несет распределительный характер нагрузки, непосредственно на протяжении всего моста. Готовая конструкция плиты должна выдерживать нагрузки классности А11, по всей своей ширине, также точечную нагрузку НК-80.

 

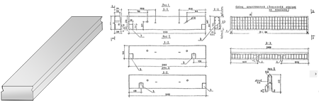
Принятые условные обозначения: Серия 3.503.1-96, Серия 3.503.1-41, выпуск 2
П - плита;
xxx.nnn.pp:
xxx - длина;
nnn - ширина;
pp - высота;
L - длина плиты;
B - ширина плиты;
H - высота плиты.

Методы производства осуществляются в соответствии с сериями 3.503.1-96, выпуск 1-1 и 3.503.1-41, выпуск 2переходные ж.б. плиты, которые применяются на поверхности, изготавливаются из сборных плит и полностью покрываются монолитом, плиты, которые заглубляются, производим с монолитом на поверхности, остальная часть остается в открытом виде с выводом наружной арматуры. Также можно выделить отдельную плиту сопряжения, ее изготавливают с выводом арматуры со всех сторон крепления, что ускоряет монтаж, снижает затраты на проект, улучшает прочность общей структуры моста, как единой системы. От толщины плит будет зависеть максимально возможная нагрузка от проезжающего транспорта.

плиты переходные

Цена по запросу. Наличие по запросу.

Фундамент для косоуров

Переходные плиты Серия 3.503.1-96, выпуск 1-1

Наименование
Номенклатура
Габариты (мм.)
Масса (т.)
Переходные плиты П 400.120.25 3950х1240х250 2,7
П 400.121.15 3950х1240х150 1,83
П 400.124.15 4000х1240х150 1,825
П 400.124.15 AIII 4000х1240х150 1,825
П 400.124.15-TAII 4000х1240х150 1,825
П 400.124.15-TAIII 4000х1240х150 1,825
П 400.124.25 3950х1240х250 2,7
П 400.124.25-AIII 3950х1240х250 2,7
П 400.124.25-TAII 3950х1240х250 2,7
П 400.124.25-TAIII 3950х1240х250 2,7
П 400.124.25.7-AIII 3950х1240х250 2,7
П 400.98.15 4000х980х150 1,425
П 400.98.15-AIII 4000х980х150 1,425
П 400.98.15-TAII 4000х980х150 1,425
П 400.98.15-TAIII 4000х980х150 1,425
П 400.98.25 3950х980х250 2,125
П 400.98.25-AIII 3950х980х250 2,125
П 400.98.25-TAII 3950х980х250 2,125
П 400.98.25-TAIII 3950х980х250 2,125
П 400.98.25-4 3950х980х250 2,125
П 400.98.25-4 AIII 3950х980х250 2,125
П 400.98.25.6-AIII 3950х980х250 2,125
П 400.98.25.7-AIII 3950х980х250 2,125
П 600.124.15 6000х1240х150 2,75
П 600.124.15-AIII 6000х1240х150 2,75
П 600.124.15-TAII 6000х1240х150 2,75
П 600.124.15-TAIII 6000х1240х150 2,75
П 600.124.30 5950х1240х300 5,0
П 600.124.30-AIII 5950х1240х300 5,0
П 600.124.30-TAII 5950х1240х300 5,0
П 600.124.30-TAIII 5950х1240х300 5,0
П 600.124.30.7-AIII 5950х1240х300 5,0
П 600.98.15 600х600х4000 2,15
П 600.98.15 - AIII 600х600х4000 2,15
П 600.98.15 - TAII 600х600х4000 2,15
П 600.98.15 - TAIII 600х600х4000 2,15
П 600.98.30 5950х980х300 4,0
П 600.98.30-AIII 5950х980х300 4,0
П 600.98.30-TAII 5950х980х300 4,0
П 600.98.30-TAIII 5950х980х300 4,0
П 600.98.30.4-AIII 5950х980х300 4,0
П 600.98.30.7-AIII 5950х980х300 4,0
П 800.124.20 8000х1240х200 4,875
П 800.124.20-AIII 8000х1240х200 4,875
П 800.124.20-TAII 8000х1240х200 4,875
П 800.124.20-TAIII 8000х1240х200 4,875
П 800.124.40 7950х1240х400 9,25
П 800.124.40-AIII 7950х1240х400 9,25
П 800.124.40-TAII 7950х1240х400 9,25
П 800.124.40-TAIII 7950х1240х400 9,25
П 800.98.20 8000х980х200 3,9
П 800.98.20-AIII 8000х980х200 3,9
П 800.98.20-TAII 8000х980х200 3,9
П 800.98.20-TAIII 8000х980х200 3,9
П 800.98.40 7950х980х400 7,25
П 800.98.40-AIII 7950х980х400 7,25
П 800.98.40-TAII 7950х980х400 7,25
П 800.98.40-TAIII 7950х980х400 7,25
П 800.98.40.4-AIII 7950х980х400 7,25
П 800.98.40.7-AIII 7950х980х400 7,25
Плиты переходные тротуарные ПТ200.75.15-ТА 2000х750х225 0,55
ПТ200.100.15-ТА 2000х1000х225 0,75
ПТ200.150.15-ТА 2000х1500х225 1,1
Плиты переходные косые ПК400.124.15 4000х1240х150 1,83
ПК400.124.15-ТА-50 504х1240х225 1,83
ПК400.124.15-ТА-55 4870х1240х225 1,83
ПК400.124.15-ТА-60 4720х1240х225 1,83
ПК400.124.15-ТА-65 4580х1240х225 1,83
ПК400.124.15-ТА-75 4330х1240х225 1,83
ПК400.124.25 4000х1240х250 2,7
ПК400.124.25-ТА-50 4930х1240х325 2,7
ПК400.124.25-ТА-55 4770х1240х325 2,7
ПК400.124.25-ТА-60 4620х1240х325 2,7
ПК400.124.25-ТА-65 4490х1240х325 2,7
ПК400.124.25-ТА-75 4260х1240х325 2,7
ПК400.98.15 4000х980х150 1,43
ПК400.98.15-ТА-50 4820х980х225 1,43
ПК400.98.15-ТА-55 4690х980х225 1,43
ПК400.98.15-ТА-60 4570х980х225 1,43
ПК400.98.15-ТА-65 4460х980х225 1,43
ПК400.98.15-ТА-75 4260х980х225 1,43
ПК400.98.25 4000х980х250 2,2
ПК400.98.25-ТА-50 4720х980х325 2,2
ПК400.98.25-ТА-55 4590х980х325 2,2
ПК400.98.25-ТА-60 4480х980х325 2,2
ПК400.98.25-ТА-65 4380х980х325 2,2
ПК400.98.25-ТА-75 4200х980х325 2,2
ПК600.124.15 6000х1240х150 2,75
ПК600.124.15-ТА-50 7040х1240х225 2,75
ПК600.124.15-ТА-55 6870х1240х225 2,75
ПК600.124.15-ТА-60 6720х1240х225 2,75
ПК600.124.15-ТА-65 6580х1240х225 2,75
ПК600.124.15-ТА-75 6330х1240х225 2,75
ПК600.124.30 6000х1240х300 5,1
ПК600.124.30-ТА-50 6930х1240х400 5,1
ПК600.124.30-ТА-55 6770х1240х400 5,1
ПК600.124.30-ТА-60 6620х1240х400 5,1
ПК600.124.30-ТА-65 6490х1240х400 5,1
ПК600.124.30-ТА-75 6260х1240х400 5,1
ПК600.98.15 6000х980х150 2,15
ПК600.98.15-ТА-50 3820х980х225 2,15
ПК600.98.15-ТА-55 6690х980х225 2,15
ПК600.98.15-ТА-60 6570х980х225 2,15
ПК600.98.15-ТА-65 6460х980х225 2,15
ПК600.98.15-ТА-75 6260х980х225 2,15
ПК600.98.30 6720х980х300 4,0
ПК600.98.30-ТА-50 6720х980х380 4,0
ПК600.98.30-ТА-55 6590х980х380 4,0
ПК600.98.30-ТА-60 6480х980х380 4,0
ПК600.98.30-ТА-65 6380х980х380 4,0
ПК600.98.30-ТА-75 6200х980х380 4,0
ПК800.124.20 8000х1240х200 4,9
ПК800.124.20-ТА-50 9040х1240х300 4,9
ПК800.124.20-ТА-55 8870х1240х300 4,9
ПК800.124.20-ТА-60 8720х1240х300 4,9
ПК800.124.20-ТА-65 8580х1240х300 4,9
ПК800.124.20-ТА-75 8330х1240х300 4,9
ПК800.124.40 8000х1240х400 9,3
ПК800.124.40-ТА-50 8930х1240х580 9,3
ПК800.124.40-ТА-55 8770х1240х580 9,3
ПК800.124.40-ТА-60 8620х1240х580 9,3
ПК800.124.40-ТА-65 8490х1240х580 9,3
ПК800.124.40-ТА-75 8260х1240х580 9,3
ПК800.98.20 8000х980х200 3,9
ПК800.98.20-ТА-50 8820х980х280 3,9
ПК800.98.20-ТА-55 8690х980х280 3,9
ПК800.98.20-ТА-60 8570х980х280 3,9
ПК800.98.20-ТА-65 8460х980х280 3,9
ПК800.98.20-ТА-75 8260х980х280 3,9
ПК800.98.40 8000х980х400 7,3
ПК800.98.40-ТА-50 8720х980х575 7,3
ПК800.98.40-ТА-55 8590х980х575 7,3
ПК800.98.40-ТА-60 8480х980х575 7,3
ПК800.98.40-ТА-65 8380х980х575 7,3
ПК800.98.40-ТА-75 8200х980х575 7,3
Плиты тротуарные косые ПТК200.100.15-ТА-50 2840х1000х225 0,75
ПТК200.100.15-ТА-55 2700х750х225 0,55
ПТК200.100.15-ТА-60 2580х750х225 0,55
ПТК200.100.15-ТА-65 2470х750х225 0,55
ПТК200.100.15-ТА-75 2270х750х225 0,55
ПТК200.150.15-ТА-50 3260х1500х225 1,1
ПТК200.150.15-ТА-55 3050х1500х225 1,1
ПТК200.150.15-ТА-60 2870х1500х225 1,1
ПТК200.150.15-ТА-65 2700х1500х225 1,1
ПТК200.150.15-ТА-75 2400х1500х225 1,1
ПТК200.75.15-ТА-50 2630х750х225 0,55
ПТК200.75.15-ТА-55 2530х750х225 0,55
ПТК200.75.15-ТА-60 2440х750х225 0,55
ПТК200.75.15-ТА-65 2350х750х225 0,55
ПТК200.75.15-ТА-75 2200х750х225 0,55

Блоки переходных плит Серия 3.503.1-53, Выпуск 1

Наименование
Длина, мм
Ширина, мм
Высота, мм
Вес, кг
П1 4000 980 150 1400
П2 4000 1240 150 1800
П3 6000 980 200 3000

Переходные плиты автодорожных мостов Серия 3.503.1-57 Выпуск 1

Наименование
Длина, мм
Ширина, мм
Высота, мм
Вес, кг
П1 4000 980 150 1400
П2 4000 1240 150 1800
П3 6000 980 200 3000

Плиты переходные Серия 3.501-61

Наименование
Длина, мм
Ширина, мм
Высота, мм
Вес, кг
ПП 2350 1230 2100 5500

Плиты сопряжения серия 3.503.1-41, выпуск 2

Наименование
Длина, мм
Ширина, мм
Высота, мм
Вес, кг
Объем, куб.м
П1-4м-AIII 4000 980 345 2350 0,94
П1-6м-AIII 6000 980 410 4250 1,7
П1-8м-AIII 8000 980 540 7700 3,1
П1-8м-AIII 8000 980 540 7550 3,06
П2-4м-AIII 4000 1240 350 3000 1,2
П2-6м-AIII 6000 1240 420 5500 2,2
П2-8м-AIII 8000 1240 550 10300 4,1
П3-4м-AIII 4000 980 250 1400 0,57
П3-6м-AIII 6000 980 300 2900 1,15
П3-8м-AIII 8000 980 300 3900 1,54
П4-4м-AIII 4000 1240 255 1800 0,73
П4-6м-AIII 6000 1240 310 3700 1,47
П4-8м-AIII 8000 1240 320 4900 1,96
ПК1-4м-AII 4000 980 315 2350 0,94
ПК1-6м-AII 6000 980 410 4250 1,7
ПК1-6м-AIII 6000 980 410 4250 1,7
ПК1-8м-AII 8000 980 540 7650 3,08
ПК1-8м-AIII 8000 980 540 7650 3,08
ПК1-м-AIII 4000 980 315 2350 0,94
ПК2-4м-AII 4000 1240 345 300 1,2
ПК2-4м-AIII 4000 1240 345 300 1,2
ПК2-6м-AII 6000 1240 410 5500 2,2
ПК2-6м-AIII 6000 1240 410 5500 2,2
ПК2-8м-AII 8000 1240 540 10300 4,1
ПК2-8м-AIII 8000 1240 540 10300 4,1
ПК3-4м-AII 4000 980 250 1400 0,58
ПК3-4м-AIII 4000 980 250 1400 0,58
ПК3-6м-AII 6000 980 300 2900 1,16
ПК3-6м-AIII 6000 980 300 2900 1,16
ПК3-8м-AII 8000 980 300 3900 1,54
ПК3-8м-AIII 8000 980 300 3900 1,54
ПК4-4м-AII 4000 1240 250 1800 0,73
ПК4-4м-AIII 4000 1240 250 1800 0,73
ПК4-6м-AII 6000 1240 310 3700 1,47
ПК4-6м-AIII 6000 1240 310 3700 1,47
ПК4-8м-AII 8000 1240 320 4900 1,96
ПК4-8м-AIII 8000 1240 320 4900 1,96

В зависимости от назначения моста плиты изготавливают с различными нормами входящих материалов, учитывая при необходимости, помимо внешнего воздействия, приходящего с торца, воздействие боковым ветров или сейсмической активности. Также помимо горизонтальных переходных плит, плиты бывают с различными изгибами и нестандартных конструкций. От правильности расчетов зависит нормальное распределение нагрузок на опоры, что в свою очередь гарантирует долговечность мостового сооружения. Наш завод ПК “Пром ЖБИ” производит переходные плиты различных размеров по стандартам ЖБИ изделий или по Вашим чертежам.

У нас можно заказать изготовление по чертежам любых ЖБИ Сэкономьте время на поиск - сразу звоните нам!

  • Махачкала 8 (800) 301-17-45


  • Оперативная связь через мессенджеры:

    +7 921 375-40-71

Доставка по Махачкале и любым городам России.

Цена от 10000 рублей за 1 м3 ( от 5 руб за кг).



Фото эксперта
Консультация эксперта
Сергеев Александр Вячеславович - Эксперт с 25-летним стажем в сфере производства ЖБИ и изделий из бетона.
Задать вопрос эксперту
Нам доверяют:

Заказать продукцию

+7(800)444-79-35

звонок по России бесплатный


+7 (812) 565-17-28

ООО "ЖБИ и Архитектура" © 2008-2026
Политика конфиденциальности и правила обработки персональных данных, Правила обработки cookies . Информация на сайте носит исключительно информационный характер и не является публичной офертой, определяемой положениями ст. 437 Гражданского кодекса РФКопирование материалов с данного сайта разрешено только с письменного разрешения администрации сайта.
Махачкала и Дагестан

info@prom-gbi.ru
mahachkala.prom-gbi.ru