ОТГРУЗИЛИ ИЗДЕЛИЙ
с 2008 года: тонн
по чертежам тонн
по сериям и ТУ тонн
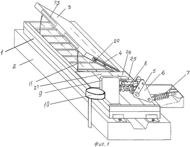
из артбетона Устройство заградительное переездное в МахачкалеМы производители! Ассортимент - более 50 тысяч номенклатурных позиций для любых cтроительных задач. У нас можно купить заградительное переездное устройство с доставкой в Махачкале, Дагестану и всей России Для безопасности железнодорожных переездов предназначено заградительное переездное устройство КСОАЗ. Оно ограждает переезд, поднимая металлическую крышку и включая запрещающий сигнал специально установленных светофоров. Это устройство дополняет технологические и технические средства, предназначенные для обеспечения и повышения безопасности при движении по железнодорожным переездам. Основная функция КСОАЗ — предотвратить несанкционированный въезд автомобиля на железнодорожный переезд, когда шлагбаум находится в закрытом положении. Эти устройства устанавливаются на железнодорожных регулируемых переездах, которые обслуживает дежурный работник. Они являются единственным механизмом заграждения, которое выпускается в соответствии с утвержденным действующим ТУ.
ХарактеристикиДля работы КСОАЗ необходима трехфазная или однофазная сеть переменного тока с частотой 50 Гц (допустимо ±0,5) с изолированной нейтралью и напряжением 220 В (допустимо −10%, +5%). Оборудование потребляет от сети 2 кВт мощности. Оно может перекрыть проезжую часть шириной от 6 до 10 м. Крышка КСОАЗ поднимается менее чем за 5 с. Передний брус крышки этого устройства поднимается на 0,45 м (допустимо ±0,05) от дорожного покрытия. Чтобы принудительно опустить поднятый край крышки, необходимо приложить вертикальное усилие в 150 кгс и выше. Крышка КСОАЗ приводится в действие электродвигателем МСТ-0,3, вмонтированным в привод ЭП-УЗП или ЭП-УЗПА. Это устройство способно непрерывно работать сутки подряд на воздухе при температуре от −60°С до +60°С. По техническим характеристикам КСОАЗ является изделием категории I по ГОСТу 15150-69 и исполнения УХЛ. Наша компания поставляет на место непосредственного использования комплект заградительных устройств (УЗ) в количестве четырех штук. Этот комплект представляет собой конструкцию из металла, для установки которой используется бетонный фундамент, расположенный между железнодорожным полотном и шлагбаумом в самом теле автомобильной дороги. В дополнении идут переездная сигнализация и релейные шкафы-датчики. КСОАЗ, установленный на обеспеченном автоматической переездной сигнализацией железнодорожном переезде, выполняет следующие функции: — механически ограждает зону переезда; — предотвращает въезд транспорта на переезд при запрете движения; — обеспечивает выезд транспорта, если он оказывается на уже огражденном переезде; — отыскивает транспортные средства, попавшие в зону крышек УЗ при огражденном переезде; — передает дежурному сотруднику данные о своем техническом состоянии. Область примененияДля безопасности железнодорожных переездов.
![]() У нас можно заказать изготовление по чертежам любых ЖБИ Сэкономьте время на поиск - сразу звоните нам!
Доставка по Махачкале и любым городам России. Цена от 10000 рублей за 1 м3 ( от 5 руб за кг). Производство ЖБИ
Консультация эксперта
Сергеев Александр Вячеславович - Эксперт с 25-летним стажем в сфере производства ЖБИ и изделий из бетона.
Смотрите также:
Железнодорожные шпалы
Изделия для железнодорожных платформ
Краевая балка
Фундамент
жби
Фундамент опоры освещения
Фундаменты навеса ФМ
жб
Фундаменты навеса ФН
Тротуарные плиты
от завода
Трехлучевые фундаменты
Стойки опор линий автоблокировки
Стойки для трубопровода
из бетона
Снегозащитные ограждения
Розетка для пикетных столбов
(бетон)
Противоскользящие покрытия
Нам доверяют:
|

+7 921 375-40-71

