ОТГРУЗИЛИ ИЗДЕЛИЙ
с 2008 года: тонн
по чертежам тонн
по сериям и ТУ тонн
из артбетона Ригель краевой в МахачкалеМы производители! Ассортимент - более 50 тысяч номенклатурных позиций для любых cтроительных задач. У нас можно купить краевые ригели Р-1 жд платформ с доставкой в Махачкале, Дагестану и всей России Краевой ригель Р-1 (РК-1) успешно применяется при строительстве фундаментов, на железной дороге и в линиях электропередач. Его задачей является усиление испытывающих горизонтальную нагрузку конструкций.
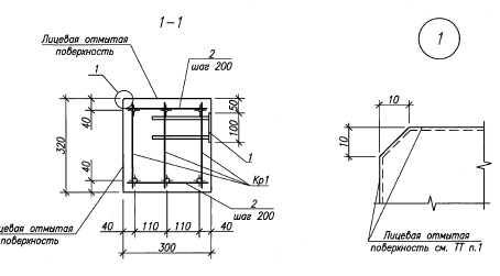
Принятые условные обозначения: ГОСТ 18980-90
Стандартные параметры ригеля Р-1 (РК-1): 5980 мм в длину, прямоугольное сечение 320х300 мм. По специальному запросу характеристики ригеля могут быть изменены. Для изготовления краевого ригеля Р-1 (РК-1) используется бетон В-40 с параметрами F-200, F-300, W-4, W-6, W-10. Поверхность этого бетона имеет отмытый слой. В зависимости от длины ригель РК в разных документах может называться В-1, В-2 или Р-2.
Таблица «Спецификация элементов ригеля краевого РК-1»
Популярные товары в каталоге
![]() У нас можно заказать изготовление по чертежам любых ЖБИ Сэкономьте время на поиск - сразу звоните нам!
Доставка по Махачкале и любым городам России. Цена от 10000 рублей за 1 м3 ( от 5 руб за кг). Производство ЖБИ
Консультация эксперта
Сергеев Александр Вячеславович - Эксперт с 25-летним стажем в сфере производства ЖБИ и изделий из бетона.
Смотрите также:
Ригель поперечный
Ригель продольный
Ростверки для жд-платформ
Тактильная плитка
жби
Тактильные плиты
Угловой элемент ЖД платформы КР1
жб
Краевые балки
Ригели РПУ
от завода
Ригели пандуса
Ригели ИР
Плиты со вскрытой фактурой
из бетона
Плиты пандуса
Плита из декоративного бетона БП
(бетон)
Плиты покрытия платформ
Нам доверяют:
|

+7 921 375-40-71










