8 (800) 444-79-35

Махачкала и Дагестан

+7 921 375-40-71

Для заявок через мессенджеры
Оставить заявку
ОТГРУЗИЛИ ИЗДЕЛИЙ
с 2008 года:
тонн
по чертежам
тонн
по сериям и ТУ
тонн
из артбетона
Получить прайс лист

Блоки ригелей и шкафных стенок в Махачкале

Мы производители! Ассортимент - более 50 тысяч номенклатурных позиций для любых cтроительных задач. У нас можно купить железобетонные блоки ригелей и стенок с доставкой в Махачкале, Дагестану и всей России

Для строительства автодорожных мостов, в особенности с ребристыми конструкциями незаменимыми деталями будут массивные блоки ригелей. Ригели используют для создания много столбчатых опор, для более качественного и надежного укрепления мостовых элементов.

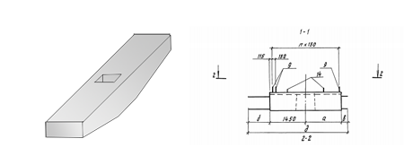
Рассмотрим подробнее устройство самой опоры, она состоит из фундаментной и надфундаментой части. Фундамент мостовой опоры, как мы говорили в других разделах, возводиться поэтапно, первым этапом производиться бурение и замоноличивание сваи, на следующем этапе возводиться окончательный фундамент и в последствии надфундаментная часть опоры. В блоках опоры специально делают выходы арматуры для крепления на них ригелей, в самих же ригелях есть ромбовидные впадины для состыковки с блоками опоры. Ригели всегда используют попарно, для чего в конструкции ригелей, предусмотрены арматурные выступы, в процессе монтажа арматуру сваривают и замоноличивают за счёт чего образуется единая жесткая конструкция. Также к ригелям приваривают шкафные стеновые блоки на которые крепят плиты сопряжения под переходные плиты.

 

Принятые условные обозначения: Серия 3.503.1-105, Серия 3.503.1-95 Выпуск 2-1, Серия 3.503.1-90 Выпуск 1, Серия 3.503.1-100, Серия 3.503.1-57 выпуск 1, Серия 3.503-23 выпуск 15, Серия 3.503-23 выпуск 7, Серия 3.503.1-53, Серия 3.503.1-102 выпуск 2, Серия 3.501-61, Серия 3.503.1-104 выпуск 2, Серия 3.503.1-94 выпуск 2, Серия 3.503.1-69 выпуск 2, Серия 3.503.1-76 выпуск 1, Серия 3.503.1-79 выпуск 2, Серия 3.503-23 Выпуск 10, Серия 3.503.1-109.93 Выпуск 1ГОСТ 24155-80




БС - Блок боковой стенки;
БР - Блок ригеля;
БШ - Блок шкафной стенки;
L - длина блока;
B - ширина блока;
H - высота блока.

Изготовление и монтаж блоков ригелей и шкафных стеновых блоков проходит строго в соответствии с серией 3.503.1-105, и допускается к применению исключительно после проверки мостовой инспекции. Для изготовления ригелей используется по классике в мостовом строение бетон водонепроницаемости W6, морозостойкость зависит строго от региона использования и локальных температурных условий, но не менее F200-300, жесткость бетона B25-30. Поскольку ригели различаются по расстоянию опор, толщине наружного бетона, использования различной арматуры, также различных примесей в зависимости от регионального нахождения моста, то изготовление и цена для каждого изделия будет индивидуальной. Также наша компания ПК “Пром ЖБИ” предоставляет, индивидуальные условия доставки любых железобетонных изделий.

В г. Симферополе (респ. Крым) на ул. Толстого, 75В в торгово-офисном центре «Гагаринский» открылось наше представительство. Чтобы заказать любые ЖБИ-изделия и получить консультацию, Вы можете написать нам на почту Этот e-mail адрес защищен от спам-ботов, для его просмотра у Вас должен быть включен Javascript или позвонить по номеру +7 (365) 277-71-28.

шкафной блок1 шкафной блок2

Цена по запросу. Наличие по запросу.

Блоки ригелей

Блоки ригелей и стенок Серия 3.503.1-105

Наименование
Номенклатура
Габариты (мм.)
Масса (т.)
Блоки боковой стенки БС 9-1 900х150х800 0,21
БС 9-2 900х150х800 0,21
Блоки ригелей
2БР-38-2-21 3750х1200х700 6,43
2БР-38-2-22 3750х1200х700 6,43
2БР-38-3-21 3750х1200х700 6,43
2БР-38-3-22 3750х1200х700 6,43
2БР-45-2-21 4500х1200х700 7,63
2БР-45-2-22 4500х1200х700 7,63
2БР-45-3-21 4500х1200х700 7,63
2БР-45-3-22 4500х1200х700 7,63
2БР 55-2-31 5500х1200х700 9,73
2БР-55-2-32 5500х1200х700 9,73
2БР 55-3-21 5500х1200х700 9,73
2БР 55-3-22 5500х1200х700 9,73
2БР 55-3-31 5500х1200х700 9,73
2БР 55-3-32 5500х1200х700 9,73
2БР 63-2-31 6250х1200х700 10,83
2БР 63-2-32 6250х1200х700 10,83
2БР 63-3-31 6250х1200х700 10,85
2БР 63-3-32 6250х1200х700 10,85
3БР 38-2-11 3750х1200х500 5,03
3БР 38-2-12 3750х1200х500 5,03
3БР 38-3-11 3750х1200х500 6,43
3БР 38-3-12 3750х1200х500 6,43
3БР 45-2-11 4500х1200х500 6,16
3БР 45-2-12 4500х1200х500 6,16
3БР 45-3-11 4500х1200х700 8,08
3БР 45-3-12 4500х1200х700 8,08
3БР 55-2-21 5500х1200х500 7,66
3БР 55-2-22 5500х1200х500 7,66
3БР 55-3-21 5500х1200х700 11,5
3БР 55-3-22 5500х1200х700 11,5
3БР 63-2-21 6250х1200х500 8,78
3БР 63-2-22 6250х1200х500 8,78
3БР 63-3-21 6250х1200х700 11,52
3БР 63-3-22 6250х1200х700 11,52
Блоки шкафной стенки
БШ 40-3-21 3990х1500х200 2,58
БШ 45-3-12 4490х1490х200 2,93
БШ 45-3-31 4490х1490х200 2,84
БШ 47-3-22 4740х1480х200 3,08
БШ 45-4-12 4490х2020х200 4,12
БШ 45-4-21 4490х2028х200 4,15
БШ 47-4-22 4740х2010х200 4,31
БШ 50-4-31 4990х2020х200 4,51
БШ 25-3-2 2480х1135х200 1,4
БШ 25-3-3 2480х1185х200 1,45
БШ 25-4-2 2480х1665х200 2,05
БШ 25-4-3 2480х1715х200 2,11
БШ 30-3-2 4490х1200х2020 4,12
БШ 30-4-2 2980х1730х200 2,56
БШ 25-3-1 2480х1160х200 1,41
БШ 25-4-1 2480х1690х200 2,06
БШ 30-3-1 2980х1170х200 1,7
БШ 30-4-1 2980х1700х200 2,5

Блоки ригелей и стенок Серия 3.503.1-95 выпуск 2-1

Наименование
Номенклатура
Габариты (мм.)
Масса (т.)
Блок ригеля промежуточной опоры Р1-П1 4050х1700х700 9,5
Р1-П2 4050х1700х700 9,5
Р2-П1 3100х1700х700 5,6
Р2-П2 3100х1700х700 5,6
Р3-П1 3850х1700х700 7,9
Р3-П2 3850х1700х700 7,9
Р4-П1 8050х1700х700 19,6
Р4-П2 8050х1700х700 19,6
Р5-П1 7100х1700х700 16,8
Р5-П2 7100х1700х700 16,8
Блок ригеля устоя Р1-У 4050х1400х800 6,9
Р2-У 3300х1700х700 4,9
Р3-У 4600х1700х700 6,9
Р4-У 8050х1700х700 16,6
Р5-У 7300х1700х700 14,7
Р4н-У 8050х1700х700 16,6
Р5н-У 7300х1700х700 14,7
Блок шкафной стенки Ш1-С 980х250х550 0,3
Ш3-С 1230х250х550 0,35
Ш2-С 1230х550х850 0,5
Ш2-С 980х550х850 0,425
Ш1-К 1380х1050х200 0,4
Ш2-К 2180х1050х200 0,8

Блоки ригелей и подколонников Серия 3.503.1-90 выпуск 1

Наименование
Номенклатура
Габариты (мм.)
Масса (т.)
Блок подколонника ФЭ350-74-7 3500х3400х1750 16,0
Ф380-74-7 3500х3400х2050 20,5
Блок ригеля 1РК80-74-7 6830х1450х800 14,9
2РК80-74-7 6830х1450х800
14,9
1РП80-74-7 6660х1450х800 11,08
2РП80-74-7 6660х1450х800 11,08
1РК90-74-7 6830х1450х900 20,6
2РК90-74-7 6830х1450х900 20,6
1РП90-74-7 6660х1750х900 15,2
2РП90-74-7 6660х1750х900 15,2

Блоки ригелей и шкафных стенок для опор автодорожных мостов для северных условий Серия 3.503.1-100

Наименование
Номенклатура
Габариты (мм.)
Масса (т.)
Блоки ригелей 1РП82-1,2,3ТАIII 8200х1550х1080 17,3
1РП82-1,2,3ТАII 8200х1550х1080 17,3
1РП94-1,2,3ТАIII 9400х1550х1080 18,8
1РП94-1,2,3ТАII 9400х1550х1080 18,8
2РП32-1,2,3ТАIII 3200х1550х780 7,0
2РП32-1,2,3ТАII 3200х1550х780 7,0
2РП34-3,4ТАIII 3400х1550х780 7,5
2РП34-3,4ТАII 3400х1550х780 7,5
2РП40-3ТАIII 4000х1550х780 9,3
2РП40-3ТАII 4000х1550х780 9,3
2РП34-4ТАIII 3400х1550х780 7,5
2РП34-4ТАII 3400х1550х780 7,5
2РП40-4ТАIII 4000х1550х780 9,3
2РП40-4ТАII 4000х1550х780 9,3
2РП40-1,2ТАIII 4000х1550х780 9,3
2РП40-1,2ТАII 4000х1550х780 9,3
2РП32-5,6ТАIII 3200х1650х880 8,8
2РП32-5,6ТАII 3200х1650х880 8,8
2РП34-5,6ТАIII 3400х1650х880 9,5
2РП34-5,6ТАII 3400х1650х880 9,5
2РП40-5,6ТАIII 4000х1650х880 11,3
2РП40-5,6ТАII 4000х1650х880 11,3
3РП41-1,2,3,4ТАIII 4050х1550х780 9,8
3РП41-1,2,3,4ТАII 4050х1550х780 9,8
3РП51-1,2,3,4ТАIII 5050х1550х780 12,3
3РП51-1,2,3,4ТАII 5050х1550х780 12,3
3РП58-1,2,3,4ТАIII 5800х1550х780 14,3
3РП58-1,2,3,4ТАII 5800х1550х780 14,3
3РП41-5,6ТАIII 4050х1650х880 11,8
3РП41-5,6ТАII 4050х1650х880 11,8
3РП58-5,6ТАIII 5800х1650х880 17,5
3РП58-5,6ТАII 5800х1650х880 17,5
3РП36-3,4ТАIII 3550х1550х780 8,5
3РП36-3,4ТАII 3550х1550х780 8,5
3РП36-5,6ТАIII 3550х1650х880 10,4
3РП36-5,6ТАII 3550х1650х880 10,4
3РП48-5,6ТАIII 4750х1650х880 14,3
3РП48-5,6ТАII 4750х1650х880 14,3
3РП51-5,6ТАIII 5050х1650х880 15,3
3РП51-5,6ТАII 5050х1650х880 15,3
4РП53-1,2,3,4ТАIII 5250х1550х780 12,0
4РП53-1,2,3,4ТАII 5250х1550х780 12,0
4РП53-5,6ТАIII 5250х1650х880 14,8
4РП53-5,6ТАII 5250х1650х880 14,8
4РП58-1,2,3,4ТАIII 5800х1550х780 13,5
4РП58-1,2,3,4ТАII 5800х1550х780 13,5
4РП77-1,2,3,4ТАIII 7650х1550х780 18,3
4РП77-1,2,3,4ТАII 7650х1550х780 18,3
4РП58-5,6ТАIII 5800х1650х880 16,3
4РП58-5,6ТАII 5800х1650х880 16,3
4РП77-5,6ТАIII 7650х1650х880 22,3
4РП77-5,6ТАII 7650х1650х880 22,3
2РК91 ТАIII 9140х1400х750 21,5
2РК91-ТАII 9140х1400х750 21,5
3РК46 ТАIII-1,2 4620х1400х750 10,9
3РК46-ТАII-1,2 4620х1400х750 10,9
3РК56-ТАIII-1,2 5620х1400х750 13,4
3РК56-ТАII-1,2 5620х1400х750 13,4
4РК64-ТАIII-1,2 6370х1400х750 14,5
4РК64-ТАII-1,2 6370х1400х750 14,5
4РК61-ТАIII-1,2 6050х1400х750 13,8
4РК61-ТАII-1,2 6050х1400х750 13,8
4РК80-ТАIII-1,2 8080х1400х750 18,8
4РК80-ТАII-1,2 8080х1400х750 18,8
4РК81-ТАIII-1,2 8080х1400х750 18,8
4РК81-ТАII-1,2 8080х1400х750 18,8
Блоки шкафных стенок БШ10.19-ТАII 980х1880х200 0,9
БШ40.12-ТАII 3990х1150х300 3,3
БШ40.12-ТАIII 3990х1150х300 3,3
БШ40.10-ТАII 3990х1000х300 2,9
БШ40.10-ТАIII 3990х1000х300 2,9
БШ40.9-ТАIII 3990х850х300 2,4
БШ40.9-ТАII 3990х850х300 2,4
БШ37.18-ТАII 3730х1800х300 4,9
БШ37.18-ТАIII 3730х1800х300 4,9
БШ37.16-ТАII 3730х1600х300 4,4
БШ37.16-ТАIII 3730х1600х300 4,4
БШ37.13-ТАII 3730х1300х300 3,5
БШ37.13-ТАIII 3730х1300х300 3,5
БШ37.12-ТАII 3730х1150х300 3,1
БШ37.12-ТАIII 3730х1150х300 3,1
БШ37.10-ТАII 3730х1000х300 2,7
БШ37.10-ТАIII 3730х1000х300 2,7
БШ35.17-ТАII 3480х1650х300 4,2
БШ40.13-ТАIII 3990х1300х300 3,8
БШ40.13-ТАII 3990х1300х300 3,8
БШ10.19-ТАIII 980х1880х200 0,9
БШ10.17-ТАII 980х1680х200 0,8
БШ10.17-ТАIII 980х1680х200 0,8
БШ10.14-ТАII 980х1380х200 0,7
БШ10.14-ТАIII 980х1380х200 0,7
БШ10.12-ТАII 980х1230х200 0,6
БШ10.12-ТАIII 980х1230х200 0,6
БШ10.11-ТАII 980х1080х200 0,5
БШ10.11-ТАIII 980х1080х200 0,5
БШ40.18-ТАII 3990х1800х300 5,3
БШ40.18-ТАIII 3990х1800х300 5,3
БШ40.17-ТАII 3990х1650х300 4,9
БШ40.17-ТАIII 3990х1650х300 4,9
БШ40.16-ТАII 3990х1600х300 4,7
БШ40.16-ТАIII 3990х1600х300 4,7
БШ40.15-ТАII 3990х1450х300 4,2
БШ40.15-ТАIII 3990х1450х300 4,2
БШ35.17-ТАIII 3480х1650х300 4,2
БШ35.15-ТАII 3480х1450х300 3,7
БК35.25-ТАII 3450х2450х200 3,4
БК35.25-ТАIII 3450х2450х200 3,4
БК37.23-ТАII 3650х2250х200 3,4
БК37.23-ТАIII 3650х2250х200 3,4
БК33.23-ТАII 3250х2250х200 2,9
БК33.23-ТАIII 3250х2250х200 2,9
БК33.20-ТАII 3450х1950х200 2,7
БК33.20-ТАIII 3450х1950х200 2,7
БК31.20-ТАII 3050х1950х200 2,3
БК31.20-ТАIII 3050х1950х200 2,3
БК33.18-ТАII 3250х1800х200 2,3
БК33.18-ТАIII 3250х1800х200 2,3
БК31.18-ТАII 3050х1800х200 2,1
БК31.18-ТАIII 3050х1800х200 2,1
БК33.17-ТАII 3250х1650х200 2,0
БК33.17-ТАIII 3250х1650х200 2,0
БК29.17-ТАII 2850х1650х200 1,8
БК39.25-ТАIII 3850х2450х200 3,9
БК39.25-ТАII 3850х2450х200 3,9
БШ35.15-ТАIII 3480х1450х300 3,7
БШ35.12-ТАII 3480х1150х300 2,9
БШ35.12-ТАIII 3480х1150х300 2,9
БШ35.10-ТАII 3480х1000х300 2,5
БШ35.10-ТАIII 3480х1000х300 2,5
БШ35.9-ТАII 3480х850х300 2,1
БШ35.9-ТАIII 3480х850х300 2,1
БШ32.17-ТАII 3240х1650х300 3,9
БШ32.17-ТАIII 3240х1650х300 3,9
БШ32.15-ТАII 3240х1450х300 3,4
БШ32.15-ТАIII 3240х1450х300 3,4
БШ32.12-ТАII 3240х1150х300 2,7
БШ32.12-ТАIII 3240х1150х300 2,7
БШ32.10-ТАII 3240х1000х300 2,3
БШ32.10-ТАIII 3240х1000х300 2,3
БШ32.9-ТАII 3240х850х300 2,0
БШ32.9-ТАIII 3240х850х300 2,0
БК29.17-ТАIII 2850х1650х200 1,8

Блоки ригелей и стенок Серия 3.503.1-57 выпуск 1

Наименование
Номенклатура
Габариты (мм.)
Масса (т.)
Блок ригеля 15Р-5 5070х1200х800 8,5
24Р-5 5070х1200х800 8,5
Р-7 1720х1200х800 5,5
Р-9 2700х1200х800 3,0
33Р-50 5070х1400х1100 11,8
Р-70 3720х1400х1100 7,5
Р-90 2700х1400х1100 4,3
15Р-3 2700х1200х800 3,3
24Р-3 2700х1200х800 3,3
33Р-30 2700х1400х1100 4,3
Блок стенки 50СП-5в 5880х1000х500 5,7
50СП-5 5880х1000х500 5,7
50СП-7в 7880х1000х500 8,0
50СК-5 5880х1100х500 7,0
50СК-7 7880х1100х500 9,7
60СП-9в 9880х1000х600 12,3
60СП-9 9880х1000х600 12,3
60СК-9 9880х1200х600 14,8
70СП-7в 7960х1200х700 11,0
70СП-7 7960х1200х700 11,0
70СП-9в 9960х1200х700 14,2
70СП-9 9960х1200х700 14,2
70СК-7 7960х1200х700 13,0
70СК-9 9960х1200х700 16,8
60СПП-9 9880х1000х600 11,5
60СЗ-4 4500х1000х600 5,5
60СКП-9 9880х1200х600 14,5
70СПП-9 9960х1000х700 13,2
70СЗ-4 4280х1000х700 6,0
70СКП-9 9960х1200х700 16,3

Блоки ригелей Серия 3.503-23 выпуск 15

Номенклатура
Габариты (мм.)
Масса (т.)
НП-1 5025х1200х500 5,9
НП-2 5525х1200х500 6,7
НП-3 7025х1200х500 8,7
НП-4 7525х1200х500 9,4
НП-5 6650х1200х500 7,3
РП-1 5470х1200х800 9,1
РП-2 5970х1200х800 9,5
РП-3 6990х1200х800 11,9
РП-4 6430х1200х800 10,5
РП-5 7450х1200х800 12,9
24Р-9Д 5290х1200х930 8,6
15Р-5Д 5070х1200х930 8,6

Блоки ригелей Серия 3.503.1-53

Номенклатура
Габариты (мм.)
Масса (т.)
15Р-5 5070х1200х800 8,5
24Р-5 5070х1200х800 8,5
Р-9 2700х1200х800 3,0
33Р-50 5070х1400х1100 11,8
Р-90 2700х1400х1100 4,3
15Р-3 2700х1200х800 3,3
24Р-3 2700х1200х800 3,3
33Р-30 2700х1400х1100 4,3

Блоки ригелей, стенок и цокольных блоков Серия 3.503-23 выпуск 7

Наименование
Номенклатура
Габариты (мм.)
Масса (т.)
Блок ригеля 33Р-10 5070х1400х1240 12,0
42Р-10 5070х1400х1240 12,0
33Р-20 6090х1400х1250 15,3
42Р-20 6090х1400х1250 15,3
33Р-90 5440х1400х1250 10,7
42Р-90 5440х1400х1250 10,7
33Р-30 3720х1400х1220 7,7
42Р-30 3720х1400х1220 7,7
33Р-30У 3720х1400х1220 7,7
42Р-30У 3720х1400х1220 7,7
33Р-40 4740х1400х1230 11,1
42Р-40 4740х1400х1230 11,1
33Р-40У 4740х1400х1230 11,1
42Р-40У 4740х1400х1230 11,1
33Р-50 5070х1400х1240 11,8
42Р-50 5070х1400х1240 11,8
33Р-60 6090х1400х1250 15,2
42Р-60 6090х1400х1250 15,2
Блок стенки 50СК-6 6880х1200х640 8,4
50СП-6в 6880х1000х630 6,8
50СП-6 6100х1000х630 6,8
50СК-5 5880х1200х630 7,0
50СП-5в 5880х1000х630 5,7
50СП-5 5100х1000х630 5,7
50СК-7 7880х1200х650 9,7
50СП-7в 7880х1000х640 8,0
50СП-7 7100х1000х640 8,0
60СК-8 8880х1200х760 13,2
60СП-8в 8880х1000х760 11,0
60СП-8 8100х1000х760 11,0
60СК-9 9880х1200х760 14,8
60СП-9в 9880х1000х760 12,3
60СП-9 9100х1000х760 12,3
60СКП-8 8880х1200х760 12,8
60СКП-9 9880х1200х760 14,5
60СПП-8 8880х1000х760 10,2
60СПП-9 9880х1000х760 11,6
60С3-3 3500х1000х710 4,1
60С3-4 4500х1000х720 3,5
70СК-7 7960х1200х860 13,0
70СК-8 8960х1200х860 14,9
70СК-9 9960х1200х860 16,8
70СП-7в 7960х1000х850 10,9
70СП-8в 8960х1000х860 12,5
70СП-9в 9960х1000х860 14,2
70СП-7 6880х1000х850 10,9
70СП-8 7880х1000х860 12,5
70СП-9 8880х1000х860 14,2
70СКП-8 8960х1200х860 14,4
70СКП-9 9960х1200х860 16,3
70СПП-8 8960х1000х860 11,5
70СПП-9 9960х1000х860 13,2
70С3-3 3280х1000х810 4,4
70С3-4 4280х1000х820 6,1
Блок цоколя Ц-1 1590х1600х1280 2,2
Ц-2 1610х1600х2500 5,6
Ц-3 1590х1600х1480 1,9
Ц-4 1610х1600х2260 6,5
Ц-5 1600х1600х1240 2,8
Ц-6 2630х1700х580 4,8
Ц-7 1610х1700х580 2,7
Ц-8 2020х1700х580 4,1
Ц-9 1510х1700х580 3,2
Ц-10 2530х1700х580 5,2

Блоки ригелей для автодорожных мостов с пролетами до 33 м Серия 3.503.1-102 выпуск 2

Номенклатура
Габариты (мм.)
Масса (т.)
1БР85-1 8500х1250х1000 14,6
1БР100-1 10000х1250х1000 16,9
2БР38-1-2 3750х1250х700 6,7
2БР38-2-2 3750х1250х700 6,7
2БР38-3-2 3750х1450х1000 10,5
2БР45-1-2 4500х1250х700 7,9
2БР45-2-2 4500х1250х700 7,9
2БР45-3-2 4500х1450х1000 12,3
2БР48-1-3 4750х1250х700 8,9
2БР55-1-3 5500х1250х700 10,1
2БР55-2-3 5500х1250х700 10,1
2БР55-3-3 5500х1450х1000 15,7
2БР58-1-3 5750х1250х700 10,7
2БР63-1-3 6250х1250х700 11,3
2БР63-2-3 6250х1250х700 11,3
2БР63-3-3 6250х1450х1000 18,2
2БР68-1-4 6750х1250х700 12,4
3БР38-1-1 3750х1250х700 7,1
3БР38-2-1 3750х1250х700 7,1
3БР38-3-1 3750х1450х700 7,7
3БР45-1-1 4500х1250х700 8,4
3БР45-2-1 4500х1250х700 8,4
3БР45-3-1 4500х1450х700 9,2
3БР48-1-1 4750х1250х700 9,1
3БР55-1-2 5500х1250х700 10,6
3БР55-2-2 5500х1250х700 10,6
3БР55-3-2 5500х1450х700 11,6
3БР58-1-2 5750х1250х700 11,3
3БР63-1-2 6250х1250х700 12,0
3БР63-2-2 6250х1250х700 12,0
3БР63-3-2 6250х1450х700 13,1
3БР68-1-2 6750х1250х700 13,1
4БР55-2-1 5500х1250х700 9,7
4БР55-3-1 5500х1450х700 10,5
4БР63-2-1 6250х1250х700 11,2
4БР63-3-1 6250х1250х700 12,1

Блоки ригелей и блоки шкафных стенок Серия 3.501-61

Наименование
Номенклатура
Габариты (мм.)
Масса (т.)
Блок ригеля Блок ригеля Р 5200х1600х800 15,5
Стойка ригеля С-1 3500х800х600 4,3
Стойка ригеля С-1 5300х1000х700 9,3
Стойка ригеля С-2 5500х800х600 6,4
Стойка ригеля С-2 5300х1000х700 9,3
Стойка ригеля С-3 7500х800х600 9,0
Стойка ригеля С-3 7300х1000х700 12,8
Стойка ригеля С-4 7300х1000х700 12,8
Стойка ригеля С-5 9300х1000х700 16,3
Стойка ригеля С-6 9300х1000х700 16,3
Блоки шкафных стенок Ш-1 4700х2200х2300 13,3
Ш-2 3700х2200х2300 11,0

Блоки ригелей и шкафных стенок Серия 3.503.1-104 выпуск 2

Наименование
Номенклатура
Габариты (мм.)
Масса (т.)
Блок ригеля 1БР85-1 8500х1200х1000 14,0
1БР100-1 10000х1200х1000 16,25
2БР38-1-21(22) 3750х1200х700 6,43
2БР45-1-21(22) 4500х1200х700 7,63
2БР48-1-31(32) 4750х1200х700 8,53
2БР55-1-31(32) 5500х1200х700 9,73
2БР58-1-31(32) 5750х1200х700 10,25
2БР63-1-31(32) 6250х1200х700 10,85
2БР68-1-41(42) 6750х1200х700 12,0
3БР38-1-11(12) 3750х1200х500 5,03
3БР45-1-11(12) 4500х1200х500 6,16
3БР48-1-11(12) 4750х1200х500 6,53
3БР55-1-21(22) 5500х1200х500 7,66
3БР58-1-21(22) 5750х1200х500 8,03
3БР63-1-21(22) 6250х1200х500 8,78
3БР68-1-21(22) 6750х1200х500 9,53
Блок шкафной стенки БШ 25-1-1 2480х1000х200 1,2
БШ 30-1-1 2980х1010х200 1,45
БШ 25-2-1 2480х600х200 0,7
БШ 30-2-1 2980х610х200 0,82
БШ 25-1-2 2480х9750х200 1,2
БШ 25-1-3 2480х1025х200 1,25
БШ 30-1-2 2980х1040х200 1,53
БШ 35-1-2 3480х985х200 1,68
БШ 25-2-2 2480х575х200 0,7
БШ 25-2-3 2480х625х200 0,76
БШ 30-2-2 2980х640х200 0,92
БШ 35-2-2 3480х585х200 0,98
БС 9-2 900х800х150 0,21
БШ 40-1-21 3990х1290х200 2,2
БШ 45-1-12 4490х1280х200 2,55
БШ 45-1-31 4490х1280х200 2,45
БШ 46-1-22 4690х1270х200 2,6
БШ 47-1-22 4740х1270х200 2,62
БШ 40-2-21 3990х880х200 1,41
БШ 45-2-12 4490х880х200 1,8
БШ 45-2-31 4490х880х200 1,5
БШ 46-2-22 4690х870х200 1,65
БШ 47-2-22 4740х870х200 1,68

Блоки ригелей и стенок Серия 3.503.1-95 выпуск 2-2

Наименование
Номенклатура
Габариты (мм.)
Масса (т.)
Блок ригеля промежуточной опоры Р1-П1.С 4050х1700х700 8,5
Р1-П2.С 4050х1700х700 8,5
Р2-П1.С 3100х1700х700 5,8
Р2-П2.С 3100х1700х700 5,8
Р3-П1.С 3850х1700х700 7,9
Р3-П2.С 3850х1700х700 7,9
Р4-П1.С 8050х1700х700 19,6
Р4-П2.С 8050х1700х700 19,6
Р5-П1.С 7100х1700х700 16,8
Р5-П2.С 7100х1700х700 16,8
Блок ригеля устоя Р1-У.С 4050х1400х800 6,9
Р2-У.С 3300х1700х800 4,9
Р3-У.С 4600х1700х800 6,9
Р4-У.С 8050х1700х800 16,6
Р5-У.С 7300х1700х800 14,7
Р4н-У.С 8050х1700х800 16,6
Р5н-У.С 7300х1700х800 14,7
Блок шкафной стенки Ш1-С.С 980х250х550 0,3
Ш3-С.С 1230х1700х700 0,35
Ш2-С.С 1230х550х850 0,5
Ш1-К.С 1380х1050х200 0,4
Ш2-К.С 2180х1050х200 0,8

Блоки ригелей Серия 3.503.1-94 выпуск 2

Наименование
Номенклатура
Габариты (мм.)
Масса (т.)
Блок ригеля БР 36-1р 3600х1200х500 5,03
БР 39-2р 3900х1250х500 5,73
БР 45-1р 4500х1200х500 6,38
БР 45-1п 4500х1200х500 6,38
БР 50-1п 5000х1200х500 7,13
БР 55-1п 5500х1200х500 7,88
БР 48-2р 4800х1250х500 6,95
БР 53-1р 5300х1200х500 7,4
БР 57-2р 5700х1250х500 8,35
БР 60-1п 6000х1200х500 8,45
БР 63-1р 6300х1200х500 8,9
БР 65-1п 6500х1200х500 9,2
БР 70-1п 7000х1200х500 9,95
БР 66-2р 6600х1250х500 9,58
Блок стенок БС 30.14-1н 3000х2000х500 5,88
БС 30.16-1н 3000х2200х500 6,6
БС 60.14-1н 6000х2600х500 14,08
БС 60.16-1н 6000х2800х500 15,55
БС 30.10-2 3000х1000х500 3,28
БС 30.12-2 3000х1200х500 4,03
БС 60.10-2 6000х1000х500 6,65
БС 60.12-2 6000х1200х500 8,13
БС 30.29-1в 3000х2990х500 10,33
БС 60.29-1в 6000х2990х500 20,8

Блоки ригелей Серия 3.503.1-69 выпуск 2

Номенклатура
Габариты (мм.)
Масса (т.)
1БР 85.12-11 8500х1200х1000 13,92
1БР 85.12-12 8500х1200х1000 13,92
1БР 85.16-11 8500х1600х1000 17,22
1БР 85.16-12 8500х1600х1000 17,22
1БР 100.12-11 10000х1200х1000 15,42
1БР 100.12-12 10000х1200х1000 15,42
1БР 100.16-11 10000х1600х1000 19,0
1БР 100.16-12 10000х1600х1000 19,0
2БР 38.12-11-2 3750х1200х700 6,4
2БР 38.12-12-2 3750х1200х700 6,4
2БР 38.12-21-2 3750х1200х700 6,4
2БР 38.12-22-2 3750х1200х700 6,4
2БР 45.12-11-2 4500х1200х700 7,3
2БР 45.12-12-2 4500х1200х700 7,3
2БР 45.12-21-2 4500х1200х700 7,3
2БР 45.12-22-2 4500х1200х700 7,3
2БР 55.12-11-3 5500х1200х700 9,72
2БР 55.12-12-3 5500х1200х700 9,72
2БР 55.12-21-3 5500х1200х700 9,72
2БР 55.12-22-3 5500х1200х700 9,72
2БР 63.12-11-3 6250х1200х700 10,82
2БР 63.12-12-3 6250х1200х700 10,82
2БР 63.12-21-3 6250х1200х700 10,82
2БР 63.12-22-3 6250х1200х700 10,82
2БР 45.16-31-2 4500х1600х1000 14,02
2БР 45.16-32-2 4500х1600х1000 14,02
2БР 45.16-41-2 4500х1600х1000 14,02
2БР 45.16-42-2 4500х1600х1000 14,02
2БР 55.16-31-3 5500х1600х1000 17,85
2БР 55.16-32-3 5500х1600х1000 17,85
2БР 55.16-41-3 5500х1600х1000 17,85
2БР 55.16-42-3 5500х1600х1000 17,85
2БР 63.16-31-3 6250х1600х1000 20,75
2БР 63.16-32-3 6250х1600х1000 20,75
2БР 63.16-41-3 6250х1600х1000 20,75
2БР 63.16-42-3 6250х1600х1000 20,75
2БР 38.16-11-2 3750х1600х1000 9,48
2БР 38.16-12-2 3750х1600х1000 9,48
2БР 38.16-21-2 3750х1600х1000 9,48
2БР 38.16-22-2 3750х1600х1000 9,48
2БР 45.16-11-2 4500х1600х1000 11,08
2БР 45.16-12-2 4500х1600х1000 11,08
2БР 45.16-21-2 4500х1600х1000 11,08
2БР 45.16-22-2 4500х1600х1000 11,08
2БР 55.16-11-3 5500х1600х1000 12,3
2БР 55.16-12-3 5500х1600х1000 12,3
2БР 55.16-21-3 5500х1600х1000 12,3
2БР 55.16-22-3 5500х1600х1000 12,3
2БР 63.16-11-3 6250х1600х1000 14,25
2БР 63.16-12-3 6250х1600х1000 14,25
2БР 63.16-21-3 6250х1600х1000 14,25
2БР 63.16-22-3 6250х1600х1000 14,25
3БР 55.12-21-2 5500х1200х700 10,18
3БР 55.12-22-2 5500х1200х700 10,18
3БР 55.12-31-2 5500х1200х700 11,13
3БР 55.12-32-2 5500х1200х700 11,13
3БР 55.12-41-2 5500х1200х700 11,13
3БР 55.12-42-2 5500х1200х700 11,13
3БР 63.12-21-2 6250х1200х700 11,52
3БР 63.12-22-2 6250х1200х700 11,52
3БР 63.12-31-2 6250х1200х700 12,62
3БР 63.12-32-2 6250х1200х700 12,62
3БР 63.12-41-2 6250х1200х700 12,62
3БР 63.12-42-2 6250х1200х700 12,62
3БР 55.16-21-2 5500х1600х700 13,75
3БР 55.16-22-2 5500х1600х700 13,75
3БР 55.16-31-2 5500х1600х700 13,75
3БР 55.16-32-2 5500х1600х700 13,75
3БР 55.16-41-2 5500х1600х700 13,75
3БР 55.16-42-2 5500х1600х700 13,75
3БР 63.16-21-2 6250х1600х700 15,52
3БР 63.16-22-2 6250х1600х700 15,52
3БР 63.16-31-2 6250х1600х700 15,52
3БР 63.16-41-2 6250х1600х700 15,52
3БР 63.16-42-2 6250х1600х700 15,52

Блоки ригелей Серия 3.503.1-76 выпуск 1

Номенклатура
Габариты (мм.)
Масса (т.)
1РК70-51-6 5830х1450х700 10,3
2РК70-51-6 5830х1450х700 10,3
1РП70-51-6 7360х1450х700 10,5
2РП70-51-6 7360х1450х700 10,5
1РК80-51-6 5830х1750х800 14,4
2РК80-51-6 5830х1750х800 14,4
1РП80-51-6 7360х1750х800 14,7
2РП80-51-6 7360х1750х800 14,7

Блоки шкафных и боковых стенок Серия 3.503.1-79 выпуск 2

Наименование
Номенклатура
Габариты (мм.)
Масса (т.)
Блок шкафной стенки БШ27-3-1 2690х2500х1450 3,25
БШ27-4-1 2690х2500х770 1,55
БШ27-5-1 2690х2500х920 1,95
БШ28-1-1 2790х200х1030 1,1
БШ29-3-3 2940х2500х1450 3,53
БШ29-4-3 2940х2500х770 1,73
БШ29-5-3 2940х2500х920 2,12
БШ30-1-3 3040х2500х1030 2,45
БШ30-2-3 3040х2500х1180 2,88
БШ32-3-1 3190х2500х1450 3,5
БШ32-4-1 3190х2500х770 1,68
БШ32-5-1 3190х2500х920 3,17
БШ33-1-1 3290х2500х1030 2,48
БШ33-2-1 3290х2500х1180 2,93
БШ34-3-3 3440х2500х1450 3,78
БШ34-4-3 3440х2500х770 1,85
БШ34-5-3 3440х2500х920 2,35
БШ35-1-3 3540х200х1030 2,65
БШ35-2-3 3540х200х1180 3,1
БШ25-1-5 2480х200х850 0,975
БШ25-2-5 2480х200х1000 1,175
БШ25-3-5 2480х200х1170 1,42
БШ25-4-5 2480х200х490 0,55
БШ25-5-5 2480х200х640 0,75
БШ30-1-5 2980х200х860 1,19
БШ30-2-5 2980х200х1010 1,42
БШ30-3-5 2980х200х1180 1,71
БШ30-4-5 2980х200х490 0,7
БШ30-5-5 2980х200х640 1,0
БШ25-1-6 2480х200х820 0,97
БШ25-2-6 2480х200х970 1,15
БШ25-3-6 2480х200х1140 1,4
БШ25-4-6 2480х200х470 0,55
БШ25-5-6 2480х200х620 0,75
БШ35-1-6 3480х200х830 1,37
БШ35-2-6 3480х200х980 1,63
БШ35-3-6 3480х200х1150 1,97
БШ35-4-6 3480х200х480 0,85
БШ35-5-6 3480х200х630 1,05
БШ25-1-7 2480х200х870 1,03
БШ25-2-7 2480х200х1020 1,21
БШ25-3-7 2480х200х2500 1,225
БШ25-4-7 2480х200х520 0,65
БШ25-5-7 2480х200х670 0,83
БШ30-1-7 2980х200х880 1,24
БШ30-2-7 2980х200х1030 1,47
БШ30-3-7 2980х200х1200 1,77
БШ30-4-7 2980х200х520 0,75
БШ30-5-7 2980х200х670 1,0
Блок боковой стенки БС 6-1(2) 620х150х800 0,15
БС 9-1(2) 920х150х900 0,26
БС 12-1(2) 1220х150х800 0,29

Блоки шкафных стенок Серия 3.503-23 Выпуск 10

Номенклатура
Габариты (мм.)
Масса (т.)
Ш-1 2600х200х670 0,5
Ш-2 4360х200х670 1,0
Ш-3 4800х200х670 1,1

Ригели для высоких пассажирских платформ ГОСТ 24155-80

Номенклатура
Габариты (мм.)
Масса (т.)
РС 30.3 3000х300х300 0,5
РС 45.3 4500х300х300 0,75
РС 60.3 6000х300х300 1,0
РС 75.3 7500х300х400 1,5

Блоки стенок Серия 3.503-27

Номенклатура
Габариты (мм.)
Объем, м3
Масса (т.)
БС-1-6,0 6440х1180х350 2,76 6,9
БС-1-7,5 7920х1180х350 3,38 8,5
БС-10-6,0 6440х1390х350 3,11 7,8
БС-10-7,5 7920х1390х350 3,8 9,5
БС-2-6,0 6440х1390х350 3,11 7,8
БС-2-7,5 7920х1390х350 3,8 9,5
БС-3-7,5 7920х1180х350 3,38 8,5
БС-3-9,0 9440х1180х350 4,0 10,0
БС-4-7,5 7920х1390х350 3,8 9,5
БС-4-9,0 9440х1390х350 4,5 11,3
БС-5-6,0 6440х1180х350 2,76 6,9
БС-5-7,5 7920х1180х350 3,38 8,5
БС-6-6,0 6440х1390х350 3,11 7,8
БС-6-7,5 7920х1390х350 3,8 9,5
БС-7-7,5 6440х1180х350 3,38 8,5
БС-7-9,0 9440х1180х350 4,0 10,0
БС-8-7,5 7920х1390х350 3,8 9,5
БС-8-9,0 9440х1390х350 4,5 11,3
БС-9-6,0 6440х1180х350 2,76 6,9
БС-9-7,5 7920х1180х350 3,38 8,5

Блоки шкафных стенок Серия 3.503-23 выпуск 6

Номенклатура
Габариты (мм.)
Масса (т.)
90Ш-1 4800х970х400 2,3
90Ш-2 2650х970х400 1,1
90Ш-3 4380х970х400 2,1
120Ш-1 4800х1270х400 3,2
120Ш-2 2650х1270х400 1,4
120Ш-3 4380х1270х400 2,8
210Ш-1 4800х2190х400 4,9
210Ш-2 2650х2190х400 2,3
210Ш-3 4380х2190х400 4,4

Блоки стенок Серии 3.503.1.53 выпуск 1

Наименование
Номенклатура
Габариты (мм.)
Масса (т.)
Блок стенки 50СП-5в 5880х1000х500 5,7
50СП-5 5880х1000х500 5,7
50СП-7в 7880х1000х500 8,0
50СК-5 5880х1100х500 7,0
50СК-7 7880х1100х500 9,7
60СП-9в 9880х1000х600 12,3
60СП-9 9880х1000х600 12,3
60СК-9 9880х1200х600 14,8
70СП-7в 7960х1200х700 11,0
70СП-7 7960х1200х700 11,0
70СП-9в 9960х1200х700 14,2
70СП-9 9960х1200х700 14,2
70СК-7 7960х1200х700 13,0
70СК-9 9960х1200х700 16,8
60СПП-9 9880х1000х600 11,5
60СЗ-4 4500х1000х600 5,5
60СКП-9 9880х1200х600 14,5
70СПП-9 9960х1000х700 13,2
70СЗ-4 4280х1000х700 6,0
70СКП-9 9960х1200х700 16,3
Блок шкафной стенки 90Ш-2 2650х400х840 1,1
120Ш-2 2650х400х1140 1,5
170Ш-2 2650х400х1660 1,9
90Ш-3 4380х400х840 2,1
120Ш-3 4380х400х1140 2,8
170Ш-3 4380х400х1660 3,8

Блоки стенок Серия 3.503.1-109.93 Выпуск 1

Номенклатура
Габариты (мм.)
Масса (т.)
БС 10-1,5 1000х500х350 0,35
БС 20-1,5 2000х1250х450 1,925
БС 15-1,5 1500х1250х450 1,425
БС 20-2,0 2000х1750х450 3,04
БС 15-2,0 1500х1750х450 2,28
БС 20-2,2 2000х1950х450 3,49
БС 15-2,2 1500х1950х450 2,61
БС 20-2,5 2000х2250х450 4,16
БС 15-2,5 1500х2250х450 3,125

У нас можно заказать изготовление по чертежам любых ЖБИ Сэкономьте время на поиск - сразу звоните нам!

  • Махачкала 8 (800) 301-17-45


  • Оперативная связь через мессенджеры:

    +7 921 375-40-71

Доставка по Махачкале и любым городам России.

Цена от 10000 рублей за 1 м3 ( от 5 руб за кг).



Фото эксперта
Консультация эксперта
Сергеев Александр Вячеславович - Эксперт с 25-летним стажем в сфере производства ЖБИ и изделий из бетона.
Задать вопрос эксперту
Нам доверяют:

Заказать продукцию

+7(800)444-79-35

звонок по России бесплатный


+7 (812) 565-17-28

ООО "ЖБИ и Архитектура" © 2008-2026
Политика конфиденциальности и правила обработки персональных данных, Правила обработки cookies . Информация на сайте носит исключительно информационный характер и не является публичной офертой, определяемой положениями ст. 437 Гражданского кодекса РФКопирование материалов с данного сайта разрешено только с письменного разрешения администрации сайта.
Махачкала и Дагестан

info@prom-gbi.ru
mahachkala.prom-gbi.ru