ОТГРУЗИЛИ ИЗДЕЛИЙ
с 2008 года: тонн
по чертежам тонн
по сериям и ТУ тонн
из артбетона Колонны зданий железобетонные в МахачкалеМы производители! Ассортимент - более 50 тысяч номенклатурных позиций для любых cтроительных задач. У нас можно купить железобетонные колонны с доставкой в Махачкале, Дагестану и всей России Строительство многоэтажных зданий, одно из более встречаемых направлений строительства. Помимо многоэтажного строительства, в одноэтажном и промышленном строительстве используются колонны железобетонные. Заказать колонны ЖБИ на нашем заводе вы можете написав на почту: Этот e-mail адрес защищен от спам-ботов, для его просмотра у Вас должен быть включен Javascript , наши менеджеры свяжутся с вами. Колонны ЖБИ - основной вид железобетонных изделий в строительстве, который используют для передачи нагрузки вышестоящих сооружений на грунт. Существует ГОСТ 18979-90, в котором указаны основные виды железобетонных колонн, но как правило под каждый объект изготавливаются колонны по индивидуальным чертежам. Индивидуальное изготовление связанно с тем, что на колонны монтируют различные сооружения, плиты, перегородки, и за частую выступы и откосы имеют не стандартные формы, размеры, периодичность.
Принятые условные обозначения: ГОСТ 18979-90 Серия ИИ-04-2 Серия 1.423.1-3/88 Серия 1.423-3 Серия ЖУК 99
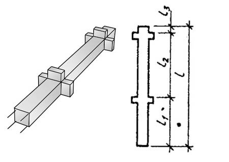
КН - колонна нижняя;
КС - колонна средняя; КВ - колонна верхняя; L - длина; B - ширина; H - высота. Колонны ЖБИ Серия 3.006.1-3/83, выпуск 1-3 Колонны ЖБИ Серия 3.507-1, выпуск 2 Выпуск 2-1. Колонны для зданий с высотой этажа 3.3 м. Серия 1.020-1/87 Выпуск 2-12. Колонны из бетона класса В30 для зданий с высотой этажа 3.3 м. Серия 1.020-1/87 Выпуск 2-14. Колонны из бетона класса В30 для зданий с высотой этажа 3.6 м. Серия 1.020-1/87 Выпуск 2-16. Колонны из бетона класса В30 для зданий с высотой этажа 4.2 м. Серия 1.020-1/87 Выпуск 2-20. Колонны из бетона класса В30 для зданий с высотами этажей 6.0; 5.4; 6.0 (7.2) м Выпуск 2-3. Колонны для зданий с высотой этажа 3.6 м. Серия 1.020-1/87 Выпуск 2-5. Колонны для зданий с высотой этажа 4.2 м. Серия 1.020-1/87 Выпуск 2-7. Колонны для зданий с высотами этажей 4.8 (6.0) и 3.6 (4.8) м. Серия 1.020-1/87 Выпуск 2-9. Колонны для зданий с высотами этажей 6.0. 5.4. 6.0 (7.2) м. Серия 1.020-1/87
Колонны железобетонные прямоугольного сечения для одноэтажных производственных зданий высотой до 9,6 м (Серия 1.423.1-3/88 Выпуск 1)
Серия 1.423.1-5/88. Колонны железобетонные прямоугольного сечения для одноэтажных производственных зданий высотой 10,8; 12,0; 13,2 и 14,4 м. без мостовых опорных кранов.
|
|||||||||||||||||||||||||||||||||||||||||||||||||||||||||||||||||||||||||||||||||||||||||||||||||||||||||||||||||||||||||||||||||||||||||||||||||||||||||||||||||||||||||||||||||||||||||||||||||||||||||||||||||||||||||||||||||||||||||||||||||||||||||||||||||||||||||||||||||||||||||||||||||||||||||||||||||||||||||||||||||||||||||||||||||||||||||||||||||||||||||||||||||||||||||||||||||||||||||||||||||||||||||||||||||||||||||||||||||||||||||||||||||||||||||||||||||||||||||||||||||||||||||||||||||||||||||||||||||||||||||||||||||||||||||||||||||||||||||||||||||||||||||||||||||||||||||||||||||||||||||||||||||||||||||||||||||||||||||||||||||||||||||||||||||||||||||||||||||||||||||||||||||||||||||||||||||||||||||||||||||||||||||||||||||||||||||||||||||||||||||||||||||||||||||||||||||||||||||||||||||||||||||||||||||||||||||||||||||||||||||||||||||||||||||||||||||||||||||||||||||||||||||||||||||||||||||||||||||||||||||||||||||||||||||||||||||||||||||||||||||||||||||||||||||||||||||||||||||||||||
| Номенклатура | Габариты (l,b,h), мм | Масса, т | Объем, м3 | ||
| 1К108-1М2 | 11700 | 500 | 400 | 5,9 | 2,3 |
| 1К108-1М3 | 11700 | 500 | 400 | 5,9 | 2,3 |
| 1К108-2М2 | 11700 | 500 | 400 | 5,9 | 2,3 |
| 1К108-2М3 | 11700 | 500 | 400 | 5,9 | 2,3 |
| 1К108-3М2 | 11700 | 500 | 400 | 5,9 | 2,3 |
| 1К108-3М3 | 11700 | 500 | 400 | 5,9 | 2,3 |
| 1К108-4М2 | 11700 | 500 | 400 | 5,9 | 2,3 |
| 1К108-4М3 | 11700 | 500 | 400 | 5,9 | 2,3 |
| 1К108-5М2 | 11700 | 500 | 400 | 5,9 | 2,3 |
| 1К108-5М3 | 11700 | 500 | 400 | 5,9 | 2,3 |
| 1К108-6М2 | 11700 | 500 | 400 | 5,9 | 2,3 |
| 1К108-6М3 | 11700 | 500 | 400 | 5,9 | 2,3 |
| 1К108-1М3-С | 11700 | 500 | 400 | 5,9 | 2,3 |
| 1К108-2М3-С | 11700 | 500 | 400 | 5,9 | 2,3 |
| 1К108-3М3-С | 11700 | 500 | 400 | 5,9 | 2,3 |
| 1К108-4М3-С | 11700 | 500 | 400 | 5,9 | 2,3 |
| 1К108-5М3-С | 11700 | 500 | 400 | 5,9 | 2,3 |
| 1К108-6М3-С | 11700 | 500 | 400 | 5,9 | 2,3 |
| 1К108-7М3-С | 11700 | 500 | 400 | 5,9 | 2,3 |
| 1К108-8М3-С | 11700 | 500 | 400 | 5,9 | 2,3 |
| 2К108-1М3 | 11850 | 700 | 400 | 8,3 | 3,3 |
| 2К108-2М3 | 11850 | 700 | 400 | 8,3 | 3,3 |
| 2К108-3М3 | 11850 | 700 | 400 | 8,3 | 3,3 |
| 2К108-3М4 | 11850 | 700 | 400 | 8,3 | 3,3 |
| 2К108-4М3 | 11850 | 700 | 400 | 8,3 | 3,3 |
| 2К108-4М4 | 11850 | 700 | 400 | 8,3 | 3,3 |
| 2К108-5М3 | 11850 | 700 | 400 | 8,3 | 3,3 |
| 2К108-5М4 | 11850 | 700 | 400 | 8,3 | 3,3 |
| 2К108-6М3 | 11850 | 700 | 400 | 8,3 | 3,3 |
| 2К108-6М4 | 11850 | 700 | 400 | 8,3 | 3,3 |
| 2К108-7М3 | 11850 | 700 | 400 | 8,3 | 3,3 |
| 2К108-7М4 | 11850 | 700 | 400 | 8,3 | 3,3 |
| 2К108-8М3 | 11850 | 700 | 400 | 8,3 | 3,3 |
| 2К108-8М4 | 11850 | 700 | 400 | 8,3 | 3,3 |
| 2К108-1М3-С | 11850 | 700 | 400 | 8,3 | 3,3 |
| 2К108-2М3-С | 11850 | 700 | 400 | 8,3 | 3,3 |
| 2К108-2М4-С | 11850 | 700 | 400 | 8,3 | 3,3 |
| 2К108-3М3-С | 11850 | 700 | 400 | 8,3 | 3,3 |
| 2К108-3М4-С | 11850 | 700 | 400 | 8,3 | 3,3 |
| 2К108-4М3-С | 11850 | 700 | 400 | 8,3 | 3,3 |
| 2К108-4М4-С | 11850 | 700 | 400 | 8,3 | 3,3 |
| 2К108-5М3-С | 11850 | 700 | 400 | 8,3 | 3,3 |
| 2К108-5М4-С | 11850 | 700 | 400 | 8,3 | 3,3 |
| 2К108-6М4-С | 11850 | 700 | 400 | 8,3 | 3,3 |
| 2К108-7М4-С | 11850 | 700 | 400 | 8,3 | 3,3 |
| 3К108-1М3 | 11250 | 700 | 400 | 8,0 | 3,2 |
| 3К108-2М3 | 11250 | 700 | 400 | 8,0 | 3,2 |
| 3К108-3М3 | 11250 | 700 | 400 | 8,0 | 3,2 |
| 3К108-3М4 | 11250 | 700 | 400 | 8,0 | 3,2 |
| 3К108-4М3 | 11250 | 700 | 400 | 8,0 | 3,2 |
| 3К108-4М4 | 11250 | 700 | 400 | 8,0 | 3,2 |
| 3К108-5М3 | 11250 | 700 | 400 | 8,0 | 3,2 |
| 3К108-5М4 | 11250 | 700 | 400 | 8,0 | 3,2 |
| 3К108-6М3 | 11250 | 700 | 400 | 8,0 | 3,2 |
| 3К108-6М4 | 11250 | 700 | 400 | 8,0 | 3,2 |
| 3К108-1М4-С | 11250 | 700 | 400 | 8,0 | 3,2 |
| 3К108-2М4-С | 11250 | 700 | 400 | 8,0 | 3,2 |
| 1К120-1М2 | 12900 | 500 | 400 | 6,5 | 2,6 |
| 1К120-1М3 | 12900 | 500 | 400 | 6,5 | 2,6 |
| 1К120-1М4 | 12900 | 500 | 400 | 6,5 | 2,6 |
| 1К120-2М2 | 12900 | 500 | 400 | 6,5 | 2,6 |
| 1К120-2М3 | 12900 | 500 | 400 | 6,5 | 2,6 |
| 1К120-2М4 | 12900 | 500 | 400 | 6,5 | 2,6 |
| 1К120-3М2 | 12900 | 500 | 400 | 6,5 | 2,6 |
| 1К120-3М3 | 12900 | 500 | 400 | 6,5 | 2,6 |
| 1К120-3М4 | 12900 | 500 | 400 | 6,5 | 2,6 |
| 1К120-4М2 | 12900 | 500 | 400 | 6,5 | 2,6 |
| 1К120-4М3 | 12900 | 500 | 400 | 6,5 | 2,6 |
| 1К120-4М4 | 12900 | 500 | 400 | 6,5 | 2,6 |
| 1К120-5М2 | 12900 | 500 | 400 | 6,5 | 2,6 |
| 1К120-5М3 | 12900 | 500 | 400 | 6,5 | 2,6 |
| 1К120-5М4 | 12900 | 500 | 400 | 6,5 | 2,6 |
| 1К120-6М3 | 12900 | 500 | 400 | 6,5 | 2,6 |
| 1К120-6М4 | 12900 | 500 | 400 | 6,5 | 2,6 |
| 1К120-7М4 | 12900 | 500 | 400 | 6,5 | 2,6 |
| 1К120-8М4 | 12900 | 500 | 400 | 6,5 | 2,6 |
| 1К120-1М3-С | 12900 | 500 | 400 | 6,5 | 2,6 |
| 1К120-1М4-С | 12900 | 500 | 400 | 6,5 | 2,6 |
| 1К120-2М3-С | 12900 | 500 | 400 | 6,5 | 2,6 |
| 1К120-2М4-С | 12900 | 500 | 400 | 6,5 | 2,6 |
| 1К120-3М3-С | 12900 | 500 | 400 | 6,5 | 2,6 |
| 1К120-3М4-С | 12900 | 500 | 400 | 6,5 | 2,6 |
| 1К120-4М3-С | 12900 | 500 | 400 | 6,5 | 2,6 |
| 1К120-4М4-С | 12900 | 500 | 400 | 6,5 | 2,6 |
| 1К120-5М3-С | 12900 | 500 | 400 | 6,5 | 2,6 |
| 1К120-5М4-С | 12900 | 500 | 400 | 6,5 | 2,6 |
| 1К120-6М3-С | 12900 | 500 | 400 | 6,5 | 2,6 |
| 1К120-6М4-С | 12900 | 500 | 400 | 6,5 | 2,6 |
| 1К120-7М3-С | 12900 | 500 | 400 | 6,5 | 2,6 |
| 1К120-7М4-С | 12900 | 500 | 400 | 6,5 | 2,6 |
| 1К120-8М3-С | 12900 | 500 | 400 | 6,5 | 2,6 |
| 1К120-8М4-С | 12900 | 500 | 400 | 6,5 | 2,6 |
| 2К120-1М3 | 13050 | 700 | 400 | 9,2 | 3,7 |
| 2К120-1М4 | 13050 | 700 | 400 | 9,2 | 3,7 |
| 2К120-2М3 | 13050 | 700 | 400 | 9,2 | 3,7 |
| 2К120-2М4 | 13050 | 700 | 400 | 9,2 | 3,7 |
| 2К120-3М3 | 13050 | 700 | 400 | 9,2 | 3,7 |
| 2К120-3М4 | 13050 | 700 | 400 | 9,2 | 3,7 |
| 2К120-4М3 | 13050 | 700 | 400 | 9,2 | 3,7 |
| 2К120-4М4 | 13050 | 700 | 400 | 9,2 | 3,7 |
| 2К120-5М3 | 13050 | 700 | 400 | 9,2 | 3,7 |
| 2К120-5М4 | 13050 | 700 | 400 | 9,2 | 3,7 |
| 2К120-6М3 | 13050 | 700 | 400 | 9,2 | 3,7 |
| 2К120-6М4 | 13050 | 700 | 400 | 9,2 | 3,7 |
| 2К120-7М4 | 13050 | 700 | 400 | 9,2 | 3,7 |
| 2К120-7М5 | 13050 | 700 | 400 | 9,2 | 3,7 |
| 2К120-8М4 | 13050 | 700 | 400 | 9,2 | 3,7 |
| 2К120-8М5 | 13050 | 700 | 400 | 9,2 | 3,7 |
| 2К120-1М3-С | 13050 | 700 | 400 | 9,2 | 3,7 |
| 2К120-1М4-С | 13050 | 700 | 400 | 9,2 | 3,7 |
| 2К120-2М3-С | 13050 | 700 | 400 | 9,2 | 3,7 |
| 2К120-2М4-С | 13050 | 700 | 400 | 9,2 | 3,7 |
| 2К120-3М3-С | 13050 | 700 | 400 | 9,2 | 3,7 |
| 2К120-3М4-С | 13050 | 700 | 400 | 9,2 | 3,7 |
| 2К120-4М3-С | 13050 | 700 | 400 | 9,2 | 3,7 |
| 2К120-4М4-С | 13050 | 700 | 400 | 9,2 | 3,7 |
| 2К120-5М3-С | 13050 | 700 | 400 | 9,2 | 3,7 |
| 2К120-5М4-С | 13050 | 700 | 400 | 9,2 | 3,7 |
| 2К120-5М5-С | 13050 | 700 | 400 | 9,2 | 3,7 |
| 2К120-6М3-С | 13050 | 700 | 400 | 9,2 | 3,7 |
| 2К120-6М4-С | 13050 | 700 | 400 | 9,2 | 3,7 |
| 2К120-6М5-С | 13050 | 700 | 400 | 9,2 | 3,7 |
| 3К120-1М3 | 12450 | 700 | 400 | 8,8 | 3,5 |
| 3К120-1М4 | 12450 | 700 | 400 | 8,8 | 3,5 |
| 3К120-2М3 | 12450 | 700 | 400 | 8,8 | 3,5 |
| 3К120-2М4 | 12450 | 700 | 400 | 8,8 | 3,5 |
| 3К120-3М3 | 12450 | 700 | 400 | 8,8 | 3,5 |
| 3К120-3М4 | 12450 | 700 | 400 | 8,8 | 3,5 |
| 3К120-4М3 | 12450 | 700 | 400 | 8,8 | 3,5 |
| 3К120-4М4 | 12450 | 700 | 400 | 8,8 | 3,5 |
| 3К120-5М3 | 12450 | 700 | 400 | 8,8 | 3,5 |
| 3К120-5М4 | 12450 | 700 | 400 | 8,8 | 3,5 |
| 3К120-5М5 | 12450 | 700 | 400 | 8,8 | 3,5 |
| 3К120-6М3 | 12450 | 700 | 400 | 8,8 | 3,5 |
| 3К120-6М4 | 12450 | 700 | 400 | 8,8 | 3,5 |
| 3К120-6М5 | 12450 | 700 | 400 | 8,8 | 3,5 |
| 3К120-7М3 | 12450 | 700 | 400 | 8,8 | 3,5 |
| 3К120-7М4 | 12450 | 700 | 400 | 8,8 | 3,5 |
| 3К120-7М5 | 12450 | 700 | 400 | 8,8 | 3,5 |
| 3К120-1М4-С | 12450 | 700 | 400 | 8,8 | 3,5 |
| 3К120-1М5-С | 12450 | 700 | 400 | 8,8 | 3,5 |
| 3К120-2М4-С | 12450 | 700 | 400 | 8,8 | 3,5 |
| 3К120-2М5-С | 12450 | 700 | 400 | 8,8 | 3,5 |
| 1К132-1М3 | 14100 | 600 | 400 | 8,5 | 3,4 |
| 1К132-2М3 | 14100 | 600 | 400 | 8,5 | 3,4 |
| 1К132-3М3 | 14100 | 600 | 400 | 8,5 | 3,4 |
| 1К132-4М3 | 14100 | 600 | 400 | 8,5 | 3,4 |
| 1К132-5М3 | 14100 | 600 | 400 | 8,5 | 3,4 |
| 1К132-6М3 | 14100 | 600 | 400 | 8,5 | 3,4 |
| 1К132-1М3-С | 14100 | 600 | 400 | 8,5 | 3,4 |
| 1К132-2М3-С | 14100 | 600 | 400 | 8,5 | 3,4 |
| 1К132-3М3-С | 14100 | 600 | 400 | 8,5 | 3,4 |
| 1К132-4М3-С | 14100 | 600 | 400 | 8,5 | 3,4 |
| 2К132-1М3 | 14250 | 800 | 400 | 11,4 | 4,6 |
| 2К132-2М3 | 14250 | 800 | 400 | 11,4 | 4,6 |
| 2К132-3М3 | 14250 | 800 | 400 | 11,4 | 4,6 |
| 2К132-4М3 | 14250 | 800 | 400 | 11,4 | 4,6 |
| 2К132-5М4 | 14250 | 800 | 400 | 11,4 | 4,6 |
| 2К132-6М4 | 14250 | 800 | 400 | 11,4 | 4,6 |
| 2К132-7М4 | 14250 | 800 | 400 | 11,4 | 4,6 |
| 2К132-8М4 | 14250 | 800 | 400 | 11,4 | 4,6 |
| 2К132-1М3-С | 14250 | 800 | 400 | 11,4 | 4,6 |
| 2К132-2М4-С | 14250 | 800 | 400 | 11,4 | 4,6 |
| 2К132-3М3-С | 14250 | 800 | 400 | 11,4 | 4,6 |
| 2К132-4М3-С | 14250 | 800 | 400 | 11,4 | 4,6 |
| 2К132-4М4-С | 14250 | 800 | 400 | 11,4 | 4,6 |
| 2К132-5М3-С | 14250 | 800 | 400 | 11,4 | 4,6 |
| 2К132-5М4-С | 14250 | 800 | 400 | 11,4 | 4,6 |
| 2К132-6М4-С | 14250 | 800 | 400 | 11,4 | 4,6 |
| 3К132-1М3 | 13650 | 800 | 400 | 11,0 | 4,4 |
| 3К132-2М4 | 13650 | 800 | 400 | 11,0 | 4,4 |
| 3К132-3М4 | 13650 | 800 | 400 | 11,0 | 4,4 |
| 3К132-4М4 | 13650 | 800 | 400 | 11,0 | 4,4 |
| 3К132-1М4-С | 13650 | 800 | 400 | 11,0 | 4,4 |
| 3К132-2М4-С | 13650 | 800 | 400 | 11,0 | 4,4 |
| 1К144-1М3 | 15300 | 600 | 400 | 9,2 | 3,7 |
| 1К144-2М3 | 15300 | 600 | 400 | 9,2 | 3,7 |
| 1К144-2М4 | 15300 | 600 | 400 | 9,2 | 3,7 |
| 1К144-3М3 | 15300 | 600 | 400 | 9,2 | 3,7 |
| 1К144-3М4 | 15300 | 600 | 400 | 9,2 | 3,7 |
| 1К144-4М3 | 15300 | 600 | 400 | 9,2 | 3,7 |
| 1К144-4М4 | 15300 | 600 | 400 | 9,2 | 3,7 |
| 1К144-4М5 | 15300 | 600 | 400 | 9,2 | 3,7 |
| 1К144-5М4 | 15300 | 600 | 400 | 9,2 | 3,7 |
| 1К144-5М5 | 15300 | 600 | 400 | 9,2 | 3,7 |
| 1К144-6М4 | 15300 | 600 | 400 | 9,2 | 3,7 |
| 1К144-6М5 | 15300 | 600 | 400 | 9,2 | 3,7 |
| 1К144-1М3-С | 15300 | 600 | 400 | 9,2 | 3,7 |
| 1К144-1М4-С | 15300 | 600 | 400 | 9,2 | 3,7 |
| 1К144-2М4-С | 15300 | 600 | 400 | 9,2 | 3,7 |
| 1К144-2М5-С | 15300 | 600 | 400 | 9,2 | 3,7 |
| 1К144-3М4-С | 15300 | 600 | 400 | 9,2 | 3,7 |
| 1К144-3М5-С | 15300 | 600 | 400 | 9,2 | 3,7 |
| 1К144-4М4-С | 15300 | 600 | 400 | 9,2 | 3,7 |
| 1К144-4М5-С | 15300 | 600 | 400 | 9,2 | 3,7 |
| 2К144-1М3 | 15450 | 800 | 400 | 12,4 | 5,0 |
| 2К144-2М3 | 15450 | 800 | 400 | 12,4 | 5,0 |
| 2К144-3М3 | 15450 | 800 | 400 | 12,4 | 5,0 |
| 2К144-4М3 | 15450 | 800 | 400 | 12,4 | 5,0 |
| 2К144-4М4 | 15450 | 800 | 400 | 12,4 | 5,0 |
| 2К144-5М3 | 15450 | 800 | 400 | 12,4 | 5,0 |
| 2К144-5М4 | 15450 | 800 | 400 | 12,4 | 5,0 |
| 2К144-5М5 | 15450 | 800 | 400 | 12,4 | 5,0 |
| 2К144-6М3 | 15450 | 800 | 400 | 12,4 | 5,0 |
| 2К144-6М4 | 15450 | 800 | 400 | 12,4 | 5,0 |
| 2К144-6М5 | 15450 | 800 | 400 | 12,4 | 5,0 |
| 2К144-7М3 | 15450 | 800 | 400 | 12,4 | 5,0 |
| 2К144-7М4 | 15450 | 800 | 400 | 12,4 | 5,0 |
| 2К144-7М5 | 15450 | 800 | 400 | 12,4 | 5,0 |
| 2К144-8М4 | 15450 | 800 | 400 | 12,4 | 5,0 |
| 2К144-8М5 | 15450 | 800 | 400 | 12,4 | 5,0 |
| 2К144-1М3-С | 15450 | 800 | 400 | 12,4 | 5,0 |
| 2К144-1М4-С | 15450 | 800 | 400 | 12,4 | 5,0 |
| 2К144-2М3-С | 15450 | 800 | 400 | 12,4 | 5,0 |
| 2К144-2М4-С | 15450 | 800 | 400 | 12,4 | 5,0 |
| 2К144-3М3-С | 15450 | 800 | 400 | 12,4 | 5,0 |
| 2К144-3М4-С | 15450 | 800 | 400 | 12,4 | 5,0 |
| 2К144-4М3-С | 15450 | 800 | 400 | 12,4 | 5,0 |
| 2К144-4М4-С | 15450 | 800 | 400 | 12,4 | 5,0 |
| 2К144-4М5-С | 15450 | 800 | 400 | 12,4 | 5,0 |
| 2К144-5М3-С | 15450 | 800 | 400 | 12,4 | 5,0 |
| 2К144-5М4-С | 15450 | 800 | 400 | 12,4 | 5,0 |
| 2К144-5М5-С | 15450 | 800 | 400 | 12,4 | 5,0 |
| 2К144-6М3-С | 15450 | 800 | 400 | 12,4 | 5,0 |
| 2К144-6М4-С | 15450 | 800 | 400 | 12,4 | 5,0 |
| 2К144-6М5-С | 15450 | 800 | 400 | 12,4 | 5,0 |
| 3К144-1М4 | 14850 | 800 | 400 | 12,0 | 4,8 |
| 3К144-2М4 | 14850 | 800 | 400 | 12,0 | 4,8 |
| 3К144-3М4 | 14850 | 800 | 400 | 12,0 | 4,8 |
| 3К144-4М4 | 14850 | 800 | 400 | 12,0 | 4,8 |
| 3К144-1М4-С | 14850 | 800 | 400 | 12,0 | 4,8 |
| 3К144-2М4-С | 14850 | 800 | 400 | 12,0 | 4,8 |
Серия 1.423.1-5/88. Колонны железобетонные прямоугольного сечения для одноэтажных производственных зданий высотой 10,8; 12,0; 13,2 и 14,4м. без мостовых опорных кранов.
Выпуск 1-1. Колонны для зданий с промежуточными высотами.
| Номенклатура | Габариты (l,b,h), мм | Масса, т | Объем, м3 | ||
| 1К102-1М2 | 11100 | 500 | 400 | 5,6 | 2,2 |
| 1К102-1М3 | 11100 | 500 | 400 | 5,6 | 2,2 |
| 1К102-2М2 | 11100 | 500 | 400 | 5,6 | 2,2 |
| 1К102-2М3 | 11100 | 500 | 400 | 5,6 | 2,2 |
| 1К102-3М2 | 11100 | 500 | 400 | 5,6 | 2,2 |
| 1К102-3М3 | 11100 | 500 | 400 | 5,6 | 2,2 |
| 1К102-4М2 | 11100 | 500 | 400 | 5,6 | 2,2 |
| 1К102-4М3 | 11100 | 500 | 400 | 5,6 | 2,2 |
| 1К102-5М2 | 11100 | 500 | 400 | 5,6 | 2,2 |
| 1К102-5М3 | 11100 | 500 | 400 | 5,6 | 2,2 |
| 1К102-6М2 | 11100 | 500 | 400 | 5,6 | 2,2 |
| 1К102-6М3 | 11100 | 500 | 400 | 5,6 | 2,2 |
| 2К102-1М3 | 11250 | 700 | 400 | 7,9 | 3,2 |
| 2К102-2М3 | 11250 | 700 | 400 | 7,9 | 3,2 |
| 2К102-3М3 | 11250 | 700 | 400 | 7,9 | 3,2 |
| 2К102-3М4 | 11250 | 700 | 400 | 7,9 | 3,2 |
| 2К102-4М3 | 11250 | 700 | 400 | 7,9 | 3,2 |
| 2К102-4М4 | 11250 | 700 | 400 | 7,9 | 3,2 |
| 2К102-5М3 | 11250 | 700 | 400 | 7,9 | 3,2 |
| 2К102-5М4 | 11250 | 700 | 400 | 7,9 | 3,2 |
| 2К102-6М3 | 11250 | 700 | 400 | 7,9 | 3,2 |
| 2К102-6М4 | 11250 | 700 | 400 | 7,9 | 3,2 |
| 2К102-7М3 | 11250 | 700 | 400 | 7,9 | 3,2 |
| 2К102-7М4 | 11250 | 700 | 400 | 7,9 | 3,2 |
| 2К102-8М3 | 11250 | 700 | 400 | 7,9 | 3,2 |
| 2К102-8М4 | 11250 | 700 | 400 | 7,9 | 3,2 |
| 3К102-1М3 | 10650 | 700 | 400 | 7,5 | 3,0 |
| 3К102-2М3 | 10650 | 700 | 400 | 7,5 | 3,0 |
| 3К102-3М3 | 10650 | 700 | 400 | 7,5 | 3,0 |
| 3К102-3М4 | 10650 | 700 | 400 | 7,5 | 3,0 |
| 3К102-4М3 | 10650 | 700 | 400 | 7,5 | 3,0 |
| 3К102-4М4 | 10650 | 700 | 400 | 7,5 | 3,0 |
| 3К102-5М3 | 10650 | 700 | 400 | 7,5 | 3,0 |
| 3К102-5М4 | 10650 | 700 | 400 | 7,5 | 3,0 |
| 3К102-6М3 | 10650 | 700 | 400 | 7,5 | 3,0 |
| 3К102-6М4 | 10650 | 700 | 400 | 7,5 | 3,0 |
| 1К114-1М2 | 12300 | 500 | 400 | 6,2 | 2,5 |
| 1К114-1М3 | 12300 | 500 | 400 | 6,2 | 2,5 |
| 1К114-1М4 | 12300 | 500 | 400 | 6,2 | 2,5 |
| 1К114-2М2 | 12300 | 500 | 400 | 6,2 | 2,5 |
| 1К114-2М3 | 12300 | 500 | 400 | 6,2 | 2,5 |
| 1К114-2М4 | 12300 | 500 | 400 | 6,2 | 2,5 |
| 1К114-3М2 | 12300 | 500 | 400 | 6,2 | 2,5 |
| 1К114-3М3 | 12300 | 500 | 400 | 6,2 | 2,5 |
| 1К114-3М4 | 12300 | 500 | 400 | 6,2 | 2,5 |
| 1К114-4М2 | 12300 | 500 | 400 | 6,2 | 2,5 |
| 1К114-4М3 | 12300 | 500 | 400 | 6,2 | 2,5 |
| 1К114-4М4 | 12300 | 500 | 400 | 6,2 | 2,5 |
| 1К114-5М2 | 12300 | 500 | 400 | 6,2 | 2,5 |
| 1К114-5М3 | 12300 | 500 | 400 | 6,2 | 2,5 |
| 1К114-5М4 | 12300 | 500 | 400 | 6,2 | 2,5 |
| 1К114-6М3 | 12300 | 500 | 400 | 6,2 | 2,5 |
| 1К114-6М4 | 12300 | 500 | 400 | 6,2 | 2,5 |
| 1К114-7М4 | 12300 | 500 | 400 | 6,2 | 2,5 |
| 1К114-8М4 | 12300 | 500 | 400 | 6,2 | 2,5 |
| 2К114-1М3 | 12450 | 700 | 400 | 8,7 | 3,5 |
| 2К114-1М4 | 12450 | 700 | 400 | 8,7 | 3,5 |
| 2К114-2М3 | 12450 | 700 | 400 | 8,7 | 3,5 |
| 2К114-2М4 | 12450 | 700 | 400 | 8,7 | 3,5 |
| 2К114-3М3 | 12450 | 700 | 400 | 8,7 | 3,5 |
| 2К114-3М4 | 12450 | 700 | 400 | 8,7 | 3,5 |
| 2К114-4М3 | 12450 | 700 | 400 | 8,7 | 3,5 |
| 2К114-4М4 | 12450 | 700 | 400 | 8,7 | 3,5 |
| 2К114-5М3 | 12450 | 700 | 400 | 8,7 | 3,5 |
| 2К114-5М4 | 12450 | 700 | 400 | 8,7 | 3,5 |
| 2К114-6М3 | 12450 | 700 | 400 | 8,7 | 3,5 |
| 2К114-6М4 | 12450 | 700 | 400 | 8,7 | 3,5 |
| 2К114-7М4 | 12450 | 700 | 400 | 8,7 | 3,5 |
| 2К114-7М5 | 12450 | 700 | 400 | 8,7 | 3,5 |
| 2К114-8М4 | 12450 | 700 | 400 | 8,7 | 3,5 |
| 2К114-8М5 | 12450 | 700 | 400 | 8,7 | 3,5 |
| 3К114-1М3 | 11850 | 700 | 400 | 8,4 | 3,3 |
| 3К114-1М4 | 11850 | 700 | 400 | 8,4 | 3,3 |
| 3К114-2М3 | 11850 | 700 | 400 | 8,4 | 3,3 |
| 3К114-2М4 | 11850 | 700 | 400 | 8,4 | 3,3 |
| 3К114-3М3 | 11850 | 700 | 400 | 8,4 | 3,3 |
| 3К114-3М4 | 11850 | 700 | 400 | 8,4 | 3,3 |
| 3К114-4М3 | 11850 | 700 | 400 | 8,4 | 3,3 |
| 3К114-4М4 | 11850 | 700 | 400 | 8,4 | 3,3 |
| 3К114-5М3 | 11850 | 700 | 400 | 8,4 | 3,3 |
| 3К114-5М4 | 11850 | 700 | 400 | 8,4 | 3,3 |
| 3К114-5М5 | 11850 | 700 | 400 | 8,4 | 3,3 |
| 3К114-6М3 | 11850 | 700 | 400 | 8,4 | 3,3 |
| 3К114-6М4 | 11850 | 700 | 400 | 8,4 | 3,3 |
| 3К114-6М5 | 11850 | 700 | 400 | 8,4 | 3,3 |
| 3К114-7М3 | 11850 | 700 | 400 | 8,4 | 3,3 |
| 3К114-7М4 | 11850 | 700 | 400 | 8,4 | 3,3 |
| 3К114-7М5 | 11850 | 700 | 400 | 8,4 | 3,3 |
| 1К126-1М3 | 13500 | 600 | 400 | 8,1 | 3,2 |
| 1К126-2М3 | 13500 | 600 | 400 | 8,1 | 3,2 |
| 1К126-3М3 | 13500 | 600 | 400 | 8,1 | 3,2 |
| 1К126-4М3 | 13500 | 600 | 400 | 8,1 | 3,2 |
| 1К126-5М3 | 13500 | 600 | 400 | 8,1 | 3,2 |
| 1К126-6М3 | 13500 | 600 | 400 | 8,1 | 3,2 |
| 2К126-1М3 | 13650 | 800 | 400 | 10,9 | 4,4 |
| 2К126-2М3 | 13650 | 800 | 400 | 10,9 | 4,4 |
| 2К126-3М3 | 13650 | 800 | 400 | 10,9 | 4,4 |
| 2К126-4М3 | 13650 | 800 | 400 | 10,9 | 4,4 |
| 2К126-5М4 | 13650 | 800 | 400 | 10,9 | 4,4 |
| 2К126-6М4 | 13650 | 800 | 400 | 10,9 | 4,4 |
| 2К126-7М4 | 13650 | 800 | 400 | 10,9 | 4,4 |
| 2К126-8М4 | 13650 | 800 | 400 | 10,9 | 4,4 |
| 3К126-1М3 | 13050 | 800 | 400 | 10,5 | 4,2 |
| 3К126-2М4 | 13050 | 800 | 400 | 10,5 | 4,2 |
| 3К126-3М4 | 13050 | 800 | 400 | 10,5 | 4,2 |
| 3К126-4М4 | 13050 | 800 | 400 | 10,5 | 4,2 |
| 1К138-1М3 | 14700 | 600 | 400 | 8,8 | 3,5 |
| 1К138-2М3 | 14700 | 600 | 400 | 8,8 | 3,5 |
| 1К138-2М4 | 14700 | 600 | 400 | 8,8 | 3,5 |
| 1К138-3М3 | 14700 | 600 | 400 | 8,8 | 3,5 |
| 1К138-3М4 | 14700 | 600 | 400 | 8,8 | 3,5 |
| 1К138-4М3 | 14700 | 600 | 400 | 8,8 | 3,5 |
| 1К138-4М4 | 14700 | 600 | 400 | 8,8 | 3,5 |
| 1К138-4М5 | 14700 | 600 | 400 | 8,8 | 3,5 |
| 1К138-5М4 | 14700 | 600 | 400 | 8,8 | 3,5 |
| 1К138-5М5 | 14700 | 600 | 400 | 8,8 | 3,5 |
| 1К138-6М4 | 14700 | 600 | 400 | 8,8 | 3,5 |
| 1К138-6М5 | 14700 | 600 | 400 | 8,8 | 3,5 |
| 2К138-1М3 | 14850 | 800 | 400 | 11,9 | 4,8 |
| 2К138-2М3 | 14850 | 800 | 400 | 11,9 | 4,8 |
| 2К138-3М3 | 14850 | 800 | 400 | 11,9 | 4,8 |
| 2К138-4М3 | 14850 | 800 | 400 | 11,9 | 4,8 |
| 2К138-4М4 | 14850 | 800 | 400 | 11,9 | 4,8 |
| 2К138-5М3 | 14850 | 800 | 400 | 11,9 | 4,8 |
| 2К138-5М4 | 14850 | 800 | 400 | 11,9 | 4,8 |
| 2К138-5М5 | 14850 | 800 | 400 | 11,9 | 4,8 |
| 2К138-6М3 | 14850 | 800 | 400 | 11,9 | 4,8 |
| 2К138-6М4 | 14850 | 800 | 400 | 11,9 | 4,8 |
| 2К138-6М5 | 14850 | 800 | 400 | 11,9 | 4,8 |
| 2К138-7М3 | 14850 | 800 | 400 | 11,9 | 4,8 |
| 2К138-7М4 | 14850 | 800 | 400 | 11,9 | 4,8 |
| 2К138-7М5 | 14850 | 800 | 400 | 11,9 | 4,8 |
| 2К138-8М4 | 14850 | 800 | 400 | 11,9 | 4,8 |
| 2К138-8М5 | 14850 | 800 | 400 | 11,9 | 4,8 |
| 3К138-1М4 | 14250 | 800 | 400 | 11,5 | 4,6 |
| 3К138-2М4 | 14250 | 800 | 400 | 11,5 | 4,6 |
| 3К138-3М4 | 14250 | 800 | 400 | 11,5 | 4,6 |
| 3К138-4М4 | 14250 | 800 | 400 | 11,5 | 4,6 |
Колонны нижние ГОСТ 18979-90
| Номенклатура | Габариты (l,b,h), мм | Масса, т | ||
| КН 4-428-63 | 400 | 400 | 3320 | 1,524 |
| КН 4-428-63у | 400 | 400 | 3320 | 1,524 |
| КН 4-428-63уу | 400 | 400 | 3320 | 1,524 |
| КН 4-428-48 | 400 | 400 | 3320 | 1,525 |
| КН 4-428-48у | 400 | 400 | 3320 | 1,525 |
| КН 4-428-48-1 | 400 | 400 | 3320 | 1,525 |
| КН 4-428-48-1у | 400 | 400 | 3320 | 1,525 |
| КН 4-428-36 | 400 | 400 | 3320 | 1,525 |
| КН 3-428-48 | 400 | 400 | 3320 | 1,484 |
| КН 3-428-36 | 400 | 400 | 3320 | 1,484 |
Колонны средние ГОСТ 18979-90
| Номенклатура | Габариты (l,b,h), мм | Масса, т | ||
| КС 4-436-60 | 400 | 400 | 3590 | 1,57 |
| КС 4-436-60у | 400 | 400 | 3590 | 1,57 |
| КС 4-436-60-3уу | 400 | 400 | 3590 | 1,57 |
| КС 4-436-60-1у | 400 | 400 | 3590 | 1,57 |
| КС 4-436-48 | 400 | 400 | 3590 | 1,57 |
| КС 4-436-48-3у | 400 | 400 | 3590 | 1,57 |
| КС 4-436-48-1 | 400 | 400 | 3590 | 1,57 |
| КС 4-436-48-1у | 400 | 400 | 3590 | 1,57 |
| КС 4-436-48-2 | 400 | 400 | 3590 | 1,57 |
| КС 4-436-48-2у | 400 | 400 | 3590 | 1,57 |
| КС 4-436-36 | 400 | 400 | 3590 | 1,57 |
| КС 3-436-48-1 | 400 | 400 | 3590 | 1,52 |
| КС 3-436-36-1 | 400 | 400 | 3590 | 1,52 |
| КС 4-460-54 | 400 | 400 | 5990 | 2,65 |
| КС 4-460-54у | 400 | 400 | 5990 | 2,65 |
| КС 4-460-54-1у | 400 | 400 | 5990 | 2,65 |
| КС 3-460-54-3у | 400 | 400 | 5990 | 2,65 |
| КС 4-460-48 | 400 | 400 | 5990 | 2,65 |
| КС 4-460-48у | 400 | 400 | 5990 | 2,65 |
| КС 4-460-48-1у | 400 | 400 | 5990 | 2,65 |
| КС 4-460-48-2у | 400 | 400 | 5990 | 2,65 |
| КС 3-460-48-3 | 400 | 400 | 5990 | 2,575 |
| КС 3-460-48-3у | 400 | 400 | 5990 | 2,575 |
| КС 4-460-42 | 400 | 400 | 5990 | 2,65 |
| КС 4-460-42у | 400 | 400 | 5990 | 2,65 |
| КС 4-460-42уу | 400 | 400 | 5990 | 2,65 |
| КС 4-460-42-1 | 400 | 400 | 5990 | 2,65 |
| КС 4-460-42-1у | 400 | 400 | 5990 | 2,65 |
| КС 4-460-42-2 | 400 | 400 | 5990 | 2,65 |
| КС 4-460-42-2у | 400 | 400 | 5990 | 2,65 |
| КС 3-460-42-3 | 400 | 400 | 5990 | 2,575 |
| КС 3-460-42-3у | 400 | 400 | 5990 | 2,575 |
| КС 3-460-42-3у* | 400 | 400 | 5990 | 2,575 |
| КС 4-460-36 | 400 | 400 | 5990 | 2,65 |
| КС 4-460-36у | 400 | 400 | 5990 | 2,65 |
| КС 4-460-36уу | 400 | 400 | 5990 | 2,65 |
| КС 4-460-36-1 | 400 | 400 | 5990 | 2,65 |
| КС 4-460-36-1у | 400 | 400 | 5990 | 2,65 |
| КС 4-460-36-2 | 400 | 400 | 5990 | 2,65 |
| КС 4-460-36-2у | 400 | 400 | 5990 | 2,65 |
| КС 3-460-36-3 | 400 | 400 | 5990 | 2,575 |
| КС 3-460-36-3у | 400 | 400 | 5990 | 2,575 |
| КС 3-460-36-3у* | 400 | 400 | 5990 | 2,575 |
| КС 4-460-30 | 400 | 400 | 5990 | 2,65 |
| КС 4-460-30у | 400 | 400 | 5990 | 2,65 |
| КС 4-460-30уу | 400 | 400 | 5990 | 2,65 |
| КС 4-460-30-1 | 400 | 400 | 5990 | 2,65 |
| КС 4-460-30-1у | 400 | 400 | 5990 | 2,65 |
| КС 4-460-30-2 | 400 | 400 | 5990 | 2,65 |
| КС 4-460-30-2у | 400 | 400 | 5990 | 2,65 |
| КС 3-460-30-3 | 400 | 400 | 5990 | 2,575 |
| КС 3-460-30-3у | 400 | 400 | 5990 | 2,575 |
| КС 3-460-30-3у* | 400 | 400 | 5990 | 2,575 |
| КС 4-460-24 | 400 | 400 | 5990 | 2,65 |
| КС 4-460-24у | 400 | 400 | 5990 | 2,65 |
| КС 4-460-24уу | 400 | 400 | 5990 | 2,65 |
| КС 4-460-24-1 | 400 | 400 | 5990 | 2,65 |
| КС 4-460-24-1у | 400 | 400 | 5990 | 2,65 |
| КС 4-460-24-2 | 400 | 400 | 5990 | 2,65 |
| КС 4-460-24-2у | 400 | 400 | 5990 | 2,65 |
| КС 3-460-24-1 | 400 | 400 | 5990 | 2,575 |
| КС 3-460-24-3 | 400 | 400 | 5990 | 2,575 |
| КС 3-460-24-3у | 400 | 400 | 5990 | 2,575 |
| КС 3-460-24-3у* | 400 | 400 | 5990 | 2,575 |
| КС 3-460-42-1 | 400 | 400 | 5990 | 2,575 |
| КС 3-460-36-1 | 400 | 400 | 5990 | 2,575 |
| КС 3-460-30-1 | 400 | 400 | 5990 | 2,575 |
| КС 3-460-30-2 | 400 | 400 | 5990 | 2,575 |
| КС 3-460-24-2 | 400 | 400 | 5990 | 2,575 |
| КС 4-430-24 | 400 | 400 | 2990 | 1,325 |
| КС 4-430-24у | 400 | 400 | 2990 | 1,325 |
| КС 4-430-24уу | 400 | 400 | 2990 | 1,325 |
| КС 4-430-24-1 | 400 | 400 | 2990 | 1,325 |
| КС 4-430-24-1у | 400 | 400 | 2990 | 1,325 |
| КС 4-430-24-2 | 400 | 400 | 2990 | 1,325 |
| КС 4-430-24-2у | 400 | 400 | 2990 | 1,325 |
| КС 3-430-24-3 | 400 | 400 | 2990 | 1,3 |
| КС 3-430-24-3у | 400 | 400 | 2990 | 1,3 |
| КС 4-430-24-3у* | 400 | 400 | 2990 | 1,3 |
| КС 3-430-24-1 | 400 | 400 | 2990 | 2,575 |
| КС 3-430-24-2 | 400 | 400 | 2990 | 2,575 |
Колонны верхние ГОСТ 18979-90
| Номенклатура | Габариты (l,b,h), мм | Масса, т | ||
| КВ 4-424-24 | 400 | 400 | 1750 | 0,8 |
| КВ 4-424-24у | 400 | 400 | 1750 | 0,8 |
| КВ 4-424-24уу | 400 | 400 | 1750 | 0,8 |
| КВ 4-424-24-1 | 400 | 400 | 1750 | 0,8 |
| КВ 4-424-24-1у | 400 | 400 | 1750 | 0,8 |
| КВ 4-454-24-1 | 400 | 400 | 4750 | 2,13 |
| КВ 4-454-24-1у | 400 | 400 | 4750 | 2,13 |
| КВ 3-454-24-1 | 400 | 400 | 4750 | 2,09 |
| КВ 3-454-24-2 | 400 | 400 | 4750 | 2,09 |
| КВ 3-424-24-3 | 400 | 400 | 1750 | 2,09 |
| КВ 3-424-24-3у | 400 | 400 | 1750 | 0,8 |
| КВ 3-424-24-3у* | 400 | 400 | 1750 | 0,8 |
Колонны ЖБИ Серия 1.423-3
| Марка изделия | Длина | Ширина | Высота | Масса, т | Объем бетона, куб. м |
| К30-1 | 300 | 300 | 3800 | 0,85 | 0,34 |
| К30-2 | 300 | 300 | 3800 | 0,85 | 0,34 |
| К30-3 | 300 | 300 | 3800 | 0,85 | 0,34 |
| К30-4 | 300 | 300 | 3800 | 0,85 | 0,34 |
| К30-5 | 300 | 300 | 3800 | 0,91 | 0,34 |
| К36-1 | 300 | 300 | 4400 | 1 | 0,4 |
| К36-2 | 300 | 300 | 4400 | 1 | 0,4 |
| К36-3 | 300 | 300 | 4400 | 1 | 0,4 |
| К36-4 | 300 | 300 | 4400 | 1 | 0,4 |
| К36-5 | 300 | 300 | 4400 | 1 | 0,4 |
| К36-6 | 300 | 300 | 4400 | 1 | 0,4 |
| К42-1 | 300 | 300 | 5000 | 1,1 | 0,45 |
| К42-2 | 300 | 300 | 5000 | 1,1 | 0,45 |
| К42-3 | 300 | 300 | 5000 | 1,1 | 0,45 |
| К42-4 | 300 | 300 | 5000 | 1,1 | 0,45 |
| К42-5 | 300 | 300 | 5000 | 1,1 | 0,45 |
| К42-6 | 300 | 300 | 5000 | 1,2 | 0,45 |
| К48-1 | 300 | 300 | 5600 | 1,3 | 0,5 |
| К48-2 | 300 | 300 | 5600 | 1,3 | 0,5 |
| К48-3 | 300 | 300 | 5600 | 1,3 | 0,5 |
| К48-4 | 300 | 300 | 5600 | 1,3 | 0,5 |
| К48-5 | 300 | 300 | 5600 | 1,3 | 0,5 |
| К48-6 | 300 | 300 | 5600 | 1,3 | 0,5 |
| К48-7 | 300 | 300 | 5600 | 1,3 | 0,5 |
| К48-8 | 300 | 300 | 5600 | 1,4 | 0,5 |
| К48-9 | 300 | 300 | 5600 | 1,4 | 0,5 |
| К48-10 | 400 | 300 | 5600 | 1,7 | 0,67 |
| К48-12 | 400 | 300 | 5600 | 1,7 | 0,67 |
| К48-13 | 400 | 300 | 5600 | 1,7 | 0,67 |
| К48-14 | 400 | 300 | 5600 | 1,7 | 0,67 |
| К48-15 | 400 | 300 | 5600 | 1,7 | 0,67 |
| К48-16 | 400 | 300 | 5600 | 1,7 | 0,67 |
| К48-17 | 400 | 300 | 5600 | 1,7 | 0,67 |
| К48-18 | 400 | 300 | 5600 | 1,7 | 0,67 |
| К48-19 | 400 | 300 | 5600 | 1,7 | 0,67 |
| К48-21 | 400 | 300 | 5600 | 1,8 | 0,67 |
| К54-1 | 300 | 300 | 6200 | 1,4 | 0,56 |
| К54-2 | 300 | 300 | 6200 | 1,4 | 0,56 |
| К54-3 | 300 | 300 | 6200 | 1,4 | 0,56 |
| К54-4 | 300 | 300 | 6200 | 1,4 | 0,56 |
| К54-5 | 300 | 300 | 6200 | 1,4 | 0,56 |
| К54-6 | 300 | 300 | 6200 | 1,4 | 0,56 |
| К54-7 | 300 | 300 | 6200 | 1,5 | 0,56 |
| К54-8 | 300 | 300 | 6200 | 1,5 | 0,56 |
| К54-9 | 300 | 300 | 6200 | 1,5 | 0,56 |
| К60-1 | 400 | 300 | 6800 | 2 | 0,82 |
| К60-2 | 400 | 300 | 6800 | 2 | 0,82 |
| К60-3 | 400 | 300 | 6800 | 2 | 0,82 |
| К60-4 | 400 | 300 | 6800 | 2 | 0,82 |
| К60-5 | 400 | 300 | 6800 | 2 | 0,82 |
| К60-6 | 400 | 300 | 6800 | 2 | 0,82 |
| К60-7 | 400 | 300 | 6800 | 2 | 0,82 |
| К60-8 | 400 | 300 | 6800 | 2 | 0,82 |
| К60-9 | 400 | 300 | 6800 | 2 | 0,82 |
| К60-10 | 400 | 300 | 6800 | 2 | 0,82 |
| К60-11 | 400 | 300 | 6800 | 2 | 0,82 |
| К60-12 | 400 | 300 | 6800 | 2 | 0,82 |
| К60-13 | 400 | 300 | 6800 | 2 | 0,82 |
| К60-14 | 400 | 300 | 6800 | 2 | 0,82 |
| К60-15 | 400 | 300 | 6800 | 2,2 | 0,82 |
| К60-42 | 400 | 400 | 6900 | 2,8 | 1,1 |
| К72-1 | 400 | 400 | 8100 | 3,3 | 1,3 |
| К72-2 | 400 | 400 | 8100 | 3,3 | 1,3 |
| К72-3 | 400 | 400 | 8100 | 3,3 | 1,3 |
| К72-4 | 400 | 400 | 8100 | 3,3 | 1,3 |
| К72-5 | 400 | 400 | 8100 | 3,3 | 1,3 |
| К72-6 | 400 | 400 | 8100 | 3,3 | 1,3 |
| К72-7 | 400 | 400 | 8100 | 3,3 | 1,3 |
| К72-8 | 400 | 400 | 8100 | 3,3 | 1,3 |
| К72-9 | 400 | 400 | 8100 | 3,3 | 1,3 |
| К72-10 | 400 | 400 | 8100 | 3,4 | 1,3 |
| К84-1 | 400 | 400 | 9300 | 3,7 | 1,49 |
| К84-2 | 400 | 400 | 9300 | 3,7 | 1,49 |
| К84-3 | 400 | 400 | 9300 | 3,7 | 1,49 |
| К84-4 | 400 | 400 | 9300 | 3,7 | 1,49 |
| К84-5 | 400 | 400 | 9300 | 3,7 | 1,49 |
| К84-6 | 400 | 400 | 9300 | 3,7 | 1,49 |
| К84-7 | 400 | 400 | 9300 | 3,7 | 1,49 |
| К84-8 | 400 | 400 | 9300 | 3,7 | 1,49 |
| К84-9 | 400 | 400 | 9300 | 3,9 | 1,49 |
| К84-10 | 400 | 400 | 9300 | 4 | 1,49 |
| К84-11 | 400 | 400 | 9300 | 4,1 | 1,49 |
| К84-13 | 500 | 400 | 9300 | 4,7 | 1,86 |
| К84-14 | 500 | 400 | 9300 | 4,7 | 1,86 |
| К84-15 | 500 | 400 | 9300 | 4,7 | 1,86 |
| К84-18 | 500 | 400 | 9300 | 4,9 | 1,86 |
| К96-1 | 400 | 400 | 10500 | 4,2 | 1,68 |
| К96-2 | 400 | 400 | 10500 | 4,2 | 1,68 |
| К96-3 | 400 | 400 | 10500 | 4,2 | 1,68 |
| К96-4 | 400 | 400 | 10500 | 4,2 | 1,68 |
| К96-5 | 400 | 400 | 10500 | 4,2 | 1,68 |
| К96-6 | 400 | 400 | 10500 | 4,2 | 1,68 |
| К96-8 | 500 | 400 | 10500 | 5,3 | 2,1 |
| К96-9 | 500 | 400 | 10500 | 5,3 | 2,1 |
| К96-10 | 500 | 400 | 10500 | 5,3 | 2,1 |
| К96-11 | 500 | 400 | 10500 | 5,3 | 2,1 |
| К96-12 | 500 | 400 | 10500 | 5,3 | 2,1 |
| К96-13 | 500 | 400 | 10500 | 5,3 | 2,1 |
| К96-14 | 500 | 400 | 10500 | 5,3 | 2,1 |
| К96-15 | 500 | 400 | 10500 | 5,3 | 2,1 |
| К96-16 | 500 | 400 | 10500 | 5,3 | 2,1 |
| К96-17 | 500 | 400 | 10500 | 5,5 | 2,1 |
| К96-54 | 500 | 400 | 10500 | 5,7 | 2,1 |
| К30-6 | 300 | 300 | 3800 | 0,93 | 0,37 |
| К30-7 | 300 | 300 | 3800 | 0,93 | 0,37 |
| К30-9 | 300 | 300 | 3800 | 0,93 | 0,37 |
| К30-10 | 300 | 300 | 3800 | 1 | 0,37 |
| К36-7 | 300 | 300 | 4400 | 1,1 | 0,42 |
| К36-8 | 300 | 300 | 4400 | 1,1 | 0,42 |
| К36-9 | 300 | 300 | 4400 | 1,1 | 0,42 |
| К42-7 | 300 | 300 | 5000 | 1,2 | 0,48 |
| К42-8 | 300 | 300 | 5000 | 1,2 | 0,48 |
| К42-9 | 300 | 300 | 5000 | 1,2 | 0,48 |
| К42-10 | 300 | 300 | 5000 | 1,2 | 0,48 |
| К42-11 | 300 | 300 | 5000 | 1,3 | 0,48 |
| К48-24 | 300 | 300 | 5600 | 1,3 | 0,52 |
| К48-25 | 300 | 300 | 5600 | 1,3 | 0,52 |
| К48-26 | 300 | 300 | 5600 | 1,3 | 0,52 |
| К48-27 | 300 | 300 | 5600 | 1,3 | 0,52 |
| К48-28 | 300 | 300 | 5600 | 1,3 | 0,52 |
| К48-29 | 300 | 300 | 5600 | 1,3 | 0,52 |
| К48-30 | 400 | 300 | 5600 | 1,8 | 0,7 |
| К48-31 | 400 | 300 | 5600 | 1,8 | 0,7 |
| К48-32 | 400 | 300 | 5600 | 1,8 | 0,7 |
| К48-33 | 400 | 300 | 5600 | 1,8 | 0,7 |
| К48-34 | 400 | 300 | 5600 | 1,8 | 0,7 |
| К48-35 | 400 | 300 | 5600 | 1,8 | 0,7 |
| К48-36 | 400 | 300 | 5600 | 1,8 | 0,7 |
| К48-38 | 400 | 300 | 5600 | 1,9 | 0,7 |
| К48-39 | 500 | 400 | 5100 | 2,6 | 1,04 |
| К48-40 | 500 | 400 | 5100 | 2,6 | 1,04 |
| К48-41 | 500 | 400 | 5100 | 2,6 | 1,04 |
| К48-42 | 500 | 400 | 5100 | 2,6 | 1,04 |
| К48-43 | 500 | 400 | 5100 | 2,6 | 1,04 |
| К48-44 | 500 | 400 | 5100 | 2,6 | 1,04 |
| К48-45 | 500 | 400 | 5100 | 2,6 | 1,04 |
| К48-46 | 500 | 400 | 5100 | 2,6 | 1,04 |
| К48-47 | 500 | 400 | 5100 | 2,6 | 1,04 |
| К54-10 | 300 | 300 | 6200 | 1,5 | 0,58 |
| К54-11 | 300 | 300 | 6200 | 1,5 | 0,58 |
| К54-12 | 300 | 300 | 6200 | 1,5 | 0,58 |
| К54-13 | 300 | 300 | 6200 | 1,5 | 0,58 |
| К54-14 | 300 | 300 | 6200 | 1,5 | 0,58 |
| К54-15 | 300 | 300 | 6200 | 1,5 | 0,58 |
| К60-16 | 400 | 300 | 6800 | 2,1 | 0,82 |
| К60-17 | 400 | 300 | 6800 | 2,1 | 0,82 |
| К60-18 | 400 | 300 | 6800 | 2,1 | 0,82 |
| К60-19 | 400 | 300 | 6800 | 2,1 | 0,82 |
| К60-21 | 400 | 400 | 6900 | 2,8 | 1,1 |
| К60-22 | 400 | 400 | 6900 | 2,8 | 1,1 |
| К60-23 | 400 | 400 | 6900 | 2,8 | 1,1 |
| К60-24 | 400 | 400 | 6900 | 2,8 | 1,1 |
| К60-25 | 400 | 400 | 6900 | 2,8 | 1,1 |
| К60-26 | 400 | 400 | 6900 | 2,8 | 1,1 |
| К60-27 | 400 | 400 | 6900 | 2,8 | 1,1 |
| К60-28 | 400 | 400 | 6900 | 2,8 | 1,1 |
| К60-29 | 400 | 400 | 6900 | 2,8 | 1,1 |
| К60-30 | 400 | 400 | 6900 | 2,9 | 1,1 |
| К60-32 | 500 | 500 | 6300 | 4 | 1,59 |
| К60-33 | 500 | 500 | 6300 | 4 | 1,59 |
| К60-34 | 500 | 500 | 6300 | 4 | 1,59 |
| К60-35 | 500 | 500 | 6300 | 4 | 1,59 |
| К60-36 | 500 | 500 | 6300 | 4 | 1,59 |
| К60-37 | 500 | 500 | 6300 | 4 | 1,59 |
| К60-38 | 500 | 500 | 6300 | 4 | 1,59 |
| К60-39 | 500 | 500 | 6300 | 4 | 1,59 |
| К60-40 | 500 | 500 | 6300 | 4 | 1,59 |
| К60-41 | 500 | 500 | 6300 | 4 | 1,59 |
| К72-13 | 400 | 400 | 8100 | 3,3 | 1,33 |
| К72-14 | 400 | 400 | 8100 | 3,3 | 1,33 |
| К72-15 | 400 | 400 | 8100 | 3,3 | 1,33 |
| К72-16 | 400 | 400 | 8100 | 3,3 | 1,33 |
| К72-17 | 400 | 400 | 8100 | 3,3 | 1,33 |
| К72-18 | 400 | 400 | 8100 | 3,3 | 1,33 |
| К72-19 | 400 | 400 | 8100 | 3,3 | 1,33 |
| К72-20 | 400 | 400 | 8100 | 3,3 | 1,33 |
| К72-21 | 400 | 400 | 8100 | 3,5 | 1,33 |
| К72-22 | 400 | 400 | 8100 | 3,6 | 1,33 |
| К72-24 | 500 | 500 | 7500 | 4,8 | 1,9 |
| К72-25 | 500 | 500 | 7500 | 4,8 | 1,9 |
| К72-26 | 500 | 500 | 7500 | 4,8 | 1,9 |
| К72-27 | 500 | 500 | 7500 | 4,8 | 1,9 |
| К72-28 | 500 | 500 | 7500 | 4,8 | 1,9 |
| К72-29 | 500 | 500 | 7500 | 4,8 | 1,9 |
| К72-30 | 500 | 500 | 7500 | 4,8 | 1,9 |
| К72-31 | 500 | 500 | 7500 | 4,8 | 1,9 |
| К72-32 | 500 | 500 | 7500 | 4,8 | 1,9 |
| К72-33 | 500 | 500 | 7500 | 4,8 | 1,9 |
| К72-34 | 500 | 500 | 7500 | 4,8 | 1,9 |
| К72-35 | 500 | 500 | 7500 | 4,8 | 1,9 |
| К84-19 | 500 | 400 | 9300 | 4,7 | 1,88 |
| К84-20 | 500 | 400 | 9300 | 4,7 | 1,88 |
| К84-21 | 500 | 400 | 9300 | 4,7 | 1,88 |
| К84-22 | 500 | 400 | 9300 | 4,7 | 1,88 |
| К84-23 | 500 | 400 | 9300 | 4,7 | 1,88 |
| К84-24 | 500 | 400 | 9300 | 4,7 | 1,88 |
| К84-25 | 500 | 400 | 9300 | 4,7 | 1,88 |
| К84-26 | 500 | 400 | 9300 | 4,7 | 1,88 |
| К84-27 | 500 | 400 | 9300 | 4,7 | 1,88 |
| К84-28 | 500 | 400 | 9300 | 4,7 | 1,88 |
| К84-29 | 500 | 400 | 9300 | 4,7 | 1,88 |
| К84-30 | 500 | 400 | 9300 | 5 | 1,88 |
| К84-31 | 500 | 400 | 9300 | 5,1 | 1,88 |
| К84-33 | 500 | 500 | 8700 | 5,5 | 2,2 |
| К84-34 | 500 | 500 | 8700 | 5,5 | 2,2 |
| К84-35 | 500 | 500 | 8700 | 5,5 | 2,2 |
| К84-36 | 500 | 500 | 8700 | 5,5 | 2,2 |
| К84-37 | 500 | 500 | 8700 | 5,5 | 2,2 |
| К84-38 | 500 | 500 | 8700 | 5,5 | 2,2 |
| К84-39 | 500 | 500 | 8700 | 5,5 | 2,2 |
| К84-40 | 500 | 500 | 8700 | 5,5 | 2,2 |
| К84-41 | 500 | 500 | 8700 | 5,5 | 2,2 |
| К84-42 | 500 | 500 | 8700 | 5,5 | 2,2 |
| К84-43 | 500 | 500 | 8700 | 5,5 | 2,2 |
| К84-44 | 500 | 500 | 8700 | 5,5 | 2,2 |
| К84-45 | 500 | 500 | 8700 | 5,5 | 2,2 |
| К84-46 | 500 | 500 | 8700 | 5,5 | 2,2 |
| К84-47 | 500 | 500 | 8700 | 5,5 | 2,2 |
| К84-48 | 500 | 500 | 8700 | 5,5 | 2,2 |
| К84-49 | 500 | 500 | 8700 | 5,5 | 2,2 |
| К84-50 | 500 | 500 | 8700 | 5,8 | 2,2 |
| К84-53 | 600 | 500 | 8700 | 6,5 | 2,6 |
| К84-54 | 600 | 500 | 8700 | 6,5 | 2,6 |
| К84-55 | 600 | 500 | 8700 | 6,5 | 2,6 |
| К84-56 | 600 | 500 | 8700 | 6,5 | 2,6 |
| К84-57 | 600 | 500 | 8700 | 6,5 | 2,6 |
| К84-58 | 600 | 500 | 8700 | 6,5 | 2,6 |
| К84-60 | 600 | 500 | 8700 | 6,9 | 2,6 |
| К96-18 | 500 | 500 | 10500 | 6,6 | 2,65 |
| К96-19 | 500 | 500 | 10500 | 6,6 | 2,65 |
| К96-20 | 500 | 500 | 10500 | 6,6 | 2,65 |
| К96-21 | 500 | 500 | 10500 | 6,6 | 2,65 |
| К96-22 | 500 | 500 | 10500 | 6,6 | 2,65 |
| К96-23 | 500 | 500 | 10500 | 6,6 | 2,65 |
| К96-24 | 500 | 500 | 10500 | 6,6 | 2,65 |
| К96-25 | 500 | 500 | 10500 | 6,6 | 2,65 |
| К96-26 | 500 | 500 | 10500 | 6,6 | 2,65 |
| К96-27 | 500 | 500 | 10500 | 6,6 | 2,65 |
| К96-28 | 500 | 500 | 10500 | 6,6 | 2,65 |
| К96-29 | 500 | 500 | 10500 | 6,6 | 2,65 |
| К96-30 | 500 | 500 | 10500 | 6,6 | 2,65 |
| К96-31 | 500 | 500 | 10500 | 6,6 | 2,65 |
| К96-32 | 500 | 500 | 10500 | 6,6 | 2,65 |
| К96-33 | 500 | 500 | 10500 | 7 | 2,65 |
| К96-35 | 600 | 500 | 9900 | 7,4 | 2,97 |
| К96-36 | 600 | 500 | 9900 | 7,4 | 2,97 |
| К96-37 | 600 | 500 | 9900 | 7,4 | 2,97 |
| К96-38 | 600 | 500 | 9900 | 7,4 | 2,97 |
| К96-39 | 600 | 500 | 9900 | 7,4 | 2,97 |
| К96-40 | 600 | 500 | 9900 | 7,4 | 2,97 |
| К96-41 | 600 | 500 | 9900 | 7,4 | 2,97 |
| К96-42 | 600 | 500 | 9900 | 7,4 | 2,97 |
| К96-43 | 600 | 500 | 9900 | 7,4 | 2,97 |
| К96-44 | 600 | 500 | 9900 | 7,4 | 2,97 |
| К96-45 | 600 | 500 | 9900 | 7,4 | 2,97 |
| К96-46 | 600 | 500 | 9900 | 7,4 | 2,97 |
| К96-48 | 600 | 500 | 9900 | 7,4 | 2,97 |
| К96-49 | 600 | 500 | 9900 | 7,4 | 2,97 |
| К96-50 | 600 | 500 | 9900 | 7,4 | 2,97 |
| К96-51 | 600 | 500 | 9900 | 7,8 | 2,97 |
| К48-10C | 400 | 300 | 5600 | 1,7 | 0,67 |
| К48-12C | 400 | 300 | 5600 | 1,7 | 0,67 |
| К48-13C | 400 | 300 | 5600 | 1,7 | 0,67 |
| К48-14C | 400 | 300 | 5600 | 1,7 | 0,67 |
| К48-15C | 400 | 300 | 5600 | 1,7 | 0,67 |
| К48-16C | 400 | 300 | 5600 | 1,7 | 0,67 |
| К48-17C | 400 | 300 | 5600 | 1,7 | 0,67 |
| К48-18C | 400 | 300 | 5600 | 1,7 | 0,67 |
| К48-19C | 400 | 300 | 5600 | 1,7 | 0,67 |
| К48-20C | 400 | 300 | 5600 | 1,7 | 0,67 |
| К48-21C | 400 | 300 | 5600 | 1,8 | 0,67 |
| К48-22C | 400 | 300 | 5600 | 1,8 | 0,67 |
| К60-1C | 400 | 300 | 6800 | 2 | 0,82 |
| К60-2C | 400 | 300 | 6800 | 2 | 0,82 |
| К60-3C | 400 | 300 | 6800 | 2 | 0,82 |
| К60-4C | 400 | 300 | 6800 | 2 | 0,82 |
| К60-5C | 400 | 300 | 6800 | 2 | 0,82 |
| К60-6C | 400 | 300 | 6800 | 2 | 0,82 |
| К60-7C | 400 | 300 | 6800 | 2 | 0,82 |
| К60-8C | 400 | 300 | 6800 | 2 | 0,82 |
| К60-9C | 400 | 300 | 6800 | 2 | 0,82 |
| К60-10C | 400 | 300 | 6800 | 2 | 0,82 |
| К60-11C | 400 | 300 | 6800 | 2 | 0,82 |
| К60-12C | 400 | 300 | 6800 | 2 | 0,82 |
| К60-13C | 400 | 300 | 6800 | 2 | 0,82 |
| К60-14C | 400 | 300 | 6800 | 2 | 0,82 |
| К60-15C | 400 | 300 | 6800 | 2,2 | 0,82 |
| К60-42C | 400 | 400 | 6900 | 2,8 | 1,1 |
| К72-1C | 400 | 400 | 8100 | 3,3 | 1,3 |
| К72-2C | 400 | 400 | 8100 | 3,3 | 1,3 |
| К72-3C | 400 | 400 | 8100 | 3,3 | 1,3 |
| К72-4C | 400 | 400 | 8100 | 3,3 | 1,3 |
| К72-5C | 400 | 400 | 8100 | 3,3 | 1,3 |
| К72-6C | 400 | 400 | 8100 | 3,3 | 1,3 |
| К72-7C | 400 | 400 | 8100 | 3,3 | 1,3 |
| К72-8C | 400 | 400 | 8100 | 3,3 | 1,3 |
| К72-9C | 400 | 400 | 8100 | 3,3 | 1,3 |
| К72-10C | 400 | 400 | 8100 | 3,4 | 1,3 |
| К72-11C | 400 | 400 | 8100 | 3,5 | 1,3 |
| К72-37C | 500 | 500 | 8100 | 5,1 | 2,03 |
| К84-2C | 400 | 400 | 9300 | 3,7 | 1,49 |
| К84-3C | 400 | 400 | 9300 | 3,7 | 1,49 |
| К84-4C | 400 | 400 | 9300 | 3,7 | 1,49 |
| К84-5C | 400 | 400 | 9300 | 3,7 | 1,49 |
| К84-6C | 400 | 400 | 9300 | 3,7 | 1,49 |
| К84-7C | 400 | 400 | 9300 | 3,7 | 1,49 |
| К84-8C | 400 | 400 | 9300 | 3,7 | 1,49 |
| К84-9C | 400 | 400 | 9300 | 3,9 | 1,49 |
| К84-10C | 400 | 400 | 9300 | 4 | 1,49 |
| К84-11C | 400 | 400 | 9300 | 4,1 | 1,49 |
| К84-13C | 500 | 400 | 9300 | 4,7 | 1,86 |
| К84-14C | 500 | 400 | 9300 | 4,7 | 1,86 |
| К84-15C | 500 | 400 | 9300 | 4,7 | 1,86 |
| К84-18C | 500 | 400 | 9300 | 4,9 | 1,86 |
| К84-61C | 500 | 500 | 9300 | 5,8 | 2,33 |
| К84-62C | 500 | 500 | 9300 | 5,8 | 2,33 |
| К84-63C | 500 | 500 | 9300 | 5,8 | 2,33 |
| К96-1C | 400 | 400 | 10500 | 4,2 | 1,68 |
| К96-2C | 400 | 400 | 10500 | 4,2 | 1,68 |
| К96-3C | 400 | 400 | 10500 | 4,2 | 1,68 |
| К96-4C | 400 | 400 | 10500 | 4,2 | 1,68 |
| К96-5C | 400 | 400 | 10500 | 4,2 | 1,68 |
| К96-6C | 400 | 400 | 10500 | 4,2 | 1,68 |
| К96-8C | 500 | 400 | 10500 | 5,3 | 2,1 |
| К96-9C | 500 | 400 | 10500 | 5,3 | 2,1 |
| К96-10C | 500 | 400 | 10500 | 5,3 | 2,1 |
| К96-11C | 500 | 400 | 10500 | 5,3 | 2,1 |
| К96-12C | 500 | 400 | 10500 | 5,3 | 2,1 |
| К96-13C | 500 | 400 | 10500 | 5,3 | 2,1 |
| К96-14C | 500 | 400 | 10500 | 5,3 | 2,1 |
| К96-15C | 500 | 400 | 10500 | 5,3 | 2,1 |
| К96-16C | 500 | 400 | 10500 | 5,3 | 2,1 |
| К96-17C | 500 | 400 | 10500 | 5,5 | 2,1 |
| К96-52C | 500 | 500 | 10500 | 6,6 | 2,63 |
| К96-53C | 500 | 400 | 10500 | 5,6 | 2,1 |
| К96-54C | 500 | 400 | 10500 | 5,7 | 2,1 |
| К96-55C | 500 | 500 | 10500 | 6,9 | 2,63 |
| К48-30C | 400 | 300 | 5600 | 1,8 | 0,7 |
| К48-31C | 400 | 300 | 5600 | 1,8 | 0,7 |
| К48-32C | 400 | 300 | 5600 | 1,8 | 0,7 |
| К48-33C | 400 | 300 | 5600 | 1,8 | 0,7 |
| К48-34C | 400 | 300 | 5600 | 1,8 | 0,7 |
| К48-35C | 400 | 300 | 5600 | 1,8 | 0,7 |
| К48-36C | 400 | 300 | 5600 | 1,8 | 0,7 |
| К48-37C | 400 | 300 | 5600 | 1,8 | 0,7 |
| К48-38C | 400 | 300 | 5600 | 1,9 | 0,7 |
| К48-39C | 500 | 400 | 5700 | 2,9 | 1,16 |
| К48-40C | 500 | 400 | 5700 | 2,9 | 1,16 |
| К48-41C | 500 | 400 | 5700 | 2,9 | 1,16 |
| К48-42C | 500 | 400 | 5700 | 2,9 | 1,16 |
| К48-43C | 500 | 400 | 5700 | 2,9 | 1,16 |
| К48-44C | 500 | 400 | 5700 | 2,9 | 1,16 |
| К48-45C | 500 | 400 | 5700 | 2,9 | 1,16 |
| К48-46C | 500 | 400 | 5700 | 2,9 | 1,16 |
| К48-47C | 500 | 400 | 5700 | 2,9 | 1,16 |
| К48-48C | 500 | 400 | 5700 | 2,9 | 1,16 |
| К60-21C | 400 | 400 | 6900 | 2,8 | 1,1 |
| К60-22C | 400 | 400 | 6900 | 2,8 | 1,1 |
| К60-23C | 400 | 400 | 6900 | 2,8 | 1,1 |
| К60-24C | 400 | 400 | 6900 | 2,8 | 1,1 |
| К60-25C | 400 | 400 | 6900 | 2,8 | 1,1 |
| К60-26C | 400 | 400 | 6900 | 2,8 | 1,1 |
| К60-27C | 400 | 400 | 6900 | 2,8 | 1,1 |
| К60-28C | 400 | 400 | 6900 | 2,8 | 1,1 |
| К60-29C | 400 | 400 | 6900 | 2,8 | 1,1 |
| К60-30C | 400 | 400 | 6900 | 2,9 | 1,1 |
| К60-31C | 400 | 400 | 6900 | 3 | 1,1 |
| К60-32C | 500 | 500 | 6900 | 4,4 | 1,75 |
| К60-33C | 500 | 500 | 6900 | 4,4 | 1,75 |
| К60-34C | 500 | 500 | 6900 | 4,4 | 1,75 |
| К60-35C | 500 | 500 | 6900 | 4,4 | 1,75 |
| К60-36C | 500 | 500 | 6900 | 4,4 | 1,75 |
| К60-37C | 500 | 500 | 6900 | 4,4 | 1,75 |
| К60-38C | 500 | 500 | 6900 | 4,4 | 1,75 |
| К60-39C | 500 | 500 | 6900 | 4,4 | 1,75 |
| К60-40C | 500 | 500 | 6900 | 4,4 | 1,75 |
| К60-41C | 500 | 500 | 6900 | 4,4 | 1,75 |
| К72-13C | 400 | 400 | 8100 | 3,3 | 1,33 |
| К72-14C | 400 | 400 | 8100 | 3,3 | 1,33 |
| К72-15C | 400 | 400 | 8100 | 3,3 | 1,33 |
| К72-16C | 400 | 400 | 8100 | 3,3 | 1,33 |
| К72-17C | 400 | 400 | 8100 | 3,3 | 1,33 |
| К72-18C | 400 | 400 | 8100 | 3,3 | 1,33 |
| К72-19C | 400 | 400 | 8100 | 3,3 | 1,33 |
| К72-20C | 400 | 400 | 8100 | 3,3 | 1,33 |
| К72-21C | 400 | 400 | 8100 | 3,5 | 1,33 |
| К72-22C | 400 | 400 | 8100 | 3,6 | 1,33 |
| К72-23C | 400 | 400 | 8100 | 3,7 | 1,33 |
| К72-24C | 500 | 500 | 8100 | 5,1 | 2,05 |
| К72-25C | 500 | 500 | 8100 | 5,1 | 2,05 |
| К72-26C | 500 | 500 | 8100 | 5,1 | 2,05 |
| К72-27C | 500 | 500 | 8100 | 5,1 | 2,05 |
| К72-28C | 500 | 500 | 8100 | 5,1 | 2,05 |
| К72-29C | 500 | 500 | 8100 | 5,1 | 2,05 |
| К72-30C | 500 | 500 | 8100 | 5,1 | 2,05 |
| К72-31C | 500 | 500 | 8100 | 5,1 | 2,05 |
| К72-32C | 500 | 500 | 8100 | 5,1 | 2,05 |
| К72-33C | 500 | 500 | 8100 | 5,1 | 2,05 |
| К72-34C | 500 | 500 | 8100 | 5,1 | 2,05 |
| К72-35C | 500 | 500 | 8100 | 5,1 | 2,05 |
| К72-36C | 500 | 500 | 8100 | 5,4 | 2,05 |
| К84-19C | 500 | 400 | 9300 | 4,7 | 1,88 |
| К84-21C | 500 | 400 | 9300 | 4,7 | 1,88 |
| К84-22C | 500 | 400 | 9300 | 4,7 | 1,88 |
| К84-23C | 500 | 400 | 9300 | 4,7 | 1,88 |
| К84-24C | 500 | 400 | 9300 | 4,7 | 1,88 |
| К84-25C | 500 | 400 | 9300 | 4,7 | 1,88 |
| К84-26C | 500 | 400 | 9300 | 4,7 | 1,88 |
| К84-27C | 500 | 400 | 9300 | 4,7 | 1,88 |
| К84-28C | 500 | 400 | 9300 | 4,7 | 1,88 |
| К84-29C | 500 | 400 | 9300 | 4,7 | 1,88 |
| К84-30C | 500 | 400 | 9300 | 5 | 1,88 |
| К84-31C | 500 | 400 | 9300 | 5,1 | 1,88 |
| К84-32C | 500 | 400 | 9300 | 5,2 | 1,88 |
| К84-33C | 500 | 500 | 9300 | 5,9 | 2,35 |
| К84-34C | 500 | 500 | 9300 | 5,9 | 2,35 |
| К84-35C | 500 | 500 | 9300 | 5,9 | 2,35 |
| К84-36C | 500 | 500 | 9300 | 5,9 | 2,35 |
| К84-37C | 500 | 500 | 9300 | 5,9 | 2,35 |
| К84-38C | 500 | 500 | 9300 | 5,9 | 2,35 |
| К84-39C | 500 | 500 | 9300 | 5,9 | 2,35 |
| К84-40C | 500 | 500 | 9300 | 5,9 | 2,35 |
| К84-41C | 500 | 500 | 9300 | 5,9 | 2,35 |
| К84-42C | 500 | 500 | 9300 | 5,9 | 2,35 |
| К84-43C | 500 | 500 | 9300 | 5,9 | 2,35 |
| К84-44C | 500 | 500 | 9300 | 5,9 | 2,35 |
| К84-45C | 500 | 500 | 9300 | 5,9 | 2,35 |
| К84-46C | 500 | 500 | 9300 | 5,9 | 2,35 |
| К84-47C | 500 | 500 | 9300 | 5,9 | 2,35 |
| К84-48C | 500 | 500 | 9300 | 5,9 | 2,35 |
| К84-49C | 500 | 500 | 9300 | 5,9 | 2,35 |
| К84-50C | 500 | 500 | 9300 | 6,2 | 2,35 |
| К84-51C | 500 | 500 | 9300 | 6,3 | 2,35 |
| К84-53C | 600 | 500 | 9300 | 7 | 2,8 |
| К84-54C | 600 | 500 | 9300 | 7 | 2,8 |
| К84-55C | 600 | 500 | 9300 | 7 | 2,8 |
| К84-56C | 600 | 500 | 9300 | 7 | 2,8 |
| К84-57C | 600 | 500 | 9300 | 7 | 2,8 |
| К84-58C | 600 | 500 | 9300 | 7 | 2,8 |
| К84-59C | 600 | 500 | 9300 | 7 | 2,8 |
| К84-60C | 600 | 500 | 9300 | 7,4 | 2,8 |
| К96-18C | 500 | 500 | 10500 | 6,6 | 2,65 |
| К96-19C | 500 | 500 | 10500 | 6,6 | 2,65 |
| К96-20C | 500 | 500 | 10500 | 6,6 | 2,65 |
| К96-21C | 500 | 500 | 10500 | 6,6 | 2,65 |
| К96-22C | 500 | 500 | 10500 | 6,6 | 2,65 |
| К96-23C | 500 | 500 | 10500 | 6,6 | 2,65 |
| К96-24C | 500 | 500 | 10500 | 6,6 | 2,65 |
| К96-25C | 500 | 500 | 10500 | 6,6 | 2,65 |
| К96-26C | 500 | 500 | 10500 | 6,6 | 2,65 |
| К96-27C | 500 | 500 | 10500 | 6,6 | 2,65 |
| К96-28C | 500 | 500 | 10500 | 6,6 | 2,65 |
| К96-29C | 500 | 500 | 10500 | 6,6 | 2,65 |
| К96-30C | 500 | 500 | 10500 | 6,6 | 2,65 |
| К96-31C | 500 | 500 | 10500 | 6,6 | 2,65 |
| К96-32C | 500 | 500 | 10500 | 6,6 | 2,65 |
| К96-33C | 500 | 500 | 10500 | 7 | 2,65 |
| К96-34C | 500 | 500 | 10500 | 7 | 2,65 |
| К96-35C | 600 | 500 | 10500 | 7,9 | 3,15 |
| К96-36C | 600 | 500 | 10500 | 7,9 | 3,15 |
| К96-37C | 600 | 500 | 10500 | 7,9 | 3,15 |
| К96-38C | 600 | 500 | 10500 | 7,9 | 3,15 |
| К96-39C | 600 | 500 | 10500 | 7,9 | 3,15 |
| К96-40C | 600 | 500 | 10500 | 7,9 | 3,15 |
| К96-41C | 600 | 500 | 10500 | 7,9 | 3,15 |
| К96-42C | 600 | 500 | 10500 | 7,9 | 3,15 |
| К96-43C | 600 | 500 | 10500 | 7,9 | 3,15 |
| К96-44C | 600 | 500 | 10500 | 7,9 | 3,15 |
| К96-45C | 600 | 500 | 10500 | 7,9 | 3,15 |
| К96-46C | 600 | 500 | 10500 | 7,9 | 3,15 |
| К96-48C | 600 | 500 | 10500 | 7,9 | 3,15 |
| К96-49C | 600 | 500 | 10500 | 7,9 | 3,15 |
| К96-50C | 600 | 500 | 10500 | 7,9 | 3,15 |
| К96-51C | 600 | 500 | 10500 | 8,3 | 3,15 |
| К30-1А | 300 | 300 | 3800 | 0,85 | 0,34 |
| К30-2А | 300 | 300 | 3800 | 0,85 | 0,34 |
| К30-3А | 300 | 300 | 3800 | 0,85 | 0,34 |
| К30-4А | 300 | 300 | 3800 | 0,85 | 0,34 |
| К30-5А | 300 | 300 | 3800 | 0,91 | 0,34 |
| К36-1А | 300 | 300 | 4400 | 1 | 0,4 |
| К36-2А | 300 | 300 | 4400 | 1 | 0,4 |
| К36-3А | 300 | 300 | 4400 | 1 | 0,4 |
| К36-4А | 300 | 300 | 4400 | 1 | 0,4 |
| К36-5А | 300 | 300 | 4400 | 1 | 0,4 |
| К36-6А | 300 | 300 | 4400 | 1 | 0,4 |
| К42-1А | 300 | 300 | 5000 | 1,1 | 0,45 |
| К42-2А | 300 | 300 | 5000 | 1,1 | 0,45 |
| К42-3А | 300 | 300 | 5000 | 1,1 | 0,45 |
| К42-4А | 300 | 300 | 5000 | 1,1 | 0,45 |
| К42-5А | 300 | 300 | 5000 | 1,1 | 0,45 |
| К42-6А | 300 | 300 | 5000 | 1,2 | 0,45 |
| К48-1А | 300 | 300 | 5600 | 1,3 | 0,5 |
| К48-2А | 300 | 300 | 5600 | 1,3 | 0,5 |
| К48-3А | 300 | 300 | 5600 | 1,3 | 0,5 |
| К48-4А | 300 | 300 | 5600 | 1,3 | 0,5 |
| К48-5А | 300 | 300 | 5600 | 1,3 | 0,5 |
| К48-6А | 300 | 300 | 5600 | 1,3 | 0,5 |
| К48-7А | 300 | 300 | 5600 | 1,3 | 0,5 |
| К48-8А | 300 | 300 | 5600 | 1,4 | 0,5 |
| К48-9А | 300 | 300 | 5600 | 1,4 | 0,5 |
| К48-10А | 400 | 300 | 5600 | 1,7 | 0,67 |
| К48-12А | 400 | 300 | 5600 | 1,7 | 0,67 |
| К48-13А | 400 | 300 | 5600 | 1,7 | 0,67 |
| К48-14А | 400 | 300 | 5600 | 1,7 | 0,67 |
| К48-15А | 400 | 300 | 5600 | 1,7 | 0,67 |
| К48-16А | 400 | 300 | 5600 | 1,7 | 0,67 |
| К48-17А | 400 | 300 | 5600 | 1,7 | 0,67 |
| К48-18А | 400 | 300 | 5600 | 1,7 | 0,67 |
| К48-19А | 400 | 300 | 5600 | 1,7 | 0,67 |
| К48-21А | 400 | 300 | 5600 | 1,8 | 0,67 |
| К54-1А | 300 | 300 | 6200 | 1,4 | 0,56 |
| К54-2А | 300 | 300 | 6200 | 1,4 | 0,56 |
| К54-3А | 300 | 300 | 6200 | 1,4 | 0,56 |
| К54-4А | 300 | 300 | 6200 | 1,4 | 0,56 |
| К54-5А | 300 | 300 | 6200 | 1,4 | 0,56 |
| К54-6А | 300 | 300 | 6200 | 1,4 | 0,56 |
| К54-7А | 300 | 300 | 6200 | 1,5 | 0,56 |
| К54-8А | 300 | 300 | 6200 | 1,5 | 0,56 |
| К54-9А | 300 | 300 | 6200 | 1,5 | 0,56 |
| К60-1А | 400 | 300 | 6800 | 2 | 0,82 |
| К60-2А | 400 | 300 | 6800 | 2 | 0,82 |
| К60-3А | 400 | 300 | 6800 | 2 | 0,82 |
| К60-4А | 400 | 300 | 6800 | 2 | 0,82 |
| К60-5А | 400 | 300 | 6800 | 2 | 0,82 |
| К60-6А | 400 | 300 | 6800 | 2 | 0,82 |
| К60-7А | 400 | 300 | 6800 | 2 | 0,82 |
| К60-8А | 400 | 300 | 6800 | 2 | 0,82 |
| К60-9А | 400 | 300 | 6800 | 2 | 0,82 |
| К60-10А | 400 | 300 | 6800 | 2 | 0,82 |
| К60-11А | 400 | 300 | 6800 | 2 | 0,82 |
| К60-12А | 400 | 300 | 6800 | 2 | 0,82 |
| К60-13А | 400 | 300 | 6800 | 2 | 0,82 |
| К60-14А | 400 | 300 | 6800 | 2 | 0,82 |
| К60-15А | 400 | 300 | 6800 | 2,2 | 0,82 |
| К60-42А | 400 | 400 | 6900 | 2,8 | 1,1 |
| К72-1А | 400 | 400 | 8100 | 3,3 | 1,3 |
| К72-2А | 400 | 400 | 8100 | 3,3 | 1,3 |
| К72-3А | 400 | 400 | 8100 | 3,3 | 1,3 |
| К72-4А | 400 | 400 | 8100 | 3,3 | 1,3 |
| К72-5А | 400 | 400 | 8100 | 3,3 | 1,3 |
| К72-6А | 400 | 400 | 8100 | 3,3 | 1,3 |
| К72-7А | 400 | 400 | 8100 | 3,3 | 1,3 |
| К72-8А | 400 | 400 | 8100 | 3,3 | 1,3 |
| К72-9А | 400 | 400 | 8100 | 3,3 | 1,3 |
| К72-10А | 400 | 400 | 8100 | 3,4 | 1,3 |
| К84-1А | 400 | 400 | 9300 | 3,7 | 1,49 |
| К84-2А | 400 | 400 | 9300 | 3,7 | 1,49 |
| К84-3А | 400 | 400 | 9300 | 3,7 | 1,49 |
| К84-4А | 400 | 400 | 9300 | 3,7 | 1,49 |
| К84-5А | 400 | 400 | 9300 | 3,7 | 1,49 |
| К84-6А | 400 | 400 | 9300 | 3,7 | 1,49 |
| К84-7А | 400 | 400 | 9300 | 3,7 | 1,49 |
| К84-8А | 400 | 400 | 9300 | 3,7 | 1,49 |
| К84-9А | 400 | 400 | 9300 | 3,9 | 1,49 |
| К84-10А | 400 | 400 | 9300 | 4 | 1,49 |
| К84-11А | 400 | 400 | 9300 | 4,1 | 1,49 |
| К84-13А | 500 | 400 | 9300 | 4,7 | 1,86 |
| К84-14А | 500 | 400 | 9300 | 4,7 | 1,86 |
| К84-15А | 500 | 400 | 9300 | 4,7 | 1,86 |
| К84-18А | 500 | 400 | 9300 | 4,9 | 1,86 |
| К96-1А | 400 | 400 | 10500 | 4,2 | 1,68 |
| К96-2А | 400 | 400 | 10500 | 4,2 | 1,68 |
| К96-3А | 400 | 400 | 10500 | 4,2 | 1,68 |
| К96-4А | 400 | 400 | 10500 | 4,2 | 1,68 |
| К96-5А | 400 | 400 | 10500 | 4,2 | 1,68 |
| К96-6А | 400 | 400 | 10500 | 4,2 | 1,68 |
| К96-8А | 500 | 400 | 10500 | 5,3 | 2,1 |
| К96-9А | 500 | 400 | 10500 | 5,3 | 2,1 |
| К96-10А | 500 | 400 | 10500 | 5,3 | 2,1 |
| К96-11А | 500 | 400 | 10500 | 5,3 | 2,1 |
| К96-12А | 500 | 400 | 10500 | 5,3 | 2,1 |
| К96-13А | 500 | 400 | 10500 | 5,3 | 2,1 |
| К96-14А | 500 | 400 | 10500 | 5,3 | 2,1 |
| К96-15А | 500 | 400 | 10500 | 5,3 | 2,1 |
| К96-16А | 500 | 400 | 10500 | 5,3 | 2,1 |
| К96-17А | 500 | 400 | 10500 | 5,5 | 2,1 |
| К96-54А | 500 | 400 | 10500 | 5,7 | 2,1 |
| К96-52А | 500 | 500 | 10500 | 6,6 | 2,63 |
Колонны ЖБИ Серия РК 1101-87
| Номенклатура | Габариты (l,b,h), мм | Масса, т | ||
| К-21 | 1500 | 400 | 300 | 0,5 |
| К-25 | 1900 | 400 | 300 | 0,630 |
| К-32 | 2600 | 400 | 300 | 0,830 |
| К-36 | 3000 | 400 | 300 | 0,95 |
Колонны ЖБИ Серия 3.006.1-3/83, выпуск 1-3
| Номенклатура | Габариты (l,b,h), мм | Масса, т | ||
| К24 | 1760 | 500 | 400 | 0,55 |
| К27 | 2060 | 500 | 400 | 0,65 |
| К30 | 2380 | 500 | 400 | 0,75 |
| К30 | 2680 | 500 | 400 | 0,83 |
| К30 | 2680 | 500 | 400 | 0,93 |
Колонны ЖБИ Серия 3.507-1, выпуск 2
| Номенклатура | Габариты (l,b,h), мм | Масса, т | ||
| ПТ-К1 | 2440 | 500 | 400 | 1,22 |
Колонны ЖБИ Серия ЖУК 99
| Номенклатура | Габариты (l,b,h), мм | Масса, т | ||
| К1 | 2600 | 400 | 250 | 0,65 |
| К1 | 2600 | 400 | 300 | 0,78 |
| К2 | 2600 | 250 | 250 | 0,4 |
| КН3 | 1600 | 400 | 250 | 0,48 |
| КН4 | 1600 | 300 | 250 | 0,36 |
Выпуск 2-1. Колонны для зданий с высотой этажа 3.3 м. Серия 1.020-1/87
| Номенклатура | Габариты (l,b,h), мм | Масса, т | ||
| 1КБД 33-1.23 | 4300 | 400 | 400 | 1,78 |
| 1КБД 33-2.23 | 4300 | 400 | 400 | 1,78 |
| 1КБО 33-1.23 | 4300 | 400 | 400 | 1,75 |
| 1КБО 33-2.23 | 4300 | 400 | 400 | 1,75 |
| 1КБ 33-23 | 4300 | 400 | 400 | 1,73 |
| 1КВД 24-1.23 | 1650 | 400 | 400 | 0,70 |
| 1КВО 24-1.23 | 1650 | 400 | 400 | 0,68 |
| 1КВД 33-1.23 | 2550 | 400 | 400 | 1,08 |
| 1КВД 33-2.23 | 2550 | 400 | 400 | 1,08 |
| 1КВО 33-1.23 | 2550 | 400 | 400 | 1,05 |
| 1КВО 33-2.23 | 2550 | 400 | 400 | 1,05 |
| 1КВ 33-26 | 2550 | 400 | 400 | 1,03 |
| 1КНД 33-1.33 | 5050 | 400 | 400 | 2,10 |
| 1КНД 33-1.40 | 5050 | 400 | 400 | 2,10 |
| 1КНД 33-1.45 | 5050 | 400 | 400 | 2,10 |
| 1КНД 33-1.48 | 5050 | 400 | 400 | 2,10 |
| 1КНД 33-2.33 | 5050 | 400 | 400 | 2,10 |
| 1КНД 33-2.40 | 5050 | 400 | 400 | 2,10 |
| 1КНД 33-2.45 | 5050 | 400 | 400 | 2,10 |
| 1КНД 33-2.48 | 5050 | 400 | 400 | 2,10 |
| 1КНД 33-2.54 | 5050 | 400 | 400 | 2,10 |
| 1КНО 33-1.33 | 5050 | 400 | 400 | 2,08 |
| 1КНО 33-1.40 | 5050 | 400 | 400 | 2,08 |
| 1КНО 33-1.45 | 5050 | 400 | 400 | 2,08 |
| 1КНО 33-1.48 | 5050 | 400 | 400 | 2,08 |
| 1КНО 33-2.33 | 5050 | 400 | 400 | 2,08 |
| 1КНО 33-2.40 | 5050 | 400 | 400 | 2,08 |
| 1КНО 33-2.45 | 5050 | 400 | 400 | 2,08 |
| 1КНО 33-2.48 | 5050 | 400 | 400 | 2,08 |
| 1КНО 33-2.54 | 5050 | 400 | 400 | 2,08 |
| 1КН 33-33 | 5050 | 400 | 400 | 2,05 |
| 1КН 33-40 | 5050 | 400 | 400 | 2,05 |
| 1КН 33-45 | 5050 | 400 | 400 | 2,05 |
| 1КН 33-48 | 5050 | 400 | 400 | 2,05 |
| 1КНД 33(30)-1.23 | 4550 | 400 | 400 | 1,88 |
| 1КНД 33(30)-1.26 | 4550 | 400 | 400 | 1,88 |
| 1КНД 33(30)-1.33 | 4550 | 400 | 400 | 1,88 |
| 1КНД 33(30)-1.37 | 4550 | 400 | 400 | 1,88 |
| 1КНД 33(30)-1.40 | 4550 | 400 | 400 | 1,88 |
| 1КНД 33(30)-1.46 | 4550 | 400 | 400 | 1,88 |
| 1КНД 33(30)-1.49 | 4550 | 400 | 400 | 1,88 |
| 1КНД 33(30)-2.33 | 4550 | 400 | 400 | 1,88 |
| 1КНД 33(30)-2.40 | 4550 | 400 | 400 | 1,88 |
| 1КНД 33(30)-2.48 | 4550 | 400 | 400 | 1,88 |
| 1КНД 33(30)-2.54 | 4550 | 400 | 400 | 1,88 |
| 1КНД 33(30)-2.59 | 4550 | 400 | 400 | 1,88 |
| 1КНО 33(30)-1.23 | 4550 | 400 | 400 | 1,85 |
| 1КНО 33(30)-1.26 | 4550 | 400 | 400 | 1,85 |
| 1КНО 33(30)-1.33 | 4550 | 400 | 400 | 1,85 |
| 1КНО 33(30)-1.35 | 4550 | 400 | 400 | 1,85 |
| 1КНО 33(30)-1.38 | 4550 | 400 | 400 | 1,85 |
| 1КНО 33(30)-2.26 | 4550 | 400 | 400 | 1,85 |
| 1КНО 33(30)-2.33 | 4550 | 400 | 400 | 1,85 |
| 1КНО 33(30)-2.39 | 4550 | 400 | 400 | 1,85 |
| 1КНО 33(30)-2.44 | 4550 | 400 | 400 | 1,85 |
| 1КНО 33(30)-2.49 | 4550 | 400 | 400 | 1,85 |
| 1КН 33(30)-23 | 4550 | 400 | 400 | 1,83 |
| 1КН 33(30)-26 | 4550 | 400 | 400 | 1,83 |
| 1КН 33(30)-33 | 4550 | 400 | 400 | 1,83 |
| 1КН 33(30)-35 | 4550 | 400 | 400 | 1,83 |
| 1КН 33(30)-38 | 4550 | 400 | 400 | 1,83 |
| 1КН 33(30)-39 | 4550 | 400 | 400 | 1,83 |
| 1КН 33(30)-44 | 4550 | 400 | 400 | 1,83 |
| 1КН 33(30)-49 | 4550 | 400 | 400 | 1,83 |
| 1КСД 33-1.33 | 3300 | 400 | 400 | 1,38 |
| 1КСД 33-1.40 | 3300 | 400 | 400 | 1,38 |
| 1КСД 33-1.45 | 3300 | 400 | 400 | 1,38 |
| 1КСД 33-2.33 | 3300 | 400 | 400 | 1,38 |
| 1КСД 33-2.40 | 3300 | 400 | 400 | 1,38 |
| 1КСД 33-2.45 | 3300 | 400 | 400 | 1,38 |
| 1КСО 33-1.33 | 3300 | 400 | 400 | 1,35 |
| 1КСО 33-1.40 | 3300 | 400 | 400 | 1,35 |
| 1КСО 33-1.45 | 3300 | 400 | 400 | 1,35 |
| 1КСО 33-2.33 | 3300 | 400 | 400 | 1,35 |
| 1КСО 33-2.40 | 3300 | 400 | 400 | 1,35 |
| 1КСО 33-2.45 | 3300 | 400 | 400 | 1,35 |
| 1КС 33-33 | 3300 | 400 | 400 | 1,33 |
| 1КС 33-40 | 3300 | 400 | 400 | 1,33 |
| 1КС 33-45 | 3300 | 400 | 400 | 1,33 |
| 2КБД 33-1.23 | 7600 | 400 | 400 | 3,15 |
| 2КБД 33-2.23 | 7600 | 400 | 400 | 3,15 |
| 2КБО 33-1.23 | 7600 | 400 | 400 | 3,10 |
| 2КБО 33-2.23 | 7600 | 400 | 400 | 3,10 |
| 2КБ 33-23 | 7600 | 400 | 400 | 3,05 |
| 2КБД 33(20)-1.23 | 5900 | 400 | 400 | 2,43 |
| 2КБД 33(20)-2.23 | 5900 | 400 | 400 | 2,43 |
| 2КБО 33(20)-1.23 | 5900 | 400 | 400 | 2,38 |
| 2КБО 33(20)-2.23 | 5900 | 400 | 400 | 2,38 |
| 2КБ 33(20)-23 | 5900 | 400 | 400 | 2,33 |
| 2КБД 33(30)-1.23 | 7100 | 400 | 400 | 2,95 |
| 2КБД 33(30)-2.23 | 7100 | 400 | 400 | 2,95 |
| 2КБО 33(30)-1.23 | 7100 | 400 | 400 | 2,90 |
| 2КБО 33(30)-2.23 | 7100 | 400 | 400 | 2,90 |
| 2КБ 33(30)-23 | 7100 | 400 | 400 | 2,85 |
| 2КВД 33-1.23 | 5850 | 400 | 400 | 2,43 |
| 2КВД 33-2.23 | 5850 | 400 | 400 | 2,43 |
| 2КВО 33-1.23 | 5850 | 400 | 400 | 2,38 |
| 2КВО 33-2.23 | 5850 | 400 | 400 | 2,38 |
| 2КВ 33-23 | 5850 | 400 | 400 | 2,33 |
| 2КНД 33(30)-1.23 | 7850 | 400 | 400 | 3,25 |
| 2КНД 33(30)-1.26 | 7850 | 400 | 400 | 3,25 |
| 2КНД 33(30)-1.33 | 7850 | 400 | 400 | 3,25 |
| 2КНД 33(30)-2.33 | 7850 | 400 | 400 | 3,25 |
| 2КНО 33(30)-1.23 | 7850 | 400 | 400 | 3,20 |
| 2КНО 33(30)-1.26 | 7850 | 400 | 400 | 3,20 |
| 2КНО 33(30)-1.33 | 7850 | 400 | 400 | 3,20 |
| 2КНО 33(30)-2.26 | 7850 | 400 | 400 | 3,20 |
| 2КНО 33(30)-2.33 | 7850 | 400 | 400 | 3,20 |
| 2КН 33(30)-23 | 7850 | 400 | 400 | 3,15 |
| 2КН 33(30)-26 | 7850 | 400 | 400 | 3,15 |
| 2КН 33(30)-33 | 7850 | 400 | 400 | 3,15 |
| 2КНД 33(20)-1.23 | 6650 | 400 | 400 | 2,75 |
| 2КНД 33(20)-1.26 | 6650 | 400 | 400 | 2,75 |
| 2КНД 33(20)-2.33 | 6650 | 400 | 400 | 2,75 |
| 2КНО 33(20)-1.23 | 6650 | 400 | 400 | 2,70 |
| 2КНО 33(20)-2.26 | 6650 | 400 | 400 | 2,70 |
| 2КНО 33(20)-2.33 | 6650 | 400 | 400 | 2,70 |
| 2КН 33(20)-23 | 6650 | 400 | 400 | 2,65 |
| 2КН 33(20)-26 | 6650 | 400 | 400 | 2,65 |
| 2КН 33(20)-33 | 6650 | 400 | 400 | 2,65 |
| 2КНД 42(30)-1.22 | 8750 | 400 | 400 | 3,60 |
| 2КНД 42(30)-1.25 | 8750 | 400 | 400 | 3,60 |
| 2КНД 42(30)-2.32 | 8750 | 400 | 400 | 3,60 |
| 2КНО 42(30)-1.22 | 8750 | 400 | 400 | 3,55 |
| 2КНО 42(30)-2.25 | 8750 | 400 | 400 | 3,55 |
| 2КНО 42(30)-2.32 | 8750 | 400 | 400 | 3,55 |
| 2КН 42(30)-22 | 8750 | 400 | 400 | 3,50 |
| 2КН 42(30)-25 | 8750 | 400 | 400 | 3,50 |
| 2КН 42(30)-32 | 8750 | 400 | 400 | 3,50 |
| 3КБД 33(30)-1.23 | 10400 | 400 | 400 | 4,33 |
| 3КБД 33(30)-2.26 | 10400 | 400 | 400 | 4,33 |
| 3КБО 33(30)-1.23 | 10400 | 400 | 400 | 4,25 |
| 3КБО 33(30)-2.23 | 10400 | 400 | 400 | 4,25 |
| 3КБ 33(30)-23 | 10400 | 400 | 400 | 4,17 |
| 3КБ 33(30)-24 | 10400 | 400 | 400 | 4,17 |
| 3КБД 33-1.23 | 10900 | 400 | 400 | 4,50 |
| 3КБД 33-2.26 | 10900 | 400 | 400 | 4,50 |
| 3КБО 33-1.23 | 10900 | 400 | 400 | 4,43 |
| 3КБО 33-2.23 | 10900 | 400 | 400 | 4,43 |
| 3КБ 33-23 | 10900 | 400 | 400 | 4,35 |
| 3КБ 33-26 | 10900 | 400 | 400 | 4,35 |
| 3КВД 33-1.23 | 9150 | 400 | 400 | 3,80 |
| 3КВД 33-2.26 | 9150 | 400 | 400 | 3,80 |
| 3КВО 33-1.23 | 9150 | 400 | 400 | 3,73 |
| 3КВО 33-2.23 | 9150 | 400 | 400 | 3,73 |
| 3КВ 33-23 | 9150 | 400 | 400 | 3,65 |
| 3КНД 33-1.23 | 11650 | 400 | 400 | 4,80 |
| 3КНД 33-1.26 | 11650 | 400 | 400 | 4,80 |
| 3КНД 33-1.33 | 11650 | 400 | 400 | 4,80 |
| 3КНД 33-1.59 | 11650 | 400 | 400 | 4,80 |
| 3КНД 33-2.33 | 11650 | 400 | 400 | 4,80 |
| 3КНД 33-2.59 | 11650 | 400 | 400 | 4,80 |
| 3КНО 33-1.23 | 11650 | 400 | 400 | 4,73 |
| 3КНО 33-1.26 | 11650 | 400 | 400 | 4,73 |
| 3КНО 33-1.33 | 11650 | 400 | 400 | 4,73 |
| 3КНО 33-2.26 | 11650 | 400 | 400 | 4,73 |
| 3КНО 33-2.33 | 11650 | 400 | 400 | 4,73 |
| 3КН 33-23 | 11650 | 400 | 400 | 4,65 |
| 3КН 33-26 | 11650 | 400 | 400 | 4,65 |
| 3КН 33-33 | 11650 | 400 | 400 | 4,65 |
| 3КНД 33(30)-1.23 | 11150 | 400 | 400 | 4,60 |
| 3КНД 33(30)-1.26 | 11150 | 400 | 400 | 4,60 |
| 3КНД 33(30)-1.33 | 11150 | 400 | 400 | 4,60 |
| 3КНД 33(30)-1.59 | 11150 | 400 | 400 | 4,60 |
| 3КНД 33(30)-2.33 | 11150 | 400 | 400 | 4,60 |
| 3КНД 33(30)-2.59 | 11150 | 400 | 400 | 4,60 |
| 3КНО 33(30)-1.23 | 11150 | 400 | 400 | 4,53 |
| 3КНО 33(30)-1.26 | 11150 | 400 | 400 | 4,53 |
| 3КНО 33(30)-1.33 | 11150 | 400 | 400 | 4,53 |
| 3КНО 33(30)-2.26 | 11150 | 400 | 400 | 4,53 |
| 3КНО 33(30)-2.33 | 11150 | 400 | 400 | 4,53 |
| 3КН 33(30)-23 | 11150 | 400 | 400 | 4,45 |
| 3КН 33(30)-26 | 11150 | 400 | 400 | 4,45 |
| 3КН 33(30)-33 | 11150 | 400 | 400 | 4,45 |
| 3КСД 33-1.23 | 9900 | 400 | 400 | 4,10 |
| 3КСД 33-1.26 | 9900 | 400 | 400 | 4,10 |
| 3КСД 33-1.33 | 9900 | 400 | 400 | 4,10 |
| 3КСД 33-1.37 | 9900 | 400 | 400 | 4,10 |
| 3КСД 33-1.42 | 9900 | 400 | 400 | 4,10 |
| 3КСД 33-1.45 | 9900 | 400 | 400 | 4,10 |
| 3КСД 33-2.33 | 9900 | 400 | 400 | 4,10 |
| 3КСД 33-2.40 | 9900 | 400 | 400 | 4,10 |
| 3КСД 33-2.45 | 9900 | 400 | 400 | 4,10 |
| 3КСО 33-1.23 | 9900 | 400 | 400 | 4,03 |
| 3КСО 33-1.26 | 9900 | 400 | 400 | 4,03 |
| 3КСО 33-1.33 | 9900 | 400 | 400 | 4,03 |
| 3КСО 33-1.34 | 9900 | 400 | 400 | 4,03 |
| 3КСО 33-2.26 | 9900 | 400 | 400 | 4,03 |
| 3КСО 33-2.33 | 9900 | 400 | 400 | 4,03 |
| 3КС 33-23 | 9900 | 400 | 400 | 3,95 |
| 3КС 33-26 | 9900 | 400 | 400 | 3,95 |
| 3КС 33-33 | 9900 | 400 | 400 | 3,95 |
| 3КС 33-34 | 9900 | 400 | 400 | 3,95 |
Выпуск 2-12. Колонны из бетона класса В30 для зданий с высотой этажа 3.3 м. Серия 1.020-1/87
| Номенклатура | Габариты (l,b,h), мм | Масса, т | ||
| 1КНД 33-1.26 | 5050 | 400 | 400 | 2,1 |
| 1КНД 33-1.32 | 5050 | 400 | 400 | 2,1 |
| 1КНД 33-1.38 | 5050 | 400 | 400 | 2,1 |
| 1КНД 33-1.48 | 5050 | 400 | 400 | 2,1 |
| 1КНД 33-2.26 | 5050 | 400 | 400 | 2,1 |
| 1КНД 33-2.32 | 5050 | 400 | 400 | 2,1 |
| 1КНД 33-2.38 | 5050 | 400 | 400 | 2,1 |
| 1КНД 33-2.48 | 5050 | 400 | 400 | 2,1 |
| 1КНД 33-2.53 | 5050 | 400 | 400 | 2,1 |
| 1КНО 33-1.26 | 5050 | 400 | 400 | 2,08 |
| 1КНО 33-1.32 | 5050 | 400 | 400 | 2,08 |
| 1КНО 33-1.38 | 5050 | 400 | 400 | 2,08 |
| 1КНО 33-1.48 | 5050 | 400 | 400 | 2,08 |
| 1КНО 33-2.26 | 5050 | 400 | 400 | 2,08 |
| 1КНО 33-2.32 | 5050 | 400 | 400 | 2,08 |
| 1КНО 33-2.38 | 5050 | 400 | 400 | 2,08 |
| 1КНО 33-2.48 | 5050 | 400 | 400 | 2,08 |
| 1КНО 33-2.53 | 5050 | 400 | 400 | 2,08 |
| 1КН 33-26 | 5050 | 400 | 400 | 2,05 |
| 1КН 33-32 | 5050 | 400 | 400 | 2,05 |
| 1КН 33-38 | 5050 | 400 | 400 | 2,05 |
| 1КН 33-48 | 5050 | 400 | 400 | 2,05 |
| 1КНД 33(30)-1.30 | 4550 | 400 | 400 | 1,88 |
| 1КНД 33(30)-1.33 | 4550 | 400 | 400 | 1,88 |
| 1КНД 33(30)-1.39 | 4550 | 400 | 400 | 1,88 |
| 1КНД 33(30)-1.42 | 4550 | 400 | 400 | 1,88 |
| 1КНД 33(30)-2.26 | 4550 | 400 | 400 | 1,88 |
| 1КНД 33(30)-2.30 | 4550 | 400 | 400 | 1,88 |
| 1КНД 33(30)-2.37 | 4550 | 400 | 400 | 1,88 |
| 1КНД 33(30)-2.46 | 4550 | 400 | 400 | 1,88 |
| 1КНО 33(30)-1.32 | 4550 | 400 | 400 | 1,85 |
| 1КНО 33(30)-1.36 | 4550 | 400 | 400 | 1,85 |
| 1КНО 33(30)-2.30 | 4550 | 400 | 400 | 1,85 |
| 1КНО 33(30)-2.33 | 4550 | 400 | 400 | 1,85 |
| 1КН 33(30)-30 | 4550 | 400 | 400 | 1,83 |
| 1КН 33(30)-32 | 4550 | 400 | 400 | 1,83 |
| 1КН 33(30)-33 | 4550 | 400 | 400 | 1,83 |
| 1КН 33(30)-36 | 4550 | 400 | 400 | 1,83 |
| 1КСД 33-1.32 | 3300 | 400 | 400 | 1,38 |
| 1КСД 33-1.38 | 3300 | 400 | 400 | 1,38 |
| 1КСД 33-2.32 | 3300 | 400 | 400 | 1,38 |
| 1КСД 33-2.38 | 3300 | 400 | 400 | 1,38 |
| 1КСО 33-1.32 | 3300 | 400 | 400 | 1,35 |
| 1КСО 33-1.35 | 3300 | 400 | 400 | 1,35 |
| 1КСО 33-2.32 | 3300 | 400 | 400 | 1,35 |
| 1КСО 33-2.38 | 3300 | 400 | 400 | 1,35 |
| 1КС 33-32 | 3300 | 400 | 400 | 1,33 |
| 1КС 33-38 | 3300 | 400 | 400 | 1,33 |
| 2КНД 33(20)-2.26 | 6650 | 400 | 400 | 2,75 |
| 2КНД 33(20)-2.26/30 | 6650 | 400 | 400 | 2,75 |
| 2КНД 33(20)-2.29/37 | 6650 | 400 | 400 | 2,75 |
| 2КНО 33(20)-2.26/30 | 6650 | 400 | 400 | 2,70 |
| 2КН 33(20)-26/30 | 6650 | 400 | 400 | 2,65 |
| 2КНД 33(30)-1.26/30 | 7850 | 400 | 400 | 3,25 |
| 2КНД 33(30)-1.30/33 | 7850 | 400 | 400 | 3,25 |
| 2КНД 33(30)-1.34/39 | 7850 | 400 | 400 | 3,25 |
| 2КНД 33(30)-1.39/42 | 7850 | 400 | 400 | 3,25 |
| 2КНД 33(30)-1.43/48 | 7850 | 400 | 400 | 3,25 |
| 2КНД 33(30)-2.26 | 7850 | 400 | 400 | 3,25 |
| 2КНД 33(30)-2.26/30 | 7850 | 400 | 400 | 3,25 |
| 2КНД 33(30)-2.33/38 | 7850 | 400 | 400 | 3,25 |
| 2КНД 33(30)-2.37/45 | 7850 | 400 | 400 | 3,25 |
| 2КНД 33(30)-2.45/53 | 7850 | 400 | 400 | 3,25 |
| 2КНО 33(30)-1.28/32 | 7850 | 400 | 400 | 3,20 |
| 2КНО 33(30)-1.29/34 | 7850 | 400 | 400 | 3,20 |
| 2КНО 33(30)-1.35/38 | 7850 | 400 | 400 | 3,20 |
| 2КНО 33(30)-2.26/30 | 7850 | 400 | 400 | 3,20 |
| 2КНО 33(30)-2.30/33 | 7850 | 400 | 400 | 3,20 |
| 2КНО 33(30)-2.34/39 | 7850 | 400 | 400 | 3,20 |
| 2КН 33(30)-26/30 | 7850 | 400 | 400 | 3,15 |
| 2КН 33(30)-28/32 | 7850 | 400 | 400 | 3,15 |
| 2КН 33(30)-29/34 | 7850 | 400 | 400 | 3,15 |
| 2КН 33(30)-30/33 | 7850 | 400 | 400 | 3,15 |
| 2КН 33(30)-34/39 | 7850 | 400 | 400 | 3,15 |
| 2КН 33(30)-35/38 | 7850 | 400 | 400 | 3,15 |
| 2КНД 42(30)-2.29/37 | 8750 | 400 | 400 | 3,60 |
| 2КНО 42(30)-2.25/29 | 8750 | 400 | 400 | 3,55 |
| 2КН 42(30)-25/29 | 8750 | 400 | 400 | 3,50 |
| 3КНД 33-1.26/30 | 11650 | 400 | 400 | 4,80 |
| 3КНД 33-1.26/33 | 11650 | 400 | 400 | 4,80 |
| 3КНД 33-1.29/39 | 11650 | 400 | 400 | 4,80 |
| 3КНД 33-1.35/42 | 11650 | 400 | 400 | 4,80 |
| 3КНД 33-1.38/48 | 11650 | 400 | 400 | 4,80 |
| 3КНД 33-1.53 | 11650 | 400 | 400 | 4,80 |
| 3КНД 33-2.26/30 | 11650 | 400 | 400 | 4,80 |
| 3КНД 33-2.26/38 | 11650 | 400 | 400 | 4,80 |
| 3КНД 33-2.29/45 | 11650 | 400 | 400 | 4,80 |
| 3КНД 33-2.38/53 | 11650 | 400 | 400 | 4,80 |
| 3КНО 33-1.28/32 | 11650 | 400 | 400 | 4,73 |
| 3КНО 33-1.29/34 | 11650 | 400 | 400 | 4,73 |
| 3КНО 33-1.32/38 | 11650 | 400 | 400 | 4,73 |
| 3КНО 33-1.35/41 | 11650 | 400 | 400 | 4,73 |
| 3КНО 33-2.26/30 | 11650 | 400 | 400 | 4,73 |
| 3КНО 33-2.26/33 | 11650 | 400 | 400 | 4,73 |
| 3КНО 33-2.29/39 | 11650 | 400 | 400 | 4,73 |
| 3КН 33-26/30 | 11650 | 400 | 400 | 4,65 |
| 3КН 33-26/33 | 11650 | 400 | 400 | 4,65 |
| 3КН 33-28/32 | 11650 | 400 | 400 | 4,65 |
| 3КН 33-29/34 | 11650 | 400 | 400 | 4,65 |
| 3КН 33-29/39 | 11650 | 400 | 400 | 4,65 |
| 3КН 33-32/38 | 11650 | 400 | 400 | 4,65 |
| 3КН 33-35/41 | 11650 | 400 | 400 | 4,65 |
| 3КНД 33(30)-1.26/30 | 11150 | 400 | 400 | 4,60 |
| 3КНД 33(30)-1.26/33 | 11150 | 400 | 400 | 4,60 |
| 3КНД 33(30)-1.29/39 | 11150 | 400 | 400 | 4,60 |
| 3КНД 33(30)-1.35/42 | 11150 | 400 | 400 | 4,60 |
| 3КНД 33(30)-1.38/48 | 11150 | 400 | 400 | 4,60 |
| 3КНД 33(30)-1.53 | 11150 | 400 | 400 | 4,60 |
| 3КНД 33(30)-2.26/30 | 11150 | 400 | 400 | 4,60 |
| 3КНД 33(30)-2.26/38 | 11150 | 400 | 400 | 4,60 |
| 3КНД 33(30)-2.29/45 | 11150 | 400 | 400 | 4,60 |
| 3КНД 33(30)-2.38/53 | 11150 | 400 | 400 | 4,60 |
| 3КНО 33(30)-1.28/32 | 11150 | 400 | 400 | 4,53 |
| 3КНО 33(30)-1.29/34 | 11150 | 400 | 400 | 4,53 |
| 3КНО 33(30)-1.32/38 | 11150 | 400 | 400 | 4,53 |
| 3КНО 33(30)-1.35/41 | 11150 | 400 | 400 | 4,53 |
| 3КНО 33(30)-2.26/30 | 11150 | 400 | 400 | 4,53 |
| 3КНО 33(30)-2.26/33 | 11150 | 400 | 400 | 4,53 |
| 3КНО 33(30)-2.29/39 | 11150 | 400 | 400 | 4,53 |
| 3КН 33(30)-26/30 | 11150 | 400 | 400 | 4,45 |
| 3КН 33(30)-26/33 | 11150 | 400 | 400 | 4,45 |
| 3КН 33(30)-28/32 | 11150 | 400 | 400 | 4,45 |
| 3КН 33(30)-29/34 | 11150 | 400 | 400 | 4,45 |
| 3КН 33(30)-29/39 | 11150 | 400 | 400 | 4,45 |
| 3КН 33(30)-32/38 | 11150 | 400 | 400 | 4,45 |
| 3КН 33(30)-35/41 | 11150 | 400 | 400 | 4,45 |
| 3КСД 33-1.29 | 9900 | 400 | 400 | 4,10 |
| 3КСД 33-1.35 | 9900 | 400 | 400 | 4,10 |
| 3КСД 33-1.38 | 9900 | 400 | 400 | 4,10 |
| 3КСД 33-2.29 | 9900 | 400 | 400 | 4,10 |
| 3КСД 33-2.38 | 9900 | 400 | 400 | 4,10 |
| 3КСО 33-1.32 | 9900 | 400 | 400 | 4,03 |
| 3КСО 33-1.35 | 9900 | 400 | 400 | 4,03 |
| 3КСО 33-2.29 | 9900 | 400 | 400 | 4,03 |
| 3КС 33-29 | 9900 | 400 | 400 | 3,95 |
| 3КС 33-32 | 9900 | 400 | 400 | 3,95 |
| 3КС 33-35 | 9900 | 400 | 400 | 3,95 |
Выпуск 2-14. Колонны из бетона класса В30 для зданий с высотой этажа 3.6 м. Серия 1.020-1/87
| Номенклатура | Габариты (l,b,h), мм | Масса, т | ||
| 1КНД 36-1.32 | 5350 | 400 | 400 | 2,2 |
| 1КНД 36-1.38 | 5350 | 400 | 400 | 2,2 |
| 1КНД 36-1.53 | 5350 | 400 | 400 | 2,2 |
| 1КНД 36-2.32 | 5350 | 400 | 400 | 2,2 |
| 1КНД 36-2.38 | 5350 | 400 | 400 | 2,2 |
| 1КНД 36-2.53 | 5350 | 400 | 400 | 2,2 |
| 1КНД 36-3.32 | 5350 | 400 | 400 | 2,2 |
| 1КНД 36-3.38 | 5350 | 400 | 400 | 2,2 |
| 1КНД 36-3.53 | 5350 | 400 | 400 | 2,2 |
| 1КНО 36-1.32 | 5350 | 400 | 400 | 2,18 |
| 1КНО 36-1.38 | 5350 | 400 | 400 | 2,18 |
| 1КНО 36-1.50 | 5350 | 400 | 400 | 2,18 |
| 1КНО 36-2.32 | 5350 | 400 | 400 | 2,18 |
| 1КНО 36-2.38 | 5350 | 400 | 400 | 2,18 |
| 1КНО 36-2.50 | 5350 | 400 | 400 | 2,18 |
| 1КНО 36-3.32 | 5350 | 400 | 400 | 2,18 |
| 1КНО 36-3.38 | 5350 | 400 | 400 | 2,18 |
| 1КНО 36-3.50 | 5350 | 400 | 400 | 2,18 |
| 1КН 36-32 | 5350 | 400 | 400 | 2,15 |
| 1КН 36-38 | 5350 | 400 | 400 | 2,15 |
| 1КН 36-50 | 5350 | 400 | 400 | 2,15 |
| 1КСД 36-1.32 | 3600 | 400 | 400 | 1,50 |
| 1КСД 36-1.38 | 3600 | 400 | 400 | 1,50 |
| 1КСД 36-2.32 | 3600 | 400 | 400 | 1,50 |
| 1КСД 36-2.38 | 3600 | 400 | 400 | 1,50 |
| 1КСД 36-3.32 | 3600 | 400 | 400 | 1,50 |
| 1КСД 36-3.38 | 3600 | 400 | 400 | 1,50 |
| 1КСО 36-1.32 | 3600 | 400 | 400 | 1,48 |
| 1КСО 36-1.38 | 3600 | 400 | 400 | 1,48 |
| 1КСО 36-2.32 | 3600 | 400 | 400 | 1,48 |
| 1КСО 36-2.38 | 3600 | 400 | 400 | 1,48 |
| 1КСО 36-3.32 | 3600 | 400 | 400 | 1,48 |
| 1КСО 36-3.38 | 3600 | 400 | 400 | 1,48 |
| 1КС 36-32 | 3600 | 400 | 400 | 1,45 |
| 1КС 36-38 | 3600 | 400 | 400 | 1,45 |
| 3КВД 36-3.28/37 | 11870 | 400 | 400 | 4,88 |
| 3КНД 36-1.27/31 | 12550 | 400 | 400 | 5,18 |
| 3КНД 36-1.30/34 | 12550 | 400 | 400 | 5,18 |
| 3КНД 36-1.30/37 | 12550 | 400 | 400 | 5,18 |
| 3КНД 36-1.32/42 | 12550 | 400 | 400 | 5,18 |
| 3КНД 36-1.38/47 | 12550 | 400 | 400 | 5,18 |
| 3КНД 36-1.38/53 | 12550 | 400 | 400 | 5,18 |
| 3КНД 36-2.26/29 | 12550 | 400 | 400 | 5,18 |
| 3КНД 36-2.30/37 | 12550 | 400 | 400 | 5,18 |
| 3КНД 36-2.32/44 | 12550 | 400 | 400 | 5,18 |
| 3КНД 36-2.38/53 | 12550 | 400 | 400 | 5,18 |
| 3КНД 36-3.34/49 | 12550 | 400 | 400 | 5,18 |
| 3КНД 36-3.38/53 | 12550 | 400 | 400 | 5,18 |
| 3КНО 36-1.27/31 | 12550 | 400 | 400 | 5,10 |
| 3КНО 36-1.30/33 | 12550 | 400 | 400 | 5,10 |
| 3КНО 36-1.30/37 | 12550 | 400 | 400 | 5,10 |
| 3КНО 36-1.35/39 | 12550 | 400 | 400 | 5,10 |
| 3КНО 36-2.26/29 | 12550 | 400 | 400 | 5,10 |
| 3КНО 36-2.30/33 | 12550 | 400 | 400 | 5,10 |
| 3КНО 36-2.30/37 | 12550 | 400 | 400 | 5,10 |
| 3КНО 36-2.35/39 | 12550 | 400 | 400 | 5,10 |
| 3КНО 36-3.28/37 | 12550 | 400 | 400 | 5,10 |
| 3КНО 36-3.35/39 | 12550 | 400 | 400 | 5,10 |
| 3КН 36-27/31 | 12550 | 400 | 400 | 5,02 |
| 3КН 36-30/33 | 12550 | 400 | 400 | 5,02 |
| 3КН 36-30/37 | 12550 | 400 | 400 | 5,02 |
| 3КН 36-35/39 | 12550 | 400 | 400 | 5,02 |
| 3КСД 36-1.30 | 10800 | 400 | 400 | 4,48 |
| 3КСД 36-1.32 | 10800 | 400 | 400 | 4,48 |
| 3КСД 36-1.38 | 10800 | 400 | 400 | 4,48 |
| 3КСД 36-2.30 | 10800 | 400 | 400 | 4,48 |
| 3КСД 36-2.38 | 10800 | 400 | 400 | 4,48 |
| 3КСД 36-3.32 | 10800 | 400 | 400 | 4,48 |
| 3КСД 36-3.38 | 10800 | 400 | 400 | 4,48 |
| 3КСО 36-1.30 | 10800 | 400 | 400 | 4,40 |
| 3КСО 36-3.32 | 10800 | 400 | 400 | 4,40 |
| 3КСО 36-3.35 | 10800 | 400 | 400 | 4,40 |
| 3КС 36-30 | 10800 | 400 | 400 | 4,33 |
| 3КС 36-32 | 10800 | 400 | 400 | 4,33 |
| 3КС 36-35 | 10800 | 400 | 400 | 4,33 |
Выпуск 2-16. Колонны из бетона класса В30 для зданий с высотой этажа 4.2 м. Серия 1.020-1/87
| Номенклатура | Габариты (l,b,h), мм | Масса, т | ||
| 1КНД 42-1.32 | 5950 | 400 | 400 | 2,43 |
| 1КНД 42-1.37 | 5950 | 400 | 400 | 2,43 |
| 1КНД 42-1.52 | 5950 | 400 | 400 | 2,43 |
| 1КНД 42-2.32 | 5950 | 400 | 400 | 2,43 |
| 1КНД 42-2.37 | 5950 | 400 | 400 | 2,43 |
| 1КНД 42-2.52 | 5950 | 400 | 400 | 2,43 |
| 1КНД 42-3.32 | 5950 | 400 | 400 | 2,43 |
| 1КНД 42-3.37 | 5950 | 400 | 400 | 2,43 |
| 1КНД 42-3.52 | 5950 | 400 | 400 | 2,43 |
| 1КНО 42-1.32 | 5950 | 400 | 400 | 2,40 |
| 1КНО 42-1.37 | 5950 | 400 | 400 | 2,40 |
| 1КНО 42-1.49 | 5950 | 400 | 400 | 2,40 |
| 1КНО 42-2.32 | 5950 | 400 | 400 | 2,40 |
| 1КНО 42-2.37 | 5950 | 400 | 400 | 2,40 |
| 1КНО 42-2.49 | 5950 | 400 | 400 | 2,40 |
| 1КНО 42-3.32 | 5950 | 400 | 400 | 2,40 |
| 1КНО 42-3.37 | 5950 | 400 | 400 | 2,40 |
| 1КНО 42-3.49 | 5950 | 400 | 400 | 2,40 |
| 1КН 42-32 | 5950 | 400 | 400 | 2,36 |
| 1КН 42-37 | 5950 | 400 | 400 | 2,36 |
| 1КН 42-49 | 5950 | 400 | 400 | 2,36 |
| 1КСД 42-1.32 | 4200 | 400 | 400 | 1,73 |
| 1КСД 42-1.37 | 4200 | 400 | 400 | 1,73 |
| 1КСД 42-2.32 | 4200 | 400 | 400 | 1,73 |
| 1КСД 42-2.37 | 4200 | 400 | 400 | 1,73 |
| 1КСД 42-3.32 | 4200 | 400 | 400 | 1,73 |
| 1КСД 42-3.37 | 4200 | 400 | 400 | 1,73 |
| 1КСО 42-1.32 | 4200 | 400 | 400 | 1,70 |
| 1КСО 42-1.37 | 4200 | 400 | 400 | 1,70 |
| 1КСО 42-2.32 | 4200 | 400 | 400 | 1,70 |
| 1КСО 42-2.37 | 4200 | 400 | 400 | 1,70 |
| 1КСО 42-3.32 | 4200 | 400 | 400 | 1,70 |
| 1КСО 42-3.37 | 4200 | 400 | 400 | 1,70 |
| 1КС 42-32 | 4200 | 400 | 400 | 1,68 |
| 1КС 42-37 | 4200 | 400 | 400 | 1,68 |
| 2КНД 42-1.29 | 10150 | 400 | 400 | 4,15 |
| 2КНД 42-1.29/36 | 10150 | 400 | 400 | 4,15 |
| 2КНД 42-1.32/41 | 10150 | 400 | 400 | 4,15 |
| 2КНД 42-1.45/52 | 10150 | 400 | 400 | 4,15 |
| 2КНД 42-2.29 | 10150 | 400 | 400 | 4,15 |
| 2КНД 42-2.29/39 | 10150 | 400 | 400 | 4,15 |
| 2КНД 42-2.38/44 | 10150 | 400 | 400 | 4,15 |
| 2КНД 42-2.45/52 | 10150 | 400 | 400 | 4,15 |
| 2КНД 42-3.37/49 | 10150 | 400 | 400 | 4,15 |
| 2КНД 42-3.45/52 | 10150 | 400 | 400 | 4,15 |
| 2КНО 42-1.29 | 10150 | 400 | 400 | 4,10 |
| 2КНО 42-1.29/33 | 10150 | 400 | 400 | 4,10 |
| 2КНО 42-2.29 | 10150 | 400 | 400 | 4,10 |
| 2КНО 42-2.29/33 | 10150 | 400 | 400 | 4,10 |
| 2КНО 42-2.34/38 | 10150 | 400 | 400 | 4,10 |
| 2КНО 42-2.40/46 | 10150 | 400 | 400 | 4,10 |
| 2КНО 42-3.32/37 | 10150 | 400 | 400 | 4,10 |
| 2КНО 42-3.35/39 | 10150 | 400 | 400 | 4,10 |
| 2КНО 42-3.40/46 | 10150 | 400 | 400 | 4,10 |
| 2КН 42-29 | 10150 | 400 | 400 | 4,05 |
| 2КН 42-29/33 | 10150 | 400 | 400 | 4,05 |
| 2КН 42-34/38 | 10150 | 400 | 400 | 4,05 |
| 2КНД 42(20)-3.28/37 | 7550 | 400 | 400 | 3,13 |
| 2КСД 42-1.29 | 8400 | 400 | 400 | 3,45 |
| 2КСД 42-1.32 | 8400 | 400 | 400 | 3,45 |
| 2КСД 42-2.29 | 8400 | 400 | 400 | 3,45 |
| 2КСД 42-2.32 | 8400 | 400 | 400 | 3,45 |
| 2КСД 42-2.37 | 8400 | 400 | 400 | 3,45 |
| 2КСД 42-3.32 | 8400 | 400 | 400 | 3,45 |
| 2КСД 42-3.37 | 8400 | 400 | 400 | 3,45 |
| 2КСО 42-2.29 | 8400 | 400 | 400 | 3,40 |
| 2КСО 42-2.32 | 8400 | 400 | 400 | 3,40 |
| 2КСО 42-2.37 | 8400 | 400 | 400 | 3,40 |
| 2КСО 42-3.32 | 8400 | 400 | 400 | 3,40 |
| 2КС 42-29 | 8400 | 400 | 400 | 3,35 |
| 2КС 42-32 | 8400 | 400 | 400 | 3,35 |
| 3КБД 42-3.28/37 | 13670 | 400 | 400 | 5,60 |
| 3КБО 42-3.28/37 | 13670 | 400 | 400 | 5,53 |
Выпуск 2-18. Колонны из бетона класса В30 для зданий с высотой этажей 4.8; 4.8 (6.0) и 3.6 (4.8) м. Серия 1.020-1/87
| Номенклатура | Габариты (l,b,h), мм | Масса, т | ||
| 2КНД 36(48)-2.36/45 | 9650 | 400 | 400 | 3,45 |
| 2КНД 36(48)-3.36/45 | 9650 | 400 | 400 | 3,45 |
| 2КНД 36(48)-3.39/51 | 9650 | 400 | 400 | 3,45 |
| 2КНД 36(48)-3.41/48 | 9650 | 400 | 400 | 3,45 |
| 2КНД 36(48)-3.46/54 | 9650 | 400 | 400 | 3,45 |
| 2КНО 36(48)-2.36/45 | 9650 | 400 | 400 | 3,45 |
| 2КНО 36(48)-3.36/45 | 9650 | 400 | 400 | 3,40 |
| 2КНО 36(48)-3.39/51 | 9650 | 400 | 400 | 3,40 |
| 2КНО 36(48)-3.41/48 | 9650 | 400 | 400 | 3,40 |
| 2КН 36(48)-36/45 | 9650 | 400 | 400 | 3,35 |
| 2КН 36(48)-41/48 | 9650 | 400 | 400 | 3,35 |
| 2КНД 48-2.36/45 | 10850 | 400 | 400 | 4,45 |
| 2КНД 48-3.36/45 | 10850 | 400 | 400 | 4,45 |
| 2КНД 48-3.39/51 | 10850 | 400 | 400 | 4,45 |
| 2КНД 48-3.41/48 | 10850 | 400 | 400 | 4,45 |
| 2КНД 48-3.46/54 | 10850 | 400 | 400 | 4,45 |
| 2КНО 48-2.36/45 | 10850 | 400 | 400 | 4,40 |
| 2КНО 48-3.36/45 | 10850 | 400 | 400 | 4,40 |
| 2КНО 48-3.39/51 | 10850 | 400 | 400 | 4,40 |
| 2КНО 48-3.41/48 | 10850 | 400 | 400 | 4,40 |
| 2КН 48-36/45 | 10850 | 400 | 400 | 4,35 |
| 2КН 48-41/48 | 10850 | 400 | 400 | 4,35 |
| 2КНД 48(60)-2.36/42 | 12050 | 400 | 400 | 4,45 |
| 2КНД 48(60)-2.39/47 | 12050 | 400 | 400 | 4,45 |
| 2КНД 48(60)-3.36/42 | 12050 | 400 | 400 | 4,45 |
| 2КНД 48(60)-3.39/47 | 12050 | 400 | 400 | 4,45 |
| 2КНД 48(60)-3.46/50 | 12050 | 400 | 400 | 4,45 |
| 2КНО 48(60)-2.36/42 | 12050 | 400 | 400 | 4,88 |
| 2КНО 48(60)-2.39/47 | 12050 | 400 | 400 | 4,88 |
| 2КНО 48(60)-3.36/42 | 12050 | 400 | 400 | 4,88 |
| 2КНО 48(60)-3.39/47 | 12050 | 400 | 400 | 4,88 |
| 2КНО 48(60)-3.46/50 | 12050 | 400 | 400 | 4,88 |
| 2КН 48(60)-36/42 | 12050 | 400 | 400 | 4,83 |
| 2КН 48(60)-39/47 | 12050 | 400 | 400 | 4,83 |
| 2КСД 48-2.36 | 9600 | 400 | 400 | 3,95 |
| 2КСД 48-3.36 | 9600 | 400 | 400 | 3,95 |
| 2КСД 48-3.39 | 9600 | 400 | 400 | 3,95 |
| 2КСО 48-2.36 | 9600 | 400 | 400 | 3,90 |
| 2КСО 48-3.36 | 9600 | 400 | 400 | 3,90 |
| 2КСО 48-3.39 | 9600 | 400 | 400 | 3,90 |
| 2КС 48-36 | 9600 | 400 | 400 | 3,85 |
Выпуск 2-20. Колонны из бетона класса В30 для зданий с высотами этажей 6.0; 5.4; 6.0 (7.2) м. Серия 1.020-1/87
| Номенклатура | Габариты (l,b,h), мм | Масса, т | ||
| 1КСД 54-2.38 | 5400 | 400 | 400 | 2,23 |
| 1КСД 54-3.38 | 5400 | 400 | 400 | 2,23 |
| 1КСД 60-2.38 | 6000 | 400 | 400 | 2,45 |
| 1КСД 60-3.38 | 6000 | 400 | 400 | 2,45 |
| 2КНД 60-2.32/37 | 13250 | 400 | 400 | 5,43 |
| 2КНД 60-3.32/37 | 13250 | 400 | 400 | 5,43 |
| 2КНД 60-3.38/44 | 13250 | 400 | 400 | 5,43 |
| 2КНД 60-3.40/47 | 13250 | 400 | 400 | 5,43 |
| 2КНД 60-3.42/50 | 13250 | 400 | 400 | 5,43 |
| 2КНО 60-3.38/44 | 13250 | 400 | 400 | 5,38 |
| 2КНО 60-3.40/47 | 13250 | 400 | 400 | 5,38 |
| 2КНД 60(72)-2.38/39 | 14450 | 400 | 400 | 5,90 |
| 2КНД 60(72)-3.38/39 | 14450 | 400 | 400 | 5,90 |
| 2КНД 60(72)-3.40/42 | 14450 | 400 | 400 | 5,90 |
| 2КНО 60(72)-2.38/39 | 14450 | 400 | 400 | 5,85 |
| 2КНО 60(72)-3.38/39 | 14450 | 400 | 400 | 5,85 |
| 2КНО 60(72)-3.40/42 | 14450 | 400 | 400 | 5,85 |
Выпуск 2-3. Колонны для зданий с высотой этажа 3.6 м. Серия 1.020-1/87
| Номенклатура | Габариты (l,b,h), мм | Масса, т | ||
| 1КБД 36-1.22 | 4670 | 400 | 400 | 1,88 |
| 1КБД 36-2.22 | 4670 | 400 | 400 | 1,88 |
| 1КБД 36-3.26 | 4670 | 400 | 400 | 1,88 |
| 1КБО 36-1.22 | 4670 | 400 | 400 | 1,85 |
| 1КБО 36-2.22 | 4670 | 400 | 400 | 1,85 |
| 1КБО 36-3.26 | 4670 | 400 | 400 | 1,85 |
| 1КБ 36-22 | 4670 | 400 | 400 | 1,83 |
| 1КВД 36-1.22 | 2920 | 400 | 400 | 1,23 |
| 1КВД 36-2.22 | 2920 | 400 | 400 | 1,23 |
| 1КВД 36-3.26 | 2920 | 400 | 400 | 1,23 |
| 1КВО 36-1.22 | 2920 | 400 | 400 | 1,20 |
| 1КВО 36-2.22 | 2920 | 400 | 400 | 1,20 |
| 1КВО 36-3.26 | 2920 | 400 | 400 | 1,20 |
| 1КВ 36-22 | 2920 | 400 | 400 | 1,18 |
| 1КВ 36-26 | 2920 | 400 | 400 | 1,18 |
| 1КВ 36-32 | 2920 | 400 | 400 | 1,18 |
| 1КНД 36-1.26 | 5350 | 400 | 400 | 2,20 |
| 1КНД 36-1.31 | 5350 | 400 | 400 | 2,20 |
| 1КНД 36-1.32 | 5350 | 400 | 400 | 2,20 |
| 1КНД 36-1.43 | 5350 | 400 | 400 | 2,20 |
| 1КНД 36-1.48 | 5350 | 400 | 400 | 2,20 |
| 1КНД 36-1.59 | 5350 | 400 | 400 | 2,20 |
| 1КНД 36-2.26 | 5350 | 400 | 400 | 2,20 |
| 1КНД 36-2.31 | 5350 | 400 | 400 | 2,20 |
| 1КНД 36-2.32 | 5350 | 400 | 400 | 2,20 |
| 1КНД 36-2.43 | 5350 | 400 | 400 | 2,20 |
| 1КНД 36-2.48 | 5350 | 400 | 400 | 2,20 |
| 1КНД 36-2.53 | 5350 | 400 | 400 | 2,20 |
| 1КНД 36-2.59 | 5350 | 400 | 400 | 2,20 |
| 1КНД 36-3.26 | 5350 | 400 | 400 | 2,20 |
| 1КНД 36-3.32 | 5350 | 400 | 400 | 2,20 |
| 1КНД 36-3.38 | 5350 | 400 | 400 | 2,20 |
| 1КНД 36-3.43 | 5350 | 400 | 400 | 2,20 |
| 1КНД 36-3.48 | 5350 | 400 | 400 | 2,20 |
| 1КНД 36-3.59 | 5350 | 400 | 400 | 2,20 |
| 1КНО 36-1.22 | 5350 | 400 | 400 | 2,18 |
| 1КНО 36-1.26 | 5350 | 400 | 400 | 2,18 |
| 1КНО 36-1.31 | 5350 | 400 | 400 | 2,18 |
| 1КНО 36-1.32 | 5350 | 400 | 400 | 2,18 |
| 1КНО 36-1.43 | 5350 | 400 | 400 | 2,18 |
| 1КНО 36-1.48 | 5350 | 400 | 400 | 2,18 |
| 1КНО 36-1.59 | 5350 | 400 | 400 | 2,18 |
| 1КНО 36-2.26 | 5350 | 400 | 400 | 2,18 |
| 1КНО 36-2.31 | 5350 | 400 | 400 | 2,18 |
| 1КНО 36-2.32 | 5350 | 400 | 400 | 2,18 |
| 1КНО 36-2.43 | 5350 | 400 | 400 | 2,18 |
| 1КНО 36-2.48 | 5350 | 400 | 400 | 2,18 |
| 1КНО 36-2.53 | 5350 | 400 | 400 | 2,18 |
| 1КНО 36-2.59 | 5350 | 400 | 400 | 2,18 |
| 1КНО 36-3.26 | 5350 | 400 | 400 | 2,18 |
| 1КНО 36-3.31 | 5350 | 400 | 400 | 2,18 |
| 1КНО 36-3.38 | 5350 | 400 | 400 | 2,18 |
| 1КНО 36-3.43 | 5350 | 400 | 400 | 2,18 |
| 1КНО 36-3.48 | 5350 | 400 | 400 | 2,18 |
| 1КНО 36-3.59 | 5350 | 400 | 400 | 2,18 |
| 1КН 36-22 | 5350 | 400 | 400 | 2,15 |
| 1КН 36-26 | 5350 | 400 | 400 | 2,15 |
| 1КН 36-31 | 5350 | 400 | 400 | 2,15 |
| 1КН 36-32 | 5350 | 400 | 400 | 2,15 |
| 1КН 36-43 | 5350 | 400 | 400 | 2,15 |
| 1КН 36-59 | 5350 | 400 | 400 | 2,15 |
| 1КСД 36-1.22 | 3600 | 400 | 400 | 1,50 |
| 1КСД 36-1.26 | 3600 | 400 | 400 | 1,50 |
| 1КСД 36-1.32 | 3600 | 400 | 400 | 1,50 |
| 1КСД 36-1.38 | 3600 | 400 | 400 | 1,50 |
| 1КСД 36-1.43 | 3600 | 400 | 400 | 1,50 |
| 1КСД 36-2.22 | 3600 | 400 | 400 | 1,50 |
| 1КСД 36-2.26 | 3600 | 400 | 400 | 1,50 |
| 1КСД 36-2.32 | 3600 | 400 | 400 | 1,50 |
| 1КСД 36-2.38 | 3600 | 400 | 400 | 1,50 |
| 1КСД 36-2.43 | 3600 | 400 | 400 | 1,50 |
| 1КСД 36-3.26 | 3600 | 400 | 400 | 1,50 |
| 1КСД 36-3.32 | 3600 | 400 | 400 | 1,50 |
| 1КСД 36-3.38 | 3600 | 400 | 400 | 1,50 |
| 1КСД 36-3.43 | 3600 | 400 | 400 | 1,50 |
| 1КСО 36-1.22 | 3600 | 400 | 400 | 1,48 |
| 1КСО 36-1.26 | 3600 | 400 | 400 | 1,48 |
| 1КСО 36-1.32 | 3600 | 400 | 400 | 1,48 |
| 1КСО 36-1.38 | 3600 | 400 | 400 | 1,48 |
| 1КСО 36-1.43 | 3600 | 400 | 400 | 1,48 |
| 1КСО 36-2.22 | 3600 | 400 | 400 | 1,48 |
| 1КСО 36-2.26 | 3600 | 400 | 400 | 1,48 |
| 1КСО 36-2.32 | 3600 | 400 | 400 | 1,48 |
| 1КСО 36-2.38 | 3600 | 400 | 400 | 1,48 |
| 1КСО 36-2.43 | 3600 | 400 | 400 | 1,48 |
| 1КСО 36-3.26 | 3600 | 400 | 400 | 1,48 |
| 1КСО 36-3.32 | 3600 | 400 | 400 | 1,48 |
| 1КСО 36-3.38 | 3600 | 400 | 400 | 1,48 |
| 1КСО 36-3.43 | 3600 | 400 | 400 | 1,48 |
| 1КС 36-22 | 3600 | 400 | 400 | 1,45 |
| 1КС 36-26 | 3600 | 400 | 400 | 1,45 |
| 1КС 36-32 | 3600 | 400 | 400 | 1,45 |
| 1КС 36-38 | 3600 | 400 | 400 | 1,45 |
| 1КС 36-43 | 3600 | 400 | 400 | 1,45 |
| 2КБД 36-1.22 | 8270 | 400 | 400 | 3,40 |
| 2КБД 36-2.22 | 8270 | 400 | 400 | 3,40 |
| 2КБД 36-3.26 | 8270 | 400 | 400 | 3,40 |
| 2КБО 36-1.22 | 8270 | 400 | 400 | 3,35 |
| 2КБО 36-2.22 | 8270 | 400 | 400 | 3,35 |
| 2КБО 36-3.26 | 8270 | 400 | 400 | 3,35 |
| 2КБ 36-22 | 8270 | 400 | 400 | 3,30 |
| 2КБ 36-26 | 8270 | 400 | 400 | 3,30 |
| 2КВД 36-1.22 | 6520 | 400 | 400 | 2,70 |
| 2КВД 36-2.22 | 6520 | 400 | 400 | 2,70 |
| 2КВД 36-3.26 | 6520 | 400 | 400 | 2,70 |
| 2КВО 36-1.22 | 6520 | 400 | 400 | 2,65 |
| 2КВО 36-2.22 | 6520 | 400 | 400 | 2,65 |
| 2КВО 36-3.26 | 6520 | 400 | 400 | 2,65 |
| 2КВ 36-22 | 6520 | 400 | 400 | 2,60 |
| 2КВ 36-26 | 6520 | 400 | 400 | 2,60 |
| 3КБД 36-1.22 | 11870 | 400 | 400 | 4,88 |
| 3КБД 36-2.26 | 11870 | 400 | 400 | 4,88 |
| 3КБД 36-3.32/42 | 11870 | 400 | 400 | 4,88 |
| 3КБО 36-1.22 | 11870 | 400 | 400 | 4,80 |
| 3КБО 36-2.22 | 11870 | 400 | 400 | 4,80 |
| 3КБО 36-3.26 | 11870 | 400 | 400 | 4,80 |
| 3КБ 36-22 | 11870 | 400 | 400 | 4,73 |
| 3КБ 36-26 | 11870 | 400 | 400 | 4,73 |
| 3КБ 36-32 | 11870 | 400 | 400 | 4,73 |
| 3КВД 36-1.22 | 10120 | 400 | 400 | 4,17 |
| 3КВД 36-2.26 | 10120 | 400 | 400 | 4,17 |
| 3КВД 36-3.26 | 10120 | 400 | 400 | 4,17 |
| 3КВО 36-1.22 | 10120 | 400 | 400 | 4,10 |
| 3КВО 36-2.22 | 10120 | 400 | 400 | 4,10 |
| 3КВО 36-3.26 | 10120 | 400 | 400 | 4,10 |
| 3КВ 36-22 | 10120 | 400 | 400 | 4,03 |
| 3КВ 36-26 | 10120 | 400 | 400 | 4,03 |
| 3КНД 36-1.22 | 12550 | 400 | 400 | 5,18 |
| 3КНД 36-1.26 | 12550 | 400 | 400 | 5,18 |
| 3КНД 36-1.32 | 12550 | 400 | 400 | 5,18 |
| 3КНД 36-1.59 | 12550 | 400 | 400 | 5,18 |
| 3КНД 36-1.32/35 | 12550 | 400 | 400 | 5,18 |
| 3КНД 36-1.32/39 | 12550 | 400 | 400 | 5,18 |
| 3КНД 36-1.36/45 | 12550 | 400 | 400 | 5,18 |
| 3КНД 36-1.41/48 | 12550 | 400 | 400 | 5,18 |
| 3КНД 36-1.43/53 | 12550 | 400 | 400 | 5,18 |
| 3КНД 36-2.32 | 12550 | 400 | 400 | 5,18 |
| 3КНД 36-2.59 | 12550 | 400 | 400 | 5,18 |
| 3КНД 36-2.32/39 | 12550 | 400 | 400 | 5,18 |
| 3КНД 36-2.32/47 | 12550 | 400 | 400 | 5,18 |
| 3КНД 36-2.38/53 | 12550 | 400 | 400 | 5,18 |
| 3КНД 36-3.34/49 | 12550 | 400 | 400 | 5,18 |
| 3КНД 36-3.43/59 | 12550 | 400 | 400 | 5,18 |
| 3КНО 36-1.22 | 12550 | 400 | 400 | 5,10 |
| 3КНО 36-1.26 | 12550 | 400 | 400 | 5,10 |
| 3КНО 36-1.32 | 12550 | 400 | 400 | 5,10 |
| 3КНО 36-1.32/34 | 12550 | 400 | 400 | 5,10 |
| 3КНО 36-1.33/37 | 12550 | 400 | 400 | 5,10 |
| 3КНО 36-1.34/40 | 12550 | 400 | 400 | 5,10 |
| 3КНО 36-1.41/43 | 12550 | 400 | 400 | 5,10 |
| 3КНО 36-2.26 | 12550 | 400 | 400 | 5,10 |
| 3КНО 36-2.32 | 12550 | 400 | 400 | 5,10 |
| 3КНО 36-2.32/34 | 12550 | 400 | 400 | 5,10 |
| 3КНО 36-2.33/38 | 12550 | 400 | 400 | 5,10 |
| 3КНО 36-2.33/43 | 12550 | 400 | 400 | 5,10 |
| 3КНО 36-2.38/48 | 12550 | 400 | 400 | 5,10 |
| 3КНО 36-3.32 | 12550 | 400 | 400 | 5,10 |
| 3КНО 36-3.32/36 | 12550 | 400 | 400 | 5,10 |
| 3КН 36-22 | 12550 | 400 | 400 | 5,02 |
| 3КН 36-26 | 12550 | 400 | 400 | 5,02 |
| 3КН 36-32 | 12550 | 400 | 400 | 5,02 |
| 3КН 36-32/34 | 12550 | 400 | 400 | 5,02 |
| 3КН 36-32/36 | 12550 | 400 | 400 | 5,02 |
| 3КН 36-32/42 | 12550 | 400 | 400 | 5,02 |
| 3КН 36-33/37 | 12550 | 400 | 400 | 5,02 |
| 3КН 36-33/38 | 12550 | 400 | 400 | 5,02 |
| 3КН 36-33/43 | 12550 | 400 | 400 | 5,02 |
| 3КН 36-34/40 | 12550 | 400 | 400 | 5,02 |
| 3КН 36-38/48 | 12550 | 400 | 400 | 5,02 |
| 3КН 36-41/43 | 12550 | 400 | 400 | 5,02 |
| 3КСД 36-1.22 | 10800 | 400 | 400 | 4,48 |
| 3КСД 36-1.26 | 10800 | 400 | 400 | 4,48 |
| 3КСД 36-1.32 | 10800 | 400 | 400 | 4,48 |
| 3КСД 36-1.36 | 10800 | 400 | 400 | 4,48 |
| 3КСД 36-1.41 | 10800 | 400 | 400 | 4,48 |
| 3КСД 36-1.43 | 10800 | 400 | 400 | 4,48 |
| 3КСД 36-2.32 | 10800 | 400 | 400 | 4,48 |
| 3КСД 36-2.38 | 10800 | 400 | 400 | 4,48 |
| 3КСД 36-2.43 | 10800 | 400 | 400 | 4,48 |
| 3КСД 36-3.32 | 10800 | 400 | 400 | 4,48 |
| 3КСД 36-3.38 | 10800 | 400 | 400 | 4,48 |
| 3КСО 36-1.22 | 10800 | 400 | 400 | 4,40 |
| 3КСО 36-1.26 | 10800 | 400 | 400 | 4,40 |
| 3КСО 36-1.32 | 10800 | 400 | 400 | 4,40 |
| 3КСО 36-1.34 | 10800 | 400 | 400 | 4,40 |
| 3КСО 36-2.26 | 10800 | 400 | 400 | 4,40 |
| 3КСО 36-2.32 | 10800 | 400 | 400 | 4,40 |
| 3КСО 36-2.33 | 10800 | 400 | 400 | 4,40 |
| 3КСО 36-3.32 | 10800 | 400 | 400 | 4,40 |
| 3КСО 36-3.33 | 10800 | 400 | 400 | 4,40 |
| 3КС 36-22 | 10800 | 400 | 400 | 4,33 |
| 3КС 36-26 | 10800 | 400 | 400 | 4,33 |
| 3КС 36-32 | 10800 | 400 | 400 | 4,33 |
| 3КС 36-33 | 10800 | 400 | 400 | 4,33 |
| 3КС 36-34 | 10800 | 400 | 400 | 4,33 |
Выпуск 2-5. Колонны для зданий с высотой этажа 4.2 м. Серия 1.020-1/87
| Номенклатура | Габариты (l,b,h), мм | Масса, т | ||
| 1КБД 42-1.22 | 5270 | 400 | 400 | 2,15 |
| 1КБД 42-2.22 | 5270 | 400 | 400 | 2,15 |
| 1КБД 42-3.22 | 5270 | 400 | 400 | 2,15 |
| 1КБО 42-1.22 | 5270 | 400 | 400 | 2,13 |
| 1КБО 42-2.22 | 5270 | 400 | 400 | 2,13 |
| 1КБО 42-3.22 | 5270 | 400 | 400 | 2,13 |
| 1КБ 42-22 | 5270 | 400 | 400 | 2,10 |
| 1КВД 42-1.22 | 3520 | 400 | 400 | 1,45 |
| 1КВД 42-2.22 | 3520 | 400 | 400 | 1,45 |
| 1КВО 42-1.22 | 3520 | 400 | 400 | 1,43 |
| 1КВО 42-2.22 | 3520 | 400 | 400 | 1,43 |
| 1КВ 42-32 | 3520 | 400 | 400 | 1,40 |
| 1КНД 42-1.32 | 5950 | 400 | 400 | 2,43 |
| 1КНД 42-1.38 | 5950 | 400 | 400 | 2,43 |
| 1КНД 42-1.43 | 5950 | 400 | 400 | 2,43 |
| 1КНД 42-1.58 | 5950 | 400 | 400 | 2,43 |
| 1КНД 42-2.32 | 5950 | 400 | 400 | 2,43 |
| 1КНД 42-2.38 | 5950 | 400 | 400 | 2,43 |
| 1КНД 42-2.43 | 5950 | 400 | 400 | 2,43 |
| 1КНД 42-2.53 | 5950 | 400 | 400 | 2,43 |
| 1КНД 42-2.58 | 5950 | 400 | 400 | 2,43 |
| 1КНД 42-3.32 | 5950 | 400 | 400 | 2,43 |
| 1КНД 42-3.38 | 5950 | 400 | 400 | 2,43 |
| 1КНД 42-3.43 | 5950 | 400 | 400 | 2,43 |
| 1КНД 42-3.48 | 5950 | 400 | 400 | 2,43 |
| 1КНД 42-3.53 | 5950 | 400 | 400 | 2,43 |
| 1КНД 42-3.58 | 5950 | 400 | 400 | 2,43 |
| 1КНО 42-1.32 | 5950 | 400 | 400 | 2,40 |
| 1КНО 42-1.38 | 5950 | 400 | 400 | 2,40 |
| 1КНО 42-1.43 | 5950 | 400 | 400 | 2,40 |
| 1КНО 42-1.58 | 5950 | 400 | 400 | 2,40 |
| 1КНО 42-2.32 | 5950 | 400 | 400 | 2,40 |
| 1КНО 42-2.38 | 5950 | 400 | 400 | 2,40 |
| 1КНО 42-2.43 | 5950 | 400 | 400 | 2,40 |
| 1КНО 42-2.53 | 5950 | 400 | 400 | 2,40 |
| 1КНО 42-2.58 | 5950 | 400 | 400 | 2,40 |
| 1КНО 42-3.32 | 5950 | 400 | 400 | 2,40 |
| 1КНО 42-3.38 | 5950 | 400 | 400 | 2,40 |
| 1КНО 42-3.43 | 5950 | 400 | 400 | 2,40 |
| 1КНО 42-3.48 | 5950 | 400 | 400 | 2,40 |
| 1КНО 42-3.53 | 5950 | 400 | 400 | 2,40 |
| 1КНО 42-3.58 | 5950 | 400 | 400 | 2,40 |
| 1КН 42-32 | 5950 | 400 | 400 | 2,38 |
| 1КН 42-38 | 5950 | 400 | 400 | 2,38 |
| 1КН 42-43 | 5950 | 400 | 400 | 2,38 |
| 1КН 42-58 | 5950 | 400 | 400 | 2,38 |
| 1КСД 42-1.32 | 4200 | 400 | 400 | 1,73 |
| 1КСД 42-1.38 | 4200 | 400 | 400 | 1,73 |
| 1КСД 42-1.43 | 4200 | 400 | 400 | 1,73 |
| 1КСД 42-2.32 | 4200 | 400 | 400 | 1,73 |
| 1КСД 42-2.38 | 4200 | 400 | 400 | 1,73 |
| 1КСД 42-2.43 | 4200 | 400 | 400 | 1,73 |
| 1КСД 42-3.32 | 4200 | 400 | 400 | 1,73 |
| 1КСД 42-3.38 | 4200 | 400 | 400 | 1,73 |
| 1КСД 42-3.43 | 4200 | 400 | 400 | 1,73 |
| 1КСО 42-1.32 | 4200 | 400 | 400 | 1,70 |
| 1КСО 42-1.38 | 4200 | 400 | 400 | 1,70 |
| 1КСО 42-1.43 | 4200 | 400 | 400 | 1,70 |
| 1КСО 42-2.32 | 4200 | 400 | 400 | 1,70 |
| 1КСО 42-2.38 | 4200 | 400 | 400 | 1,70 |
| 1КСО 42-2.43 | 4200 | 400 | 400 | 1,70 |
| 1КСО 42-3.32 | 4200 | 400 | 400 | 1,70 |
| 1КСО 42-3.38 | 4200 | 400 | 400 | 1,70 |
| 1КСО 42-3.43 | 4200 | 400 | 400 | 1,70 |
| 1КС 42-32 | 4200 | 400 | 400 | 1,68 |
| 1КС 42-38 | 4200 | 400 | 400 | 1,68 |
| 1КС 42-43 | 4200 | 400 | 400 | 1,68 |
| 2КБД 42-1.22 | 9470 | 400 | 400 | 3,85 |
| 2КБД 42-2.22 | 9470 | 400 | 400 | 3,85 |
| 2КБД 42-3.25 | 9470 | 400 | 400 | 3,85 |
| 2КБД 42-3.28 | 9470 | 400 | 400 | 3,85 |
| 2КБО 42-1.22 | 9470 | 400 | 400 | 3,83 |
| 2КБО 42-2.22 | 9470 | 400 | 400 | 3,83 |
| 2КБО 42-3.25 | 9470 | 400 | 400 | 3,83 |
| 2КБО 42-3.28 | 9470 | 400 | 400 | 3,83 |
| 2КБ 42-25 | 9470 | 400 | 400 | 3,80 |
| 2КВД 42-1.22 | 7720 | 400 | 400 | 3,18 |
| 2КВД 42-2.22 | 7720 | 400 | 400 | 3,18 |
| 2КВД 42-3.25 | 7720 | 400 | 400 | 3,18 |
| 2КВО 42-1.22 | 7720 | 400 | 400 | 3,13 |
| 2КВО 42-2.22 | 7720 | 400 | 400 | 3,13 |
| 2КВО 42-3.25 | 7720 | 400 | 400 | 3,13 |
| 2КВ 42-22 | 7720 | 400 | 400 | 3,10 |
| 2КВ 42-25 | 7720 | 400 | 400 | 3,10 |
| 2КНД 42-1.22 | 10150 | 400 | 400 | 4,15 |
| 2КНД 42-1.25 | 10150 | 400 | 400 | 4,15 |
| 2КНД 42-1.32 | 10150 | 400 | 400 | 4,15 |
| 2КНД 42-1.32/37 | 10150 | 400 | 400 | 4,15 |
| 2КНД 42-1.37/42 | 10150 | 400 | 400 | 4,15 |
| 2КНД 42-2.32 | 10150 | 400 | 400 | 4,15 |
| 2КНД 42-2.36/39 | 10150 | 400 | 400 | 4,15 |
| 2КНД 42-2.40/47 | 10150 | 400 | 400 | 4,15 |
| 2КНД 42-2.47/53 | 10150 | 400 | 400 | 4,15 |
| 2КНД 42-2.58 | 10150 | 400 | 400 | 4,15 |
| 2КНД 42-3.34/49 | 10150 | 400 | 400 | 4,15 |
| 2КНД 42-3.52/58 | 10150 | 400 | 400 | 4,15 |
| 2КНО 42-1.22 | 10150 | 400 | 400 | 4,10 |
| 2КНО 42-1.25 | 10150 | 400 | 400 | 4,10 |
| 2КНО 42-1.32 | 10150 | 400 | 400 | 4,10 |
| 2КНО 42-1.32/34 | 10150 | 400 | 400 | 4,10 |
| 2КНО 42-2.25 | 10150 | 400 | 400 | 4,10 |
| 2КНО 42-2.32 | 10150 | 400 | 400 | 4,10 |
| 2КНО 42-2.32/34 | 10150 | 400 | 400 | 4,10 |
| 2КНО 42-2.36/39 | 10150 | 400 | 400 | 4,10 |
| 2КНО 42-2.39/45 | 10150 | 400 | 400 | 4,10 |
| 2КНО 42-3.32 | 10150 | 400 | 400 | 4,10 |
| 2КНО 42-3.32/37 | 10150 | 400 | 400 | 4,10 |
| 2КНО 42-3.36/39 | 10150 | 400 | 400 | 4,10 |
| 2КНО 42-3.39/45 | 10150 | 400 | 400 | 4,10 |
| 2КН 42-22 | 10150 | 400 | 400 | 4,05 |
| 2КН 42-25 | 10150 | 400 | 400 | 4,05 |
| 2КН 42-32 | 10150 | 400 | 400 | 4,05 |
| 2КН 42-32/34 | 10150 | 400 | 400 | 4,05 |
| 2КН 42-32/37 | 10150 | 400 | 400 | 4,05 |
| 2КНД 42(20)-1.22 | 7550 | 400 | 400 | 3,13 |
| 2КНД 42(20)-2.25 | 7550 | 400 | 400 | 3,13 |
| 2КНД 42(20)-3.32 | 7550 | 400 | 400 | 3,13 |
| 2КНО 42(20)-1.22 | 7550 | 400 | 400 | 3,08 |
| 2КНО 42(20)-2.22 | 7550 | 400 | 400 | 3,08 |
| 2КНО 42(20)-3.25 | 7550 | 400 | 400 | 3,08 |
| 2КН 42(20)-22 | 7550 | 400 | 400 | 3,03 |
| 2КН 42(20)-25 | 7550 | 400 | 400 | 3,03 |
| 2КН 42(20)-32 | 7550 | 400 | 400 | 3,03 |
| 2КСД 42-1.22 | 8400 | 400 | 400 | 3,45 |
| 2КСД 42-1.25 | 8400 | 400 | 400 | 3,45 |
| 2КСД 42-1.32 | 8400 | 400 | 400 | 3,45 |
| 2КСД 42-2.32 | 8400 | 400 | 400 | 3,45 |
| 2КСД 42-2.38 | 8400 | 400 | 400 | 3,45 |
| 2КСД 42-2.41 | 8400 | 400 | 400 | 3,45 |
| 2КСД 42-3.32 | 8400 | 400 | 400 | 3,45 |
| 2КСО 42-1.22 | 8400 | 400 | 400 | 3,40 |
| 2КСО 42-1.25 | 8400 | 400 | 400 | 3,40 |
| 2КСО 42-2.25 | 8400 | 400 | 400 | 3,40 |
| 2КСО 42-2.32 | 8400 | 400 | 400 | 3,40 |
| 2КСО 42-3.32 | 8400 | 400 | 400 | 3,40 |
| 2КС 42-22 | 8400 | 400 | 400 | 3,35 |
| 2КС 42-25 | 8400 | 400 | 400 | 3,35 |
| 2КС 42-32 | 8400 | 400 | 400 | 3,35 |
| 3КБД 42-1.22 | 13670 | 400 | 400 | 5,60 |
| 3КБД 42-2.25 | 13670 | 400 | 400 | 5,60 |
| 3КБД 42-3.25 | 13670 | 400 | 400 | 5,60 |
| 3КБД 42-3.32 | 13670 | 400 | 400 | 5,60 |
| 3КБО 42-1.22 | 13670 | 400 | 400 | 5,53 |
| 3КБО 42-2.22 | 13670 | 400 | 400 | 5,53 |
| 3КБО 42-3.25 | 13670 | 400 | 400 | 5,53 |
| 3КБО 42-3.32 | 13670 | 400 | 400 | 5,53 |
| 3КБ 42-22 | 13670 | 400 | 400 | 5,48 |
| 3КБ 42-25 | 13670 | 400 | 400 | 5,48 |
| 3КВД 42-1.22 | 11920 | 400 | 400 | 4,90 |
| 3КВД 42-2.25 | 11920 | 400 | 400 | 4,90 |
| 3КВД 42-3.32 | 11920 | 400 | 400 | 4,90 |
| 3КВО 42-1.22 | 11920 | 400 | 400 | 4,83 |
| 3КВО 42-2.22 | 11920 | 400 | 400 | 4,83 |
| 3КВО 42-3.25 | 11920 | 400 | 400 | 4,83 |
| 3КВ 42-22 | 11920 | 400 | 400 | 4,78 |
| 3КВ 42-25 | 11920 | 400 | 400 | 4,78 |
Выпуск 2-7. Колонны для зданий с высотами этажей 4.8 (6.0) и 3.6 (4.8) м. Серия 1.020-1/87
| Номенклатура | Габариты (l,b,h), мм | Масса, т | ||
| 1КВД 48-2.22 | 4120 | 400 | 400 | 1,70 |
| 1КВО 48-2.22 | 4120 | 400 | 400 | 1,68 |
| 1КВ 48-22 | 4120 | 400 | 400 | 1,65 |
| 1КСД 48-2.22 | 4800 | 400 | 400 | 1,98 |
| 1КСД 48-2.28 | 4800 | 400 | 400 | 1,98 |
| 1КСД 48-2.32 | 4800 | 400 | 400 | 1,98 |
| 1КСД 48-3.22 | 4800 | 400 | 400 | 1,98 |
| 1КСД 48-3.28 | 4800 | 400 | 400 | 1,98 |
| 1КСД 48-3.32 | 4800 | 400 | 400 | 1,98 |
| 1КСО 48-2.22 | 4800 | 400 | 400 | 1,95 |
| 1КСО 48-2.28 | 4800 | 400 | 400 | 1,95 |
| 1КСО 48-2.32 | 4800 | 400 | 400 | 1,95 |
| 1КСО 48-3.22 | 4800 | 400 | 400 | 1,95 |
| 1КСО 48-3.28 | 4800 | 400 | 400 | 1,95 |
| 1КСО 48-3.32 | 4800 | 400 | 400 | 1,95 |
| 1КС 48-22 | 4800 | 400 | 400 | 1,93 |
| 1КС 48-28 | 4800 | 400 | 400 | 1,93 |
| 1КС 48-32 | 4800 | 400 | 400 | 1,93 |
| 2КБД 48-2.22 | 10170 | 400 | 400 | 4,18 |
| 2КБД 48-2.31 | 10170 | 400 | 400 | 4,18 |
| 2КБД 48-3.22 | 10170 | 400 | 400 | 4,18 |
| 2КБД 48-3.31 | 10170 | 400 | 400 | 4,18 |
| 2КБО 48-2.22 | 10170 | 400 | 400 | 4,13 |
| 2КБО 48-2.31 | 10170 | 400 | 400 | 4,13 |
| 2КБО 48-3.22 | 10170 | 400 | 400 | 4,13 |
| 2КБО 48-3.26 | 10170 | 400 | 400 | 4,13 |
| 2КБО 48-3.31 | 10170 | 400 | 400 | 4,13 |
| 2КБ 48-22 | 10170 | 400 | 400 | 4,08 |
| 2КБ 48-26 | 10170 | 400 | 400 | 4,08 |
| 2КВД 48-2.22 | 8920 | 400 | 400 | 3,68 |
| 2КВД 48-3.22 | 8920 | 400 | 400 | 3,68 |
| 2КВО 48-2.22 | 8920 | 400 | 400 | 3,63 |
| 2КВО 48-3.22 | 8920 | 400 | 400 | 3,63 |
| 2КВО 48-3.26 | 8920 | 400 | 400 | 3,63 |
| 2КВ 48-22 | 8920 | 400 | 400 | 3,58 |
| 2КВ 48-26 | 8920 | 400 | 400 | 3,58 |
| 2КНД 36(48)-2.22 | 9650 | 400 | 400 | 3,45 |
| 2КНД 36(48)-2.22/26 | 9650 | 400 | 400 | 3,45 |
| 2КНД 36(48)-2.28/31 | 9650 | 400 | 400 | 3,45 |
| 2КНД 36(48)-2.36/42 | 9650 | 400 | 400 | 3,45 |
| 2КНД 36(48)-3.22 | 9650 | 400 | 400 | 3,45 |
| 2КНД 36(48)-3.22/26 | 9650 | 400 | 400 | 3,45 |
| 2КНД 36(48)-3.28/31 | 9650 | 400 | 400 | 3,45 |
| 2КНД 36(48)-3.30/35 | 9650 | 400 | 400 | 3,45 |
| 2КНД 36(48)-3.36/42 | 9650 | 400 | 400 | 3,45 |
| 2КНД 36(48)-3.38/51 | 9650 | 400 | 400 | 3,45 |
| 2КНД 36(48)-3.46/54 | 9650 | 400 | 400 | 3,45 |
| 2КНО 36(48)-2.22 | 9650 | 400 | 400 | 3,40 |
| 2КНО 36(48)-2.22/26 | 9650 | 400 | 400 | 3,40 |
| 2КНО 36(48)-2.28/31 | 9650 | 400 | 400 | 3,40 |
| 2КНО 36(48)-3.22 | 9650 | 400 | 400 | 3,40 |
| 2КНО 36(48)-3.22/26 | 9650 | 400 | 400 | 3,40 |
| 2КНО 36(48)-3.28/31 | 9650 | 400 | 400 | 3,40 |
| 2КНО 36(48)-3.36/42 | 9650 | 400 | 400 | 3,40 |
| 2КНО 36(48)-3.41/47 | 9650 | 400 | 400 | 3,40 |
| 2КНО 36(48)-3.52/60 | 9650 | 400 | 400 | 3,40 |
| 2КН 36(48)-22 | 9650 | 400 | 400 | 3,35 |
| 2КН 36(48)-22/26 | 9650 | 400 | 400 | 3,35 |
| 2КН 36(48)-28/31 | 9650 | 400 | 400 | 3,35 |
| 2КН 36(48)-36/42 | 9650 | 400 | 400 | 3,35 |
| 2КН 36(48)-41/47 | 9650 | 400 | 400 | 3,35 |
| 2КНД 48(60)-2.21 | 12050 | 400 | 400 | 4,45 |
| 2КНД 48(60)-2.22/24 | 12050 | 400 | 400 | 4,45 |
| 2КНД 48(60)-2.28/39 | 12050 | 400 | 400 | 4,45 |
| 2КНД 48(60)-2.36/38 | 12050 | 400 | 400 | 4,45 |
| 2КНД 48(60)-3.21 | 12050 | 400 | 400 | 4,45 |
| 2КНД 48(60)-3.22/24 | 12050 | 400 | 400 | 4,45 |
| 2КНД 48(60)-3.28/29 | 12050 | 400 | 400 | 4,45 |
| 2КНД 48(60)-3.30/33 | 12050 | 400 | 400 | 4,45 |
| 2КНД 48(60)-3.36/38 | 12050 | 400 | 400 | 4,45 |
| 2КНД 48(60)-3.39/47 | 12050 | 400 | 400 | 4,45 |
| 2КНД 48(60)-3.55/59 | 12050 | 400 | 400 | 4,45 |
| 2КНО 48(60)-2.21 | 12050 | 400 | 400 | 4,88 |
| 2КНО 48(60)-2.22/24 | 12050 | 400 | 400 | 4,88 |
| 2КНО 48(60)-2.28/29 | 12050 | 400 | 400 | 4,88 |
| 2КНО 48(60)-2.30/33 | 12050 | 400 | 400 | 4,88 |
| 2КНО 48(60)-2.39 | 12050 | 400 | 400 | 4,88 |
| 2КНО 48(60)-3.21 | 12050 | 400 | 400 | 4,88 |
| 2КНО 48(60)-3.22/24 | 12050 | 400 | 400 | 4,88 |
| 2КНО 48(60)-3.28/29 | 12050 | 400 | 400 | 4,88 |
| 2КНО 48(60)-3.30/33 | 12050 | 400 | 400 | 4,88 |
| 2КНО 48(60)-3.36/38 | 12050 | 400 | 400 | 4,88 |
| 2КНО 48(60)-3.39 | 12050 | 400 | 400 | 4,88 |
| 2КНО 48(60)-3.42/45 | 12050 | 400 | 400 | 4,88 |
| 2КНО 48(60)-3.55/59 | 12050 | 400 | 400 | 4,88 |
| 2КН 48(60)-21 | 12050 | 400 | 400 | 4,83 |
| 2КН 48(60)-22/24 | 12050 | 400 | 400 | 4,83 |
| 2КН 48(60)-28/29 | 12050 | 400 | 400 | 4,83 |
| 2КН 48(60)-30/33 | 12050 | 400 | 400 | 4,83 |
| 2КН 48(60)-39 | 12050 | 400 | 400 | 4,83 |
| 2КН 48(60)-42/45 | 12050 | 400 | 400 | 4,83 |
| 2КНД 48-2.22 | 10850 | 400 | 400 | 4,45 |
| 2КНД 48-2.22/26 | 10850 | 400 | 400 | 4,45 |
| 2КНД 48-2.28/31 | 10850 | 400 | 400 | 4,45 |
| 2КНД 48-2.36/42 | 10850 | 400 | 400 | 4,45 |
| 2КНД 48-3.22/26 | 10850 | 400 | 400 | 4,45 |
| 2КНД 48-3.28/31 | 10850 | 400 | 400 | 4,45 |
| 2КНД 48-3.30/35 | 10850 | 400 | 400 | 4,45 |
| 2КНД 48-3.36/52 | 10850 | 400 | 400 | 4,45 |
| 2КНД 48-3.39/51 | 10850 | 400 | 400 | 4,45 |
| 2КНД 48-3.46/54 | 10850 | 400 | 400 | 4,45 |
| 2КНД 48-3.52/60 | 10850 | 400 | 400 | 4,45 |
| 2КНО 48-2.22 | 10850 | 400 | 400 | 4,40 |
| 2КНО 48-2.22/26 | 10850 | 400 | 400 | 4,40 |
| 2КНО 48-2.28/31 | 10850 | 400 | 400 | 4,40 |
| 2КНО 48-2.36/42 | 10850 | 400 | 400 | 4,40 |
| 2КНО 48-3.22 | 10850 | 400 | 400 | 4,40 |
| 2КНО 48-3.22/26 | 10850 | 400 | 400 | 4,40 |
| 2КНО 48-3.28/31 | 10850 | 400 | 400 | 4,40 |
| 2КНО 48-3.36/42 | 10850 | 400 | 400 | 4,40 |
| 2КНО 48-3.42/47 | 10850 | 400 | 400 | 4,40 |
| 2КНО 48-3.52/60 | 10850 | 400 | 400 | 4,40 |
| 2КН 48-22 | 10850 | 400 | 400 | 4,35 |
| 2КН 48-22/26 | 10850 | 400 | 400 | 4,35 |
| 2КН 48-28/31 | 10850 | 400 | 400 | 4,35 |
| 2КН 48-36/42 | 10850 | 400 | 400 | 4,35 |
| 2КН 48-42/47 | 10850 | 400 | 400 | 4,35 |
| 2КСД 48-2.22 | 9600 | 400 | 400 | 3,95 |
| 2КСД 48-3.26 | 9600 | 400 | 400 | 3,95 |
| 2КСД 48-3.36 | 9600 | 400 | 400 | 3,95 |
| 2КСД 48-3.39 | 9600 | 400 | 400 | 3,95 |
| 2КСО 48-2.22 | 9600 | 400 | 400 | 3,90 |
| 2КСО 48-3.22 | 9600 | 400 | 400 | 3,90 |
| 2КСО 48-3.26 | 9600 | 400 | 400 | 3,90 |
| 2КСО 48-3.28 | 9600 | 400 | 400 | 3,90 |
| 2КСО 48-3.36 | 9600 | 400 | 400 | 3,90 |
| 2КС 48-22 | 9600 | 400 | 400 | 3,85 |
| 2КС 48-26 | 9600 | 400 | 400 | 3,85 |
| 2КС 48-28 | 9600 | 400 | 400 | 3,85 |
| 2КС 48-36 | 9600 | 400 | 400 | 3,85 |
| 3КБД 48-2.22 | 14970 | 400 | 400 | 6,15 |
| 3КБД 48-2.28/34 | 14970 | 400 | 400 | 6,15 |
| 3КБД 48-3.22 | 14970 | 400 | 400 | 6,15 |
| 3КБД 48-3.25/29 | 14970 | 400 | 400 | 6,15 |
| 3КБД 48-3.28/34 | 14970 | 400 | 400 | 6,15 |
| 3КБО 48-2.22 | 14970 | 400 | 400 | 6,08 |
| 3КБО 48-2.28/34 | 14970 | 400 | 400 | 6,08 |
| 3КБО 48-3.22 | 14970 | 400 | 400 | 6,08 |
| 3КБО 48-3.26 | 14970 | 400 | 400 | 6,08 |
| 3КБО 48-3.28/34 | 14970 | 400 | 400 | 6,08 |
| 3КБ 48-22 | 14970 | 400 | 400 | 6,00 |
| 3КБ 48-26 | 14970 | 400 | 400 | 6,00 |
| 3КВД 48-2.22 | 13720 | 400 | 400 | 5,65 |
| 3КВД 48-3.22 | 13720 | 400 | 400 | 5,65 |
| 3КВД 48-3.28 | 13720 | 400 | 400 | 5,65 |
| 3КВО 48-2.22 | 13720 | 400 | 400 | 5,58 |
| 3КВО 48-3.22 | 13720 | 400 | 400 | 5,58 |
| 3КВО 48-3.26 | 13720 | 400 | 400 | 5,58 |
| 3КВО 48-3.28 | 13720 | 400 | 400 | 5,58 |
| 3КВ 48-22 | 13720 | 400 | 400 | 5,50 |
| 3КВ 48-26 | 13720 | 400 | 400 | 5,50 |
| 3КВ 48-28 | 13720 | 400 | 400 | 5,50 |
Выпуск 2-9. Колонны для зданий с высотами этажей 6.0. 5.4. 6.0 (7.2) м. Серия 1.020-1/87
| Номенклатура | Габариты (l,b,h), мм | Масса, т | ||
| 1КВД 54-2.22 | 4720 | 400 | 400 | 1,95 |
| 1КВО 54-2.22 | 4720 | 400 | 400 | 1,93 |
| 1КВД 60-2.21 | 5320 | 400 | 400 | 2,20 |
| 1КВО 60-2.21 | 5320 | 400 | 400 | 2,15 |
| 1КСД 54-2.22 | 5400 | 400 | 400 | 2,23 |
| 1КСД 54-2.25 | 5400 | 400 | 400 | 2,23 |
| 1КСД 54-2.29 | 5400 | 400 | 400 | 2,23 |
| 1КСД 54-2.38 | 5400 | 400 | 400 | 2,23 |
| 1КСД 54-3.22 | 5400 | 400 | 400 | 2,23 |
| 1КСД 54-3.25 | 5400 | 400 | 400 | 2,23 |
| 1КСД 54-3.29 | 5400 | 400 | 400 | 2,23 |
| 1КСД 54-3.38 | 5400 | 400 | 400 | 2,23 |
| 1КСО 54-2.22 | 5400 | 400 | 400 | 2,20 |
| 1КСО 54-2.25 | 5400 | 400 | 400 | 2,20 |
| 1КСО 54-2.28 | 5400 | 400 | 400 | 2,20 |
| 1КСО 54-3.22 | 5400 | 400 | 400 | 2,20 |
| 1КСО 54-3.25 | 5400 | 400 | 400 | 2,20 |
| 1КСО 54-3.28 | 5400 | 400 | 400 | 2,20 |
| 1КСД 60-2.21 | 6000 | 400 | 400 | 2,45 |
| 1КСД 60-2.24 | 6000 | 400 | 400 | 2,45 |
| 1КСД 60-2.28 | 6000 | 400 | 400 | 2,45 |
| 1КСД 60-2.37 | 6000 | 400 | 400 | 2,45 |
| 1КСД 60-3.21 | 6000 | 400 | 400 | 2,45 |
| 1КСД 60-3.24 | 6000 | 400 | 400 | 2,45 |
| 1КСД 60-3.28 | 6000 | 400 | 400 | 2,45 |
| 1КСД 60-3.37 | 6000 | 400 | 400 | 2,45 |
| 1КСО 60-2.21 | 6000 | 400 | 400 | 2,43 |
| 1КСО 60-2.26 | 6000 | 400 | 400 | 2,43 |
| 1КСО 60-2.31 | 6000 | 400 | 400 | 2,43 |
| 1КСО 60-3.21 | 6000 | 400 | 400 | 2,43 |
| 1КСО 60-3.26 | 6000 | 400 | 400 | 2,43 |
| 1КСО 60-3.31 | 6000 | 400 | 400 | 2,43 |
| 2КБД 60-2.21 | 12570 | 400 | 400 | 5,15 |
| 2КБД 60-3.21 | 12570 | 400 | 400 | 5,15 |
| 2КБД 60-3.22 | 12570 | 400 | 400 | 5,15 |
| 2КБО 60-2.21 | 12570 | 400 | 400 | 5,10 |
| 2КБО 60-2.25 | 12570 | 400 | 400 | 5,10 |
| 2КБО 60-3.21 | 12570 | 400 | 400 | 5,10 |
| 2КБО 60-3.25 | 12570 | 400 | 400 | 5,10 |
| 2КБО 60-3.26 | 12570 | 400 | 400 | 5,10 |
| 2КВД 60-2.21 | 11320 | 400 | 400 | 4,63 |
| 2КВД 60-3.21 | 11320 | 400 | 400 | 4,63 |
| 2КВО 60-2.21 | 11320 | 400 | 400 | 4,58 |
| 2КВО 60-3.21 | 11320 | 400 | 400 | 4,58 |
| 2КВО 60-3.25 | 11320 | 400 | 400 | 4,58 |
| 2КНД 60-2.21 | 13250 | 400 | 400 | 5,43 |
| 2КНД 60-2.21/24 | 13250 | 400 | 400 | 5,43 |
| 2КНД 60-2.24/27 | 13250 | 400 | 400 | 5,43 |
| 2КНД 60-2.29/36 | 13250 | 400 | 400 | 5,43 |
| 2КНД 60-3.21 | 13250 | 400 | 400 | 5,43 |
| 2КНД 60-3.21/24 | 13250 | 400 | 400 | 5,43 |
| 2КНД 60-3.24/27 | 13250 | 400 | 400 | 5,43 |
| 2КНД 60-3.29/30 | 13250 | 400 | 400 | 5,43 |
| 2КНД 60-3.29/36 | 13250 | 400 | 400 | 5,43 |
| 2КНД 60-3.34/38 | 13250 | 400 | 400 | 5,43 |
| 2КНД 60-3.35/47 | 13250 | 400 | 400 | 5,43 |
| 2КНД 60-3.43/49 | 13250 | 400 | 400 | 5,43 |
| 2КНО 60-2.21 | 13250 | 400 | 400 | 5,38 |
| 2КНО 60-2.22/26 | 13250 | 400 | 400 | 5,38 |
| 2КНО 60-2.25/28 | 13250 | 400 | 400 | 5,38 |
| 2КНО 60-2.28/33 | 13250 | 400 | 400 | 5,38 |
| 2КНО 60-3.21 | 13250 | 400 | 400 | 5,38 |
| 2КНО 60-3.22/26 | 13250 | 400 | 400 | 5,38 |
| 2КНО 60-3.25/28 | 13250 | 400 | 400 | 5,38 |
| 2КНО 60-3.28/33 | 13250 | 400 | 400 | 5,38 |
| 2КНО 60-3.37/38 | 13250 | 400 | 400 | 5,38 |
| 2КНО 60-3.40/43 | 13250 | 400 | 400 | 5,38 |
| 2КНО 60-3.47/59 | 13250 | 400 | 400 | 5,38 |
| 2КНД 60(72)-2.21/19 | 14450 | 400 | 400 | 5,90 |
| 2КНД 60(72)-2.25 | 14450 | 400 | 400 | 5,90 |
| 2КНД 60(72)-2.28 | 14450 | 400 | 400 | 5,90 |
| 2КНД 60(72)-2.37/34 | 14450 | 400 | 400 | 5,90 |
| 2КНД 60(72)-3.25 | 14450 | 400 | 400 | 5,90 |
| 2КНД 60(72)-3.28 | 14450 | 400 | 400 | 5,90 |
| 2КНД 60(72)-3.37/34 | 14450 | 400 | 400 | 5,90 |
| 2КНД 60(72)-3.47/52 | 14450 | 400 | 400 | 5,90 |
| 2КНО 60(72)-2.21/19 | 14450 | 400 | 400 | 5,85 |
| 2КНО 60(72)-2.25 | 14450 | 400 | 400 | 5,85 |
| 2КНО 60(72)-2.28 | 14450 | 400 | 400 | 5,85 |
| 2КНО 60(72)-2.37/34 | 14450 | 400 | 400 | 5,85 |
| 2КНО 60(72)-3.25 | 14450 | 400 | 400 | 5,85 |
| 2КНО 60(72)-3.28 | 14450 | 400 | 400 | 5,85 |
| 2КНО 60(72)-3.37/34 | 14450 | 400 | 400 | 5,85 |
| 2КНО 60(72)-3.40/41 | 14450 | 400 | 400 | 5,85 |
| 2КНО 60(72)-3.47/52 | 14450 | 400 | 400 | 5,85 |
| 2КСД 60-2.21 | 12000 | 400 | 400 | 4,90 |
| 2КСД 60-2.24 | 12000 | 400 | 400 | 4,90 |
| 2КСД 60-3.21 | 12000 | 400 | 400 | 4,90 |
| 2КСД 60-3.24 | 12000 | 400 | 400 | 4,90 |
| 2КСД 60-3.31 | 12000 | 400 | 400 | 4,90 |
| 2КСО 60-2.21 | 12000 | 400 | 400 | 4,85 |
| 2КСО 60-2.26 | 12000 | 400 | 400 | 4,85 |
| 2КСО 60-3.21 | 12000 | 400 | 400 | 4,85 |
| 2КСО 60-3.26 | 12000 | 400 | 400 | 4,85 |
| 2КСО 60-3.28 | 12000 | 400 | 400 | 4,85 |
Наш завод имеет большой опыт в изготовлении стандартных и не стандартных железобетонных изделий, в том числе железобетонных колонн зданий для гражданского и промышленного строительства. Помимо изготовления изделий, в наше объединение компаний входит логистическая компания, которая осуществляет перевозки по территории всей Российской Федерации на любые объекты. У нас существуют площадки по многим городам РФ, наши менеджеры проконсультируют Вас по наличию изделия на ближайшей площадке и по доставке к объекту. Цена по запросу, наличие уточняйте у менеджеров.
//

У нас можно заказать изготовление по чертежам любых ЖБИ Сэкономьте время на поиск - сразу звоните нам!
- Махачкала 8 (800) 301-17-45
- Оперативная связь через мессенджеры:
+7 921 375-40-71
Доставка по Махачкале и любым городам России.
Цена от 10000 рублей за 1 м3 ( от 5 руб за кг).
Колонны нашего производства
|
Заказать продукцию |

